Киа Пиканто: Отопление, Вентиляция, Кондиционер

Руководство по ремонту и обслуживанию Kia Picanto JA 2017-2023 гг. / Отопление, вентиляция, кондиционирование воздуха

Технические характеристики
Спецификация
Кондиционер
Элемент
Спецификация
Компрессор
Тип
5VSe09 (перекосная шайба с переменным смещением)
5VS09
Тип масла и емкость
FD46XG(ПАГ) 100±10г
Тип шкива
POLY V RIBBED BEIT 6PK
смещение
90 куб.см/об
Конденсатор
Теплоотдача
9890 -3% ккал/час
Датчик давления кондиционера
Способ измерения давления
ДУЭЛЬ Переключатель
Напряжение = 0,00878835 * Давление (psig) + 0,5
Расширительный клапан
Тип
Тип блока
Хладагент
Тип
Р-134а, Р-1234уф
Емкость [унции (г)]
370 ± 25 г

Блок воздуходувки
Элемент
Спецификация
Свежий и рециркуляционный
Метод работы
Актуатор
воздуходувка
Тип
Сирокко
Шаг скорости
1~4 скорости (ручной), Авто + 8 скоростей (FATC)
Контроль скорости
Резистор (ручной), МОП-транзистор (FATC)
Воздушный фильтр
Тип
Фильтр твердых частиц

Блок нагревателя и испарителя
Элемент
Спецификация
Обогреватель
Тип
Тип штифта и трубки
Теплопроизводительность
4400 - 5% ккал/час
Метод работы режима
Ручной (кабель), FATC (привод)
Температурный метод работы
Ручной (кабель), FATC (привод)
Испаритель
Тип контроля температуры
Датчик температуры испарителя
Кондиционер ВКЛ/ВЫКЛ [°C(°F)]
ВКЛ: 4,4 ± 0,4 (39,9 ± 32,7), ВЫКЛ: 2,9 ± 0,4 (37,2 ± 32,7)

Специальные сервисные инструменты
Специальные сервисные инструменты
Инструмент (номер и название)
Иллюстрация
Использовать
09977-29000
Съемник болтов диска и ступицы в сборе

Снятие и установка диска и ступицы в сборе

Поиск неисправностей
Поиск неисправностей
Таблица признаков проблем
До замена или ремонт компонентов кондиционера, сначала определите, неисправность связана с заправкой хладагента, потоком воздуха или компрессор.
Использовать приведенную ниже таблицу, чтобы помочь вам найти причину проблемы. Цифры указать приоритет вероятной причины проблемы. Проверьте каждый часть в порядке. При необходимости замените эти детали.
После устранения неисправности проверьте всю систему, чтобы убедиться в ее удовлетворительной работе.
Симптом
Подозрительная зона
Нет работы вентилятора
1.       Предохранитель вентилятора
2.       Двигатель вентилятора
3.       Мощный МОП-транзистор
4.       Переключатель скорости вентилятора
5.       Жгут проводов
Нет контроля температуры воздуха
1.       Объем охлаждающей жидкости двигателя
2.       Блок управления отопителем
Не работает компрессор
1.       Холодопроизводительность
2.       Предохранитель кондиционера
3.       Магнитная муфта
4.       Компрессор
5.       Датчик давления кондиционера
6.       Переключатель кондиционера
7.       Датчик температуры испарителя
8.      Жгут проводов
не круто выходит
1.       Холодопроизводительность
2.       Давление хладагента
3.       Приводной ремень.
4.       Магнитная муфта
5.       Компрессор
6.     Датчик давления кондиционера
7.       Датчик температуры испарителя
8.       Переключатель кондиционера
9.    Блок управления отопителем
10.     Жгут проводов
Недостаточное охлаждение
1.       Холодопроизводительность
2.       Приводной ремень
3.       Магнитная муфта
4.       Компрессор
5.       Конденсатор
6.       Расширительный клапан
7.       Испаритель
8.       Линии хладагента
9.    Датчик давления кондиционера
10. Блок управления отопителем
Двигатель не работает на холостом ходу при включенном кондиционере
1.       ECM двигателя
2.       Жгут проводов
Нет контроля подачи воздуха
1.       Блок управления отопителем
Нет управления режимами
1.       Блок управления отопителем
Не работает вентилятор охлаждения
1.       Предохранитель вентилятора охлаждения
2.       Двигатель вентилятора
3.       ECM двигателя
4.       Жгут проводов

Кондиционер

Общие сведения о безопасности и предостережения
инструкции
При обращении с хладагентом
1.
Р-134а жидкий хладагент очень летуч. Капля на коже твоей руки может привести к локальному обморожению. При обращении с хладагентом будьте обязательно в перчатках.
2.
Это является стандартной практикой носить защитные очки или очки для защиты глаз, и перчатки для защиты рук. Если хладагент попал в глаза, немедленно промойте их чистой водой.
3.
Контейнер R-134a находится под высоким давлением. Никогда не оставляйте его в жарком месте и убедитесь, что температура хранения ниже 52°C (126°F).
4.
Ан электронный течеискатель следует использовать для проверки системы на утечка хладагента. Имейте в виду, что R-134a при входе в контакт с пламенем, производит фосген, высокотоксичный газ.
5.
Используйте только рекомендованную смазку для систем R-134a. Если используются смазочные материалы, отличные от рекомендованных, может произойти отказ системы.
6.
Смазка PAG быстро поглощает влагу из атмосферы, поэтому необходимо соблюдать следующие меры предосторожности:
При удалении компонентов хладагента из автомобиля немедленно закройте компоненты, чтобы предотвратить попадание влаги.
При установке компонентов хладагента на транспортное средство не снимайте крышку до тех пор, пока компоненты не будут подсоединены.
Немедленно завершите подсоединение всех трубок и шлангов хладагента, чтобы предотвратить попадание влаги в систему кондиционирования.
Используйте рекомендованную смазку только из герметичной емкости.
7.
В случае случайного разряда в системе проветрите рабочую зону перед возобновлением работы.

При замене деталей системы кондиционирования
1.
Никогда не открывайте и не ослабляйте соединение до разрядки системы.
2.
Немедленно закройте открытые фитинги компонентов колпачком или заглушкой, чтобы предотвратить попадание влаги или пыли.
3.
Не снимайте уплотнительные колпачки со сменного компонента, пока он не будет готов к установке.
4.
До при подключении открытого фитинга всегда устанавливайте новое уплотнительное кольцо. Покройте фитинг и уплотните его охлаждающим маслом перед выполнением соединения.

При установке соединительных деталей
Фланец с направляющим штифтом
Проверять новое уплотнительное кольцо на наличие повреждений (используйте только указанное) и смажьте с использованием компрессорного масла. Затяните гайку до указанного крутящего момента.

T означает усилие на растяжение, которое выбито на головке болта только цифрой.
Обращение с трубами и фитингами
внутренние части холодильной системы останутся в состоянии химическая стабильность до тех пор, пока чистый хладагент без влаги и используется охлаждающее масло. Ненормальное количество грязи, влаги или воздуха может нарушить химическую стабильность и вызвать проблемы или серьезный ущерб.
Необходимо соблюдать следующие меры предосторожности
1.
Когда необходимо открыть систему охлаждения, есть все, что вам нужно будет обслуживать систему в готовом виде, чтобы система не осталась открывать дольше, чем это необходимо.
2.
Закройте или заглушите все линии и фитинги, как только они будут открыты, чтобы предотвратить попадание грязи и влаги.
3.
Все линии и компоненты на складе запасных частей должны быть закрыты или опломбированы до тех пор, пока они не будут готовы к использованию.
4.
Никогда не пытайтесь перевязать сформированные линии, чтобы они подошли. Используйте правильную строку для установки, которую вы обслуживаете.
5.
Все инструменты, включая раздаточный коллектор хладагента, манометрический коллектор и контрольные шланги, должны содержаться в чистоте и сухости.
Описание и работа
Цикл охлаждения

Процедуры ремонта
Основы обслуживания системы хладагента
Восстановление хладагента
Использовать только сервисное оборудование, внесенное в список UL и сертифицированное на соответствие требования SAE J2210 по удалению ГФУ-134а(R-134а) из воздуха система кондиционирования.
Пары хладагента кондиционера или смазки могут вызвать раздражение глаз, носа или горла.
Будьте осторожны при подключении сервисного оборудования.
Не вдыхайте хладагент или пар.
В случае случайного разряда системы проветрите рабочую зону перед возобновлением работы.
Дополнительную информацию о здоровье и безопасности можно получить у производителей хладагентов и смазочных материалов.
1.
Подключить хладагент R-134a
Восстановление/переработка/зарядка системы (A) к сервисному порту высокого давления (B) и порту низкого давления сервисный порт (C), как показано, в соответствии с указаниями производителя оборудования. инструкции.

2.
Мера количество охлаждающего масла, удаленного из системы кондиционирования после процесс восстановления завершен. Обязательно установите такое же количество новых масло хладагента обратно в систему кондиционирования перед заправкой.
Эвакуация системы
Использовать только сервисное оборудование, внесенное в список UL и сертифицированное на соответствие требования SAE J2210 по удалению ГФУ-134а(R-134а) из воздуха система кондиционирования.
Пары хладагента кондиционера или смазки могут вызвать раздражение глаз, носа или горла.
Будьте осторожны при подключении сервисного оборудования.
Не вдыхайте хладагент или пар.
В случае случайного разряда системы проветрите рабочую зону перед возобновлением работы.
Дополнительную информацию о здоровье и безопасности можно получить у производителей хладагентов и смазочных материалов.
1.
Когда система кондиционирования была открыта для атмосферы, например, во время установки или ремонта, его необходимо откачать с помощью хладагента R-134a. Система восстановления/переработки/зарядки. (Если система была открыта для несколько дней ресивер/осушитель следует заменить, а систему должны быть эвакуированы в течение нескольких часов.)
2.
Подключить хладагент R-134a
Восстановление/переработка/зарядка системы (A) к сервисному порту высокого давления (B) и порту низкого давления сервисный порт (C), как показано, в соответствии с указаниями производителя оборудования. инструкции.

3.
Если низкое давление не превышает 93,3 кПа (700 мм рт.ст., 27,6 дюймов рт.ст.) через 10 минут, вероятно, в системе имеется утечка. Частично заправьте систему и проверьте на наличие утечек (см. Проверка на утечки).
4.
Снимите клапан низкого давления с сервисного порта низкого давления.
Зарядка системы
Использовать только сервисное оборудование, внесенное в список UL и сертифицированное на соответствие требования SAE J2210 по удалению ГФУ-134а(R-134а) из воздуха система кондиционирования.
Пары хладагента кондиционера или смазки могут вызвать раздражение глаз, носа или горла.
Будьте осторожны при подключении сервисного оборудования.
Не вдыхайте хладагент или пар.
В случае случайного разряда системы проветрите рабочую зону перед возобновлением работы.
Дополнительную информацию о здоровье и безопасности можно получить у производителей хладагентов и смазочных материалов.
1.
Подключить хладагент R-134a
Восстановление/переработка/зарядка системы (A) к сервисному порту высокого давления (B), как показано, следующим образом: инструкции производителя оборудования.

2.
Добавлять то же количество нового охлаждающего масла в системе, которое было удалено во время восстановления. Используйте только указанное холодильное масло. Зарядите систему с 13,05 ± 0,88 унции. (370 ± 25 г) хладагента R-134a. Не перезарядите систему, компрессор выйдет из строя.
Тест на утечку хладагента
Всегда проводить тест на утечку с помощью электронного течеискателя всякий раз, когда происходит утечка или хладагента, а также при проведении сервисных операций, которые сопровождаются разборкой или ослаблением или соединением фитингов.
Чтобы правильно использовать течеискатель, прочтите руководство, предоставленное производителем.
Если обнаружена утечка газа, выполните следующие действия:
1.
Проверять крутящий момент на соединительных фитингах и, если они слишком ослаблены, затянуть до правильный крутящий момент. Проверьте наличие утечки газа с помощью течеискателя (А).
2.
Если утечка продолжается даже после затяжки фитинга, слив хладагент из системы, отсоедините фитинги и проверьте их посадочные поверхности на наличие повреждений. Всегда заменяйте, даже если повреждение небольшой.
3.
Проверьте масло в компрессоре и при необходимости долейте масло.
4.
Заправьте систему и повторно проверьте наличие утечек газа. Если утечек не обнаружено, откачайте и снова заправьте систему.

Компоненты и расположение компонентов
Индекс расположения компонентов
Машинное отделение

1. Компрессор
2. Датчик давления кондиционера
3. Сервисный порт (высокий)
4. Сервисный порт (низкий)
5. Расширительный клапан

Интерьер

1. Фотодатчик
2. Контроллер кондиционера и обогревателя (ручной)
3. Контроллер кондиционера и обогревателя (FATC)
4. Нагреватель и вентилятор
5. Датчик испарителя

Компрессорное масло

Процедуры ремонта
Спецификация масла
1.
Для системы HFC-134a требуется синтетическое (ПАГ) компрессорное масло, тогда как Для системы R-12 требуется минеральное компрессорное масло. Два масла никогда не должны смешанный.
2.
Компрессорное масло (PAG) зависит от модели компрессора. Обязательно используйте масло, указанное для модели компрессора.
Обращение с маслом
1.
В масле не должно быть влаги, пыли, металлического порошка и т.п.
2.
Не смешивать с другим маслом.
3.
содержание воды в масле увеличивается при контакте с воздухом. После использования, немедленно изолируйте масло от воздуха. (Компрессорное масло HFC-134a поглощает влагу очень легко.)
4.
Компрессорное масло должно храниться в стальных контейнерах, а не в пластиковых.
Проверка масла компрессора
Масло, используемое для смазки компрессора, циркулирует с хладагентом.
В любое время замена любого компонента системы или большая утечка газа случае, добавьте масло, чтобы сохранить исходное количество масла.
Общий объем масла в системе
МАСЛО ПАГ: 100 ± 10 г
Операция возврата масла
Существует тесная связь между маслом и хладагентом.
В течение нормальная работа, часть рециркуляции масла с хладагентом в система. При проверке количества масла в системе или замене любой компонент системы, компрессор должен быть запущен заранее для операция возврата масла. Процедура следующая:
1.
Откройте все двери и капот двигателя.
2.
Запустите двигатель и переключатель кондиционера воздуха в положение «ON» и установите ручку управления двигателем вентилятора в крайнее верхнее положение.
3.
Запустите компрессор более чем на 20 минут в диапазоне от 800 до 1000 об/мин, чтобы система заработала.
4.
Остановите двигатель.
Замена составных частей
При замене составных частей системы подавайте к устанавливаемым составным частям следующее количество масла.
Компоненты, которые необходимо установить
Количество масла
Испаритель
50 г (1,70 жидких унций)
Конденсатор
30 г (1,02 жидких унции)
Ресивер/осушитель
30 г (1,02 жидких унции)
Линия хладагента
(Один кусочек)
10 г (0,34 жидких унции)

Для Замена компрессора, вычесть объем слитого масла из сняли компрессор с указанного объема, и слили расчетный объем масла из нового компрессора:
Указанный объем - объем снятого компрессора = объем сливаемого из нового компрессора.
Даже если масло из снятого компрессора не слито, не сливайте из нового компрессора более 50 см³.

Линия хладагента

Компоненты и расположение компонентов
Расположение компонента

Процедуры ремонта
Замена
1.
Слейте хладагент из холодильной системы.
2.
Замените неисправную трубку или шланг.
Немедленно закройте открытые фитинги, чтобы предотвратить попадание влаги или грязи в систему.
3.
Затяните соединение болта или гайки до указанного крутящего момента.
Соединения не должны затягиваться с усилием, превышающим указанный крутящий момент.
Часть затянута
Н·м
кгс·м
фунт·фут
Конденсатор - выпускной шланг
6,8 - 10,7
0,7 - 1,1
5,6 - 7,9
Конденсатор - жидкостная трубка
Компрессор - Нагнетательный шланг
18,6 - 27,4
1,9 - 2,8
13,7 - 20,2
Компрессор - Всасывающий шланг
Расширительный клапан - Испаритель
7,8 - 11,7
0,8 - 1,2
5,7 - 8,6

4.
Удалите воздух из системы охлаждения и заправьте систему хладагентом.
Указанное количество: 370 ± 25 г (13,0 ± 0,88 унции).
5.
Проверьте на утечку хладагента.
С помощью детектора утечки газа проверьте наличие утечки хладагента.
6.
Проверьте работу кондиционера.

Компрессор

Компоненты и расположение компонентов
Компоненты [5VSe09]

1. Болт
2. Диск и ступица в сборе
3. Зазорная шайба (прокладка)
4. Стопорное кольцо
5. Шкив
6. Стопорное кольцо
7. Полевая катушка
8. Компрессор в сборе

Компоненты [5CS09]

1. Болт
2. Диск и ступица в сборе
3. Зазорная шайба (прокладка)
4. Стопорное кольцо
5. Шкив
6. Стопорное кольцо
7. Полевая катушка
8. Компрессор в сборе
9. Коллектор

Процедуры ремонта
Удаление
1.
Если компрессор работает на пределе, запустите двигатель на холостом ходу, и дайте кондиционеру поработать несколько минут, затем выключите двигатель выключен.
2.
Отсоедините отрицательный кабель от аккумулятора.
3.
Восстановите хладагент с помощью станции восстановления/зарядки.
4.
Отсоедините приводной ремень.
G 1.0 MPI-KAPPA (см. Механическая система двигателя — «Приводной ремень»)
G 1.2 MPI-GAMMA (см. Механическая система двигателя — «Приводной ремень»)
F 1.0 KAPPA FFV (см. Механическая система двигателя — «Приводной ремень»)
G 1.0 T-GDI KAPPA (см. Механическая система двигателя — «Приводной ремень»)
5.
Снимите интеркулер. [G 1.0 T-GDI КАППА]
G 1.0 T-GDI KAPPA (см. Механическая система двигателя — «Интеркулер»)
6.
Открутите болты, затем отсоедините линию нагнетания (А) и линию всасывания (В) от компрессора.

7.
Отсоедините разъем муфты компрессора (А), затем снимите крепежные болты и компрессор (В).

[5VSe09]

[5VS09]

Монтаж
1.
Убедитесь в длине крепежных болтов компрессора, а затем затяните их в порядке A→B→C→D.
Момент затяжки :
20,0–32,9 Н·м (2,04–3,36 кгс·м, 14,7–24,3 фунт-фут)
[5VSe09]

[5CS09]

2.
Установите в порядке, обратном снятию, и обратите внимание на эти элементы.
Когда установки нового компрессора, слейте все масло хладагента из снял компрессор и измерил его объем. Вычесть объем слитое масло из исходной емкости для расчета количества компрессорное масло, которое необходимо слить из нового компрессора (через всасывающий патрубок).
Заменять уплотнительные кольца новыми на каждом фитинге и нанесите тонкий слой охлаждающее масло перед их установкой. Обязательно используйте правильные уплотнительные кольца для R-134a, чтобы избежать утечки.
Во избежание загрязнения не возвращайте масло в контейнер после разлива и никогда не смешивайте его с другими маслами для хладагентов.
Сразу же после использования масла закройте емкость крышкой и закройте ее, чтобы избежать впитывания влаги.
осмотр
1.
Проверять гальванические части ограничителя и ступицы в сборе (A) по цвету изменения, шелушение или другие повреждения. При наличии повреждений замените сборка.
2.
Проверять люфт подшипника шкива (B) и сопротивление при вращении шкива рукой. Замените шкив новым, если он шумит или имеет чрезмерное играть / перетаскивать.

3.
Проверить работу магнитной муфты.
Соединять клеммы со стороны компрессора к клемме аккумулятора (+) и Заземлите (-) клемму аккумуляторной батареи на корпусе компрессора. Проверьте магнитный шум работы сцепления для определения состояния.

Разборка
1.
Снимите переднее левое колесо (А) со ступицы.

2.
Снимите крышку машинного отделения.
G 1.0 MPI-KAPPA (см. Механическая система двигателя — «Под крышкой машинного отделения»)
G 1.2 MPI-GAMMA (см. Механическая система двигателя — «Под крышкой машинного отделения»)
F 1.0 KAPPA FFV (см. Механическая система двигателя — «Под крышкой машинного отделения»)
G 1.0 T-GDI KAPPA (см. Механическая система двигателя — «Под крышкой машинного отделения»)
3.
Снимите защиту переднего колеса.
(См. Кузов — «Защита переднего колеса»)
4.
Снимите центральный болт (A), удерживая диск и ступицу в сборе с помощью SST (09977-29000).
Момент затяжки:
10–15 Н·м (1,02–1,53 кгс·м, 7,37–11 lb·ft)

5.
Снимите диск со ступицей в сборе (A) и прокладку (щелевую шайбу), стараясь не потерять прокладки (B).

6.
Ослабьте приводной ремень.
G 1.0 MPI-KAPPA (см. Механическая система двигателя — «Приводной ремень»)
G 1.2 MPI-GAMMA (см. Механическая система двигателя — «Приводной ремень»)
F 1.0 KAPPA FFV (см. Механическая система двигателя — «Приводной ремень»)
G 1.0 T-GDI KAPPA (см. Механическая система двигателя — «Приводной ремень»)
7.
Отсоедините стопорное кольцо (А) и снимите шкив (В).

Будьте осторожны, чтобы не повредить шкив (В) и компрессор во время снятия/установки.
После снятия стопорного кольца (А) замените его новым.
8.
Снимите стопорное кольцо (А), а затем снимите катушку возбуждения (В). Будьте осторожны, чтобы не повредить змеевик и компрессор.

9.
Соберите муфту компрессора в порядке, обратном разборке, и обратите внимание на следующие элементы:
Очистите поверхности скольжения шкива и компрессора ненефтяным растворителем.
Установите новые стопорные кольца и убедитесь, что они полностью вошли в канавку.
Убедитесь, что шкив вращается плавно после повторной сборки.

Конденсатор

Компоненты и расположение компонентов
Расположение компонента

1. Конденсатор


Процедуры ремонта
Удаление
1.
Восстановите хладагент с помощью станции восстановления/переработки/зарядки.
2.
Отсоедините отрицательную (-) клемму аккумуляторной батареи.
3.
Снимите передний бампер.
(См. Кузов — «Передний бампер в сборе»)
4.
Снимите воздушную заслонку (А) после ослабления крепления.

5.
Снимите линию нагнетания (A) и линию жидкости (B) с конденсатора после ослабления гаек.
Момент затяжки :
6,8–10,7 Н·м (0,7–3,36 кгс·м, 14,7–24,3 фунт-фут)

Заглушите или закройте линии сразу после их отсоединения, чтобы избежать попадания влаги и пыли.
6.
Снимите боковую воздушную защиту (А).

7.
Снимите конденсатор в сборе (А).

8.
Установите в порядке, обратном снятию.

Ресивер-осушитель

Процедуры ремонта
Замена
1.
Снимите конденсатор, а затем снимите нижнюю крышку (B) с помощью L-образного ключа (A) с конденсатора.
Момент затяжки :
9,8–14,7 Н·м (1,0–1,5 кгс·м, 7,2–10,8 фунт·фут)

2.
Удалите влагопоглотитель (А) из конденсатора с помощью длинногубцев. Проверьте наличие осушителя и забитого фильтра нижней крышки.

3.
Нанесите масло компрессора кондиционера вдоль уплотнительных колец и резьбы новой нижней крышки.
4.
Вставьте новый осушитель в осушитель ресивера. Осушитель должны быть запечатаны в вакууме, прежде чем они будут подвергнуты воздействию воздуха для использования.
5.
Установите новую нижнюю крышку на конденсатор.
Всегда заменяйте влагопоглотитель и нижнюю крышку одновременно.
Заменять уплотнительные кольца новыми на каждом фитинге и нанесите тонкий слой охлаждающее масло перед их установкой. Обязательно используйте правильные уплотнительные кольца для R-134a, чтобы избежать утечки.
Будьте осторожны, чтобы не повредить радиатор и ребра конденсатора при установке конденсатора.
Убедитесь, что нижние опорные подушки конденсатора надежно закреплены в отверстиях.
Зарядите систему и проверьте ее работоспособность.

Датчик давления кондиционера

Компоненты и расположение компонентов
Расположение компонента

1. Датчик давления кондиционера


Описание и работа
Описание
кондиционер датчик давления преобразует значение давления линии высокого давления в значение напряжения после его измерения. По преобразованному значению напряжения, двигатель ЭБУ управляет вентилятором охлаждения, переключая его на высокую или низкую скорость. Двигатель ECU останавливает работу компрессора, когда температура линия хладагента находится так высоко или так низко неравномерно, чтобы оптимизировать воздух система кондиционирования.
Процедуры ремонта
осмотр
1.
Измерьте давление в линии высокого давления путем измерения выходного напряжения между клеммами № 1 и № 2.

2.
Проверьте значение напряжения, достаточно ли оно для нормального значения или нет.
Напряжение = 0,00878835 * Давление (PSIG) + 0,5
3.
Если измеренное значение напряжения не соответствует спецификации, замените датчик давления кондиционера.
Замена
1.
Отсоедините отрицательную (-) клемму аккумуляторной батареи.
2.
Восстановите хладагент с помощью станции восстановления/зарядки.
3.
Отсоедините разъем датчика давления кондиционера (А).
4.
Снимите датчик давления кондиционера (В).

Следите за тем, чтобы трубка для жидкости и всасывающая трубка не были согнуты.
5.
Установите в порядке, обратном снятию.

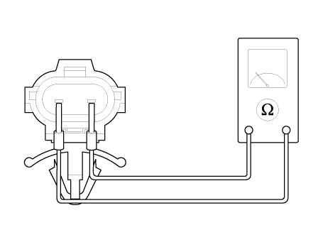
Датчик температуры испарителя

Описание и работа
Описание
датчик температуры испарителя обнаружит сердцевину испарителя температуры и отключите питание реле компрессора, чтобы предотвратить замерзание испарителя из-за чрезмерного охлаждения
Процедуры ремонта
осмотр
1.
Зажигание "ВЫКЛ".
2.
Отсоедините датчик температуры испарителя.
3.
С помощью мультитестера измерьте сопротивление между выводами "1" и "2" датчика температуры испарителя.

Спецификация
Сердцевина испарителя
температура [°C(°F)]
Сопротивление [кОм]
-20
70.04
-10
43,35
0
27,62
10
18.07
20
12.11
30
8.30
40
5,81
50
4.15

Замена
1.
Отсоедините отрицательную (-) клемму аккумуляторной батареи.
2.
Снимите датчик температуры испарителя (В), потянув его после поворота на 90° против часовой стрелки.

3.
Установите в порядке, обратном снятию.

Фотодатчик

Описание и работа
Описание
1.
Фотодатчик расположен в центре сопла оттайки.
фотодатчик содержит фотогальванический (чувствительный к солнечному свету) диод. солнечное излучение, полученное его светоприемной частью, генерирует электродвижущая сила пропорциональна количеству полученного излучения который передается в модуль автоматического контроля температуры, чтобы будет выполнена компенсация солнечного излучения.
Процедуры ремонта
осмотр
1.
Зажигание "ВКЛ"
2.
С помощью сканера.
3.
Направьте интенсивный свет на фотодатчик с помощью лампы и проверьте изменение выходного напряжения.
4.
Напряжение будет повышаться при более интенсивном освещении и уменьшаться при более низком интенсивном освещении.

1. Сигнал датчика автоматического освещения
2. Масса датчика автоматического освещения
3. Фотодатчик пассажира
4. Светодиодная батарея (+)
5. Светодиодный сигнал
6. Фотодатчик водителя (-)
7. Фотодатчик (+5В)
8. Датчик автоосвещения (+5В)

Замена
1.
Отсоедините отрицательную (-) клемму аккумуляторной батареи.
2.
С помощью отвертки (-) снимите фотодатчик (А) с центра сопла оттайки.

3.
Установите в порядке, обратном снятию.

Датчик окружающей среды

Описание и работа
Описание
1.
Датчик температуры окружающей среды расположен перед конденсатором и определяет температуру окружающего воздуха. Это термистор отрицательного типа. сопротивление будет увеличиваться при более низкой температуре и уменьшаться при более высокие температуры.
2.
выход датчика будет использоваться для контроля температуры нагнетания, управление дверью с регулировкой температуры, управление уровнем двигателя вентилятора, смешивание управление режимами и контроль влажности в салоне.
Если температура окружающей среды ниже 0°C (32,0°F), компрессор кондиционера будет остановлен.
Компрессор будет работать в ручном режиме.
Процедуры ремонта
осмотр
1.
Зажигание "ВЫКЛ"
2.
Отсоедините датчик температуры окружающей среды.
3.
Проверять сопротивление датчика температуры окружающей среды между выводами 1 и 2 меняется ли она при изменении температуры окружающей среды.

Спецификация
Температура окружающей среды
[°С(°Ф)]
Сопротивление между клеммами 1 и 2 (кОм)
-30(-22)
507
-20(-4)
284,5
-10(14)
164,2
0 (32)
97,5
10 (50)
59,6
20 (68)
37,46
30(86)
24.18
40(104)
16
50(122)
18,83

Замена
1.
Отсоедините отрицательную (-) клемму аккумуляторной батареи.
2.
Снимите крышку машинного отделения.
G 1.0 MPI-KAPPA (см. Механическая система двигателя — «Под крышкой машинного отделения»)
G 1.2 MPI-GAMMA (см. Механическая система двигателя — «Под крышкой машинного отделения»)
F 1.0 KAPPA FFV (см. Механическая система двигателя — «Под крышкой машинного отделения»)
G 1.0 T-GDI KAPPA (см. Механическая система двигателя — «Под крышкой машинного отделения»)
3.
Отсоедините разъем (А) и снимите датчик температуры окружающего воздуха (В).

4.
Установите в порядке, обратном снятию.
Мотор переднего омывателя
Процедуры ремонта осмотр Мотор переднего омывателя 1. Подключив двигатель омывателя к бачку, наполните бачок водой. • ...
Обогреватель
...
Дополнительная информация:

Руководство по эксплуатации Kia Picanto JA 2017-2023: Обслуживание владельцем


Следующие списки являются проверками транспортных средств и проверки, которые должны быть выполнены на частотах, указанных для помогают обеспечить безопасную и надежную работу вашего автомобиля. Любые неблагоприятные условия должны быть доведены до сведения вашего дилера как можно скорее. Эти обслуживания владельца ...

Руководство по ремонту и обслуживанию Kia Picanto JA 2017-2023: Выключатель дверного замка с электроприводом


Процедуры ремонта осмотр 1.Проверьте целостность цепи между клеммами. Если есть отклонения, замените переключатель. Удаление • При извлечении с помощью плоской отвертки или съемника оберните инструменты защитной лентой, чтобы предотвратить ...