Kia Forte: Головка блока цилиндров в сборе / CVVT и распределительный вал

Киа Kia Forte 2019-2023 (БД) Руководство по ремонту / Механическая система двигателя / Головка цилиндра в сборе / CVVT и распределительный вал

Компоненты и расположение компонентов
Компоненты

1. Распредвал выпускных клапанов
2. Впускной распредвал
3. Выпускной вариатор
4. Впускной вариатор
5. Крышка подшипника распредвала
6. Крышка переднего подшипника распределительного вала.
7. Уплотнительное кольцо
8. Переходник масляного клапана (OCV)

Описание и работа
Описание

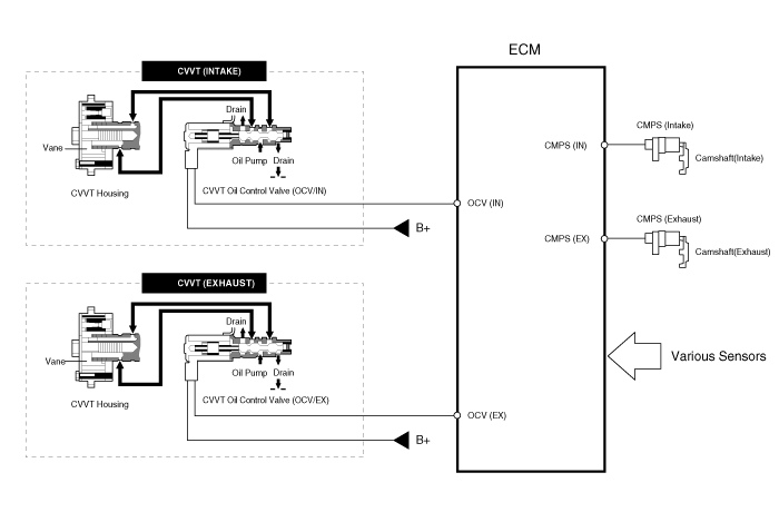
Система непрерывного изменения фаз газораспределения (CVVT) опережает или задерживает клапан. синхронизация впускного и выпускного клапана в соответствии с управляющим сигналом ECM который рассчитывается по частоте вращения двигателя и нагрузке.

При управлении CVVT происходит перекрытие или недопуск клапана, что улучшает экономия топлива и снижение выхлопных газов (NOx, HC) и улучшение характеристик двигателя за счет снижения насосных потерь, внутреннего эффекта рециркуляции отработавших газов, улучшения сгорания стабильность, улучшение объемного КПД и увеличение работы расширения.

Эта система состоит из

Клапан управления маслом CVVT (OCV), который подает моторное масло в кулачковый фазовращатель или вытекает моторное масло из кулачкового фазовращателя в соответствии с управляющим сигналом ECM PWM (Pulse With Modulation),

датчик температуры масла CVVT (OTS), который измеряет температуру моторного масла,

и Cam Phaser, который изменяет фазу кулачка с помощью гидравлического сила моторного масла.

Моторное масло, вытекающее из клапана управления маслом CVVT, изменяет фазу кулачка. в направлении (опережение впуска/замедление выпуска) или в противоположном направлении (замедление впуска/замедление выпуска). Опережение) вращения двигателя за счет вращения ротора, соединенного с распределительным валом внутри кулачкового фазовращателя.

Принцип работы

CVVT имеет механизм, вращающий лопасть ротора с создаваемой гидравлической силой. моторным маслом, подаваемым в камеру опережения или замедления в соответствии с Управление масляным клапаном CVVT.

[Системный режим CVVT]

(1) Низкая скорость/низкая нагрузка
(2) Частичная нагрузка


(3) Низкая скорость/высокая нагрузка
(4) Высокая скорость/высокая нагрузка



Вождение
Состояние
Выхлопной клапан
Впускной клапан
Клапан
Сроки
Эффект
Клапан
Сроки
Эффект
(1) Низкая скорость
/Низкая нагрузка
Полностью
Продвигать
* Нижний клапан клапана
* Улучшение стабильности горения
Полностью
Замедлить
* Нижний клапан клапана
* Улучшение стабильности горения
(2) Частичная нагрузка
Замедлить
* Увеличение работы расширения
* Снижение насосных потерь
* Снижение НС
Замедлить
* Снижение насосных потерь
(3) Низкая скорость
/Высокая нагрузка
Замедлить
* Увеличение работы расширения
Продвигать
* Предотвращение обратного потока на впуске (улучшение объемной эффективности)
(4) Высокая скорость
/Высокая нагрузка
Продвигать
* Снижение насосных потерь
Замедлить
* Улучшение объемной эффективности

Процедуры ремонта
Удаление
1.

Снимите крышку головки блока цилиндров.

(См. раздел Головка цилиндра в сборе — «Крышка головки цилиндра»)

2.

Поверните демпферный шкив коленчатого вала так, чтобы поршень № 1 находился в верхней мертвой точке. центр.

(1)

Поверните шкив демпфера коленчатого вала и совместите его канавку с метка на крышке цепи привода ГРМ (метка 0° на шкале ГРМ).

(2)

Убедитесь, что установочные метки ВМТ на впускном и выпускном CVVT звездочки находятся на прямой линии на поверхности головки блока цилиндров, как показано на картинке. Если нет, поверните демпферный шкив коленчатого вала. на один оборот (360°).

Не поворачивайте демпферный шкив коленчатого вала против часовой стрелки.

(3)

Пометьте звенья цепи ГРМ в соответствии с метками ГРМ. на звездочках CVVT белым маркером.

3.

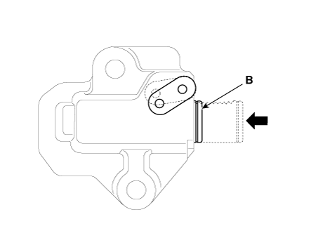
Снимите переходник (А) клапана управления выпускным маслом (OCV).

4.

Снимите крышки подшипников распределительных валов (А) в порядке, показанном на рисунке ниже.

5.

Снимите опорный кронштейн крепления двигателя.

(1)

Ставим домкрат под масляный поддон.

Поместите деревянный брусок между домкратом и масляным поддоном. во избежание повреждения масляного поддона.

(2)

Отсоедините кабель заземления двигателя (А).

(3)

Снимите опорный кронштейн крепления двигателя (А).

(4)

Слегка приподнимите двигатель с помощью домкрата, чтобы освободить место для высвобождения. натяжитель цепи ГРМ.

6.

Выверните болт (А) из сервисного отверстия в крышке цепи привода ГРМ.

7.

Заблокируйте натяжитель цепи ГРМ в полностью втянутом положении.

(1)

Вставьте отмычку в сервисное отверстие в крышке цепи привода ГРМ. и опустите отверстие в левой части храповой пластины (A) на натяжитель, чтобы собачка (B: расположена внутри натяжителя за храповой пластиной) для подъема.

(2)

Когда собачка поднята, попросите помощника поднять выпускной CVVT. и распределительный вал (A), чтобы позволить плунжеру натяжителя (B) втянуться.

(3)

Когда поршень натяжителя находится в полностью втянутом положении, поднимите отверстие в левой части храповой пластины (A) снова через сервисное отверстие в крышке цепи для совмещения отверстия пластины с храповым механизмом с отверстием в корпусе натяжителя за храповой пластиной, затем заблокируйте натяжитель, вставив отмычку через храповую пластину и отверстия корпуса натяжителя.

8.

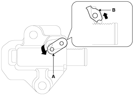
Отделите распределительный вал выпускных клапанов (А) от выпускного CVVT, сняв болт.

9.

Снимите выпускной CVVT (A) с цепи привода ГРМ.

10.

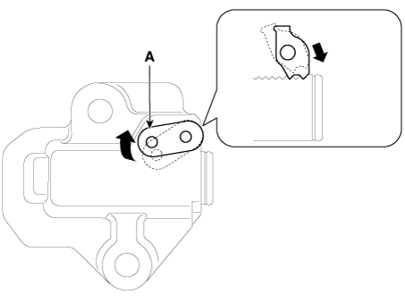
Снимите впускной CVVT и распределительный вал (A).

Закрепите цепь ГРМ на подвеске двигателя с помощью кабельной стяжки. или ремешок, чтобы цепь ГРМ не спадала при снятии впускной CVVT и распределительный вал.

11.

Снимите впускной CVVT (A) с впускного распределительного вала (B).

При снятии болта CVVT удерживайте шестигранную часть (B) на распределительный вал с помощью ключа, чтобы предотвратить вращение распределительного вала.

осмотр

распределительный вал

1.

Измерьте высоту выступа кулачка с помощью микрометра и проверьте поверхность. кулачка на предмет износа. При необходимости замените распределительный вал.

Высота кулачка

Впуск: 44,15 мм (1,738 дюйма)

Выхлоп: 43,55 мм (1,715 дюйма)

2.

Проверьте поверхность шейки распределительного вала на предмет износа. Если распределительный вал шейка чрезмерно повреждена, замените распределительный вал.

3.

Проверьте зазор шейки распределительного вала.

(1)

Очистите шейки распределительных валов и крышки подшипников.

(2)

Поместите распределительные валы в головку блока цилиндров.

(3)

Наложите полоску пластигажа на каждую шейку распределительного вала.

(4)

Установите крышки подшипников и затяните болты до указанного крутящий момент.

Момент затяжки

Болты М6:

11,8–13,7 Н·м (1,2–1,4 кгс·м, 8,7–10,1 фунт·фут)

Болты М8:

18,6–22,6 Н·м (1,9–2,3 кгс·м, 13,7–16,6 фунт·фут)

Не поворачивайте распределительный вал.

(5)

Снимите крышки подшипников.

(6)

Измерьте пластигаж в самом широком месте. Если зазор больше, чем указано в спецификации, замените распределительный вал. Если необходимо, замените крышки подшипников и головку блока цилиндров в комплекте.

Масляный зазор крышки подшипника распределительного вала

Стандарт:

0,027–0,058 мм (0,0011–0,0023 дюйма)

Предел: 0,1 мм (0,0039 дюйма)

4.

Осмотрите осевой люфт распределительного вала.

(1)

Осмотрите осевой люфт распределительного вала.

(2)

Измерьте осевой люфт при перемещении распределительного вала вперед и назад. с помощью стрелочного индикатора. Если осевой люфт больше указанного в спецификации, замените распределительный вал. При необходимости замените крышки подшипников и головка блока цилиндров в комплекте.

Осевой люфт распределительного вала

Стандарт: 0,1–0,2 мм (0,0039–0,0079 дюйма)

(3)

Снимите распределительные валы.

CVVT (с бесступенчатой ​​регулировкой фаз газораспределения) в сборе

1.

Осмотрите CVVT на плавность вращения.

(1)

Зажмите распределительный вал с помощью тисков. Будьте осторожны, чтобы не повредить кулачки и шейки в тисках.

(2)

Убедитесь, что CVVT заблокирован, повернув его по часовой стрелке или против часовой стрелки. Он не должен вращаться.

(3)

Впускной CVVT: Закройте одно из двух отверстий опережения в распределительном валу. журнал с лентой.

CVVT выпускных клапанов: Закройте одно из двух отверстий в распределительном валу. журнал с лентой.

(4)

Впуск CVVT : Нанести прибл. 150 кПа (1,5 кгс/см², 21 фунт/кв. дюйм) сжатый воздух в незапечатанное предварительное отверстие, чтобы разблокировать замок.

Выхлоп CVVT : Приблиз. 150 кПа (1,5 кгс/см², 21 фунт/кв. дюйм) сжатого воздуха в незагерметизированное отверстие замедлителя, чтобы разблокировать замок.

При нанесении накройте масляные каналы тканью. сжатым воздухом для предотвращения разбрызгивания масла.

(5)

Впускной CVVT: При подаче сжатого воздуха поверните CVVT в направление продвижения (против часовой стрелки) в пределах его фазового диапазона и убедитесь, что CVVT вращается плавно.

Выпускной CVVT: При подаче сжатого воздуха поверните CVVT в в направлении замедления (по часовой стрелке) и убедитесь, что CVVT вращается плавно.

Диапазон фаз CVVT

Впуск: 25° ± 1° (от крайнего замедленного положения до самая передовая позиция)

Выхлоп: 20° ± 1° (от крайнего положения до самая отсталая позиция)

(6)

Впускной CVVT: поверните CVVT в крайнее замедленное положение. (по часовой стрелке), а затем убедитесь, что CVVT заблокирован.

CVVT выхлопа: поверните CVVT в крайнее переднее положение. (против часовой стрелки), а затем убедитесь, что CVVT заблокирован.

Монтаж
1.

Установите впускной CVVT (A) на впускной распределительный вал.

Момент затяжки :

63,7–73,5 Н·м (6,5–7,5 кгс·м, 47,0–54,2 фунт-фут)

При установке болта CVVT удерживайте шестигранную часть (B) на распределительный вал с помощью ключа, чтобы предотвратить вращение распределительного вала.

2.

Установите впускной CVVT и распределительный вал (A), с установочной меткой на впускном отверстии. Звездочка CVVT совмещена с меткой (окрашенное звено) на цепи привода ГРМ.

3.

Установите выпускной CVVT (A), с установочной меткой на выпускном CVVT. звездочка совмещена с меткой (окрашенным звеном) на цепи привода ГРМ.

4.

Установите распределительный вал выпускных клапанов (А) на выпускной CVVT.

Момент затяжки :

63,7–73,5 Н·м (6,5–7,5 кгс·м, 47,0–54,2 фунт-фут)

5.

Выньте отмычку из сервисного отверстия в крышке цепи привода ГРМ.

6.

Убедитесь, что каждая установочная метка на впускной и выпускной звездочках CVVT выравнивается, как показано на картинке.

7.

Затяните болт (А) сервисного отверстия в крышке цепи привода ГРМ.

Момент затяжки :

27,5–30,4 Н·м (2,8–3,1 кгс·м, 20,3–22,4 фунт-фут)

8.

Установите опорный кронштейн крепления двигателя.

(1)

Установите опорный кронштейн крепления двигателя (А).

Момент затяжки

Гайка (В):

88,3–107,8 Н·м (9,0–11,0 кгс·м, 65,1–79,5 фунт·фут)

Болт и гайки (С):

58,8–73,5 Н·м (6,0–7,5 кгс·м, 43,4–54,2 фунт-фут)

(2)

Установите кабель заземления двигателя (А).

Момент затяжки :

63,7–73,5 Н·м (6,5–7,5 кгс·м, 47,0–54,3 фунт-фут)

(3)

Снимите домкрат с масляного поддона.

9.

Установите крышки подшипников распределительных валов (А) в порядке, показанном на рисунке. и затяните болты с указанным моментом.

Момент затяжки

Болты М6:

11,8–13,7 Н·м (1,2–1,4 кгс·м, 8,7–10,1 фунт·фут)

Болты М8:

18,6–22,6 Н·м (1,9–2,3 кгс·м, 13,7–16,6 фунт-фут)

10.

Установите переходник (A) клапана управления выпускным маслом (OCV).

Момент затяжки :

9,8–11,8 Н·м (1,0–1,2 кгс·м, 7,2–8,7 фунт-фут)

Убедитесь, что уплотнительное кольцо крышки переднего подшипника распределительного вала установлено правильно. установлен на место при установке адаптера OCV.

11.

Установите крышку головки блока цилиндров.

(См. раздел Головка цилиндра в сборе — «Крышка головки цилиндра»)

Крышку головки блока цилиндров
Компоненты и расположение компонентов Компоненты 1. Крышка головки блока цилиндров 2. Прокладка крышки головки блока цилиндров 3. Масляная крышка 4. Упаковка чашки Процедуры ремонта ...
Крышка цилиндра
Компоненты и расположение компонентов Компоненты 1. Головка блока цилиндров в сборе 2. Механический регулятор зазора (MLA) 3. Замок фиксатора 4. Фиксатор 5. Уплотнение штока клапана ...
Дополнительная информация:

Kia Forte 2019-2023 (BD) Руководство по обслуживанию: Багажник BJ


Компоненты и расположение компонентов Компоненты [Правый] 1. Сборка БЖ 2. Клип 3. Ремешок для обуви BJ 4. Сапоги для минета 5. Лента динамического демпфера 6. Динамический демпфер 7. Вал 8. Ремешок для ботинок TJ 9. Ботинок TJ 10. Паук в сборе 11. Круг...

Kia Forte 2019-2023 (BD) Руководство по ремонту: Приводной ремень


Процедуры ремонта осмотр 1. Проверьте ремень на техническое обслуживание и ненормальный износ клиновидной части. Заменять если необходимо. • Не сгибайте ...