Kia Forte: силовая передача / приводной ремень

Киа Kia Forte 2019-2023 (БД) Руководство по ремонту / Обслуживание / Силовая передача / Приводной ремень

Процедуры ремонта
осмотр
1.

Проверьте ремень на техническое обслуживание и ненормальный износ клиновидной части. Заменять если необходимо.

Не сгибайте, не скручивайте и не выворачивайте приводной ремень наизнанку.

Не допускайте соприкосновения приводного ремня с масло, вода и пар.

2.

Визуально проверьте ремень на наличие чрезмерного износа, потертых шнуров и т. д.

При обнаружении дефекта замените приводной ремень.

Трещины на ребре ремня считаются допустимыми. Если на ремне отсутствуют куски ребер, его следует заменить.

Снятие и установка

[Гамма 1,6 млн дюймов на дюйм]

1.

Отсоедините отрицательную клемму аккумуляторной батареи.

2.

Ослабьте болты крепления генератора (А) и поверните регулировочный болт (B) против часовой стрелки, чтобы ослабить натяжение приводного ремня.

Момент затяжки

Болт М8:

19,6–26,5 Н·м (2,0–2,7 кгс·м, 14,5–19,5 фунт·фут)

Болт М10:

29,4–41,2 Н·м (3,0–4,2 кгс·м, 21,7–30,4 фунт·фут)

3.

Снимите приводной ремень (А).

4.

Установите в порядке, обратном снятию.

[NU 2.0 MPI]

1.

Снимите крышку машинного отделения.

(См. Двигатель и трансмиссия в сборе — «Под крышкой моторного отсека»)

2.

С помощью гаечного ключа поверните шкив автоматического натяжителя (А) против часовой стрелки. затем снимите приводной ремень (В).

3.

Установите в порядке, обратном снятию.

[Гамма 1,6 Т-ГДИ]

1.

Ослабьте болты крепления генератора (А).

2.

Ослабьте натяжение приводного ремня, ослабив регулировочный болт (В).

Момент затяжки :

Болт 12 мм (0,47 дюйма):

26,5–37,3 Н·м (2,7–3,8 кгс·м, 19,5–27,5 фунт·фут) [тип 10T]

24,3–26,9 Н·м (2,48–2,74 кгс·м, 17,9–19,8 фунт·фут) [Тип 8T]

Болт 14 мм (0,55 дюйма):

29,4–41,2 Н·м (3,0–4,2 кгс·м, 21,7–30,4 фунт·фут)

3.

Установите в порядке, обратном снятию.

[Новый U 1.6 ТКИ]

1.

Снимите крышку машинного отделения.

(См. Двигатель и трансмиссия в сборе — «Моторное отделение под крышкой»)

2.

Чтобы освободить натяжитель, поверните рычаг натяжителя, повернув натяжитель бобышку рычага (A) по часовой стрелке с помощью гаечного ключа.

3.

Снимите приводной ремень (А).

4.

Устанавливайте в порядке, обратном снятию

Установите приводной ремень в следующем порядке: Приводной ремень авто ролик натяжителя → шкив генератора → демпферный шкив коленвала → натяжной ролик → шкив компрессора кондиционера. Поверните рычаг автоматического натяжителя на повернув бобышку рычага автоматического натяжителя (A) против часовой стрелки с помощью гаечный ключ. После установки приводного ремня на шкив автоматического натяжителя, медленно отпустите рычаг автоматического натяжителя.

Корректирование
[Гамма 1,6 MPI/T-GDI]

Измерение и регулировка натяжения приводного ремня

Измерение натяжения ремня

Измерьте натяжение ремня с помощью механического датчика натяжения или звукового натяжителя. метр.

Напряжение

Новый ремень:

980,7–1078,7 Н (100,0–110,0 кгс, 220,5–242,5 фунт-сила)

Используемый ремень:

706,1–804,1 Н (72,0–82,0 кгс, 158,7–180,8 фунт-сила)

Если двигатель проработал 5 минут и более, натяжение ремня необходимо отрегулировать как бывший в употреблении ремень.

При установке поликлинового ремня все канавки на шкиве должны быть закрыты ребрами ремня.

Ослабленный ремень вызывает шум проскальзывания.

Слишком натянутый ремень приводит к износу подшипников генератора и водяного насоса. повреждать.

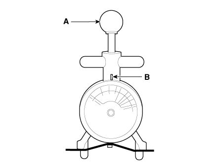
С помощью механического тензометра (БТ-33-73Ф, тип БТГ-2)
1.

Нажимая на ручку (А) манометра, вставьте ремень (В) между шкив и шкив (или натяжной ролик) в зазор между шпинделем (C) и крюком (D).

2.

Отпустив ручку (А), прочтите значение на циферблате, указанном стрелкой. индикатор (В).

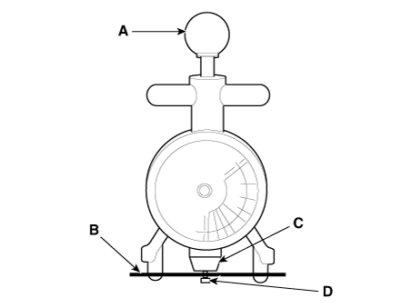
С помощью акустического тензометра (У-505/507 тип)
1.

Введите характеристики ремня в измеритель натяжения.

[Гамма 1,6 млн дюймов на дюйм]

Тип ремня
Место измерения
Входные данные
М (Масса, г/м.р.)
W (Ширина, ребро)
S (Размах, мм)
С кондиционером
Шкив коленчатого вала к шкиву компрессора кондиционера
16,0
6
178,9
Без кондиционера
Натяжитель к шкиву генератора
16,0
6
178,7

[Гамма 1,6 Т-ГДИ]

Тип ремня
Место измерения
Входные данные
М (Масса, г/м.р.)
W (Ширина, ребро)
S (Размах, мм)
С кондиционером
Шкив коленчатого вала к шкиву компрессора кондиционера
13,4
6
178,9
Без кондиционера
Натяжитель к шкиву генератора
13,4
6
Фактическое значение измерения

Измерение S (Span): расчет среднего значения после измерения расстояние в 3-4 раза.

Д : Бездельник

г : шкив генератора

2.

Найдите микрофон (B) близко к центру пролета ремня (A) и подпрыгните. ремень пальцем 2-3 раза. Прочитайте значение на дисплее.

[С кондиционером]

[Без кондиционера]

Если необходима регулировка:

[Гамма 1,6 млн дюймов на дюйм]

1.

Ослабьте крепежные болты (А).

2.

Слегка затяните регулировочный болт (В) против часовой стрелки ; ослабить болт по часовой стрелке с высоким натяжением.

3.

Перепроверьте натяжение ремня.

4.

После регулировки натяжения затяните сквозные болты.

Момент затяжки

Болт 12 мм (0,47 дюйма):

19,6–26,5 Н·м (2,0–2,7 кгс·м, 14,5–19,5 фунт-фут)

Болт 14 мм (0,55 дюйма):

29,4–41,2 Н·м (3,0–4,2 кгс·м, 21,7–30,4 фунт-фут)

[Гамма 1,6 Т-ГДИ]

1.

Ослабьте крепежные болты (А).

2.

Слегка затяните регулировочный болт (В) по часовой стрелке ; ослабить болт против часовой стрелки с высоким натяжением.

3.

Перепроверьте натяжение ремня.

4.

После регулировки натяжения затяните сквозные болты.

Момент затяжки

Болт 12 мм (0,47 дюйма):

26,5–37,3 Н·м (2,7–3,8 кгс·м, 19,5–27,5 фунт·фут) [тип 10T]

24,3–26,9 Н·м (2,48–2,74 кгс·м, 17,9–19,8 фунт·фут) [Тип 8T]

Болт 14 мм (0,55 дюйма):

29,4–41,2 Н·м (3,0–4,2 кгс·м, 21,7–30,4 фунт·фут)

Система охлаждения
Процедуры ремонта осмотр Шланги радиатора 1. Проверьте шланги радиатора на наличие следующих (1) Неправильное крепление (2) ...
Моторное масло и фильтр
Процедуры ремонта осмотр Уровень моторного масла Убедитесь, что автомобиль стоит на ровной поверхности. 1. ...
Дополнительная информация:

Kia Forte 2019-2023 (BD) Service Manual: Верхняя крышка капота


Компоненты и расположение компонентов Расположение компонента 1. Верхняя крышка капота Процедуры ремонта Замена 1. Снимите отверстие для заглушки (А). 2. Ослабьте крепежные гайки и снимите рычаг стеклоочистителя (В). ...

Kia Forte 2019-2023 (BD) Руководство по техническому обслуживанию: Переключатель умного круиз-контроля


Компоненты и расположение компонентов Компоненты 1. Правый переключатель дистанционного управления (путевой компьютер + SCC) Принципиальные диаграммы Принципиальная электрическая схема [Поездка + SCC] Процедуры ремонта Снятие и установка 1. ...