Kia Optima: механическая система двигателя / система смазки

Руководство по ремонту и обслуживанию Kia Optima DL3 2019-2023 гг. / Механическая система двигателя / Система смазки

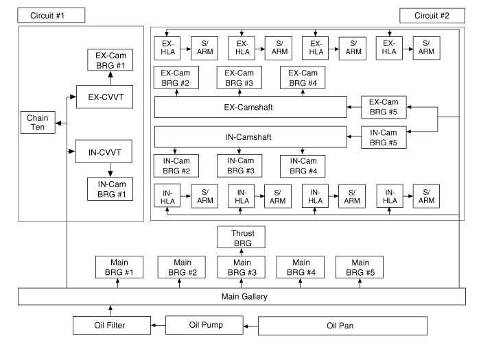
Диаграмма потока
Схема моторного масла

Глушитель
Компоненты и расположение компонентов Компоненты 1. Передний глушитель 2. Каталитический нейтрализатор и центральный глушитель в сборе. 3. Задний глушитель 4. Прокладка 5. Вешалка ...
Машинное масло
Процедуры ремонта Замена масла и фильтра • Длительный и повторяющийся контакт с минеральными...
Дополнительная информация:

Kia Optima DL3 2019-2023 Руководство по эксплуатации: Замена аккумулятора


Батарейки смарт-ключа должно хватить на несколько лет, но если смарт-ключ не работает нормально, попробуйте заменить батарею на новую. Если вы не уверены, как чтобы использовать смарт-ключ или заменить аккумулятор, обратитесь к авторизованному дилеру Kia. 1. Снимите механический ключ. 2. Подденьте заднюю...

Kia Optima DL3 2019-2023 Руководство по эксплуатации: Шторка безопасности


❈ Реальные подушки безопасности в автомобиле могут отличаться от иллюстраций. Шторки безопасности расположены по обеим сторонам рейлингов над передней частью кузова. и задние двери. Они предназначены для защиты пассажиров при определенных боковых ударах и помогают чтобы они не вылетели из машины...