Kia Optima: система контроля выбросов выхлопных газов / система CVVT (непрерывное изменение фаз газораспределения)

Руководство по ремонту и обслуживанию Kia Optima DL3 2019-2023 гг. / Система контроля выбросов / Система контроля выбросов выхлопных газов / Система CVVT (непрерывная регулировка фаз газораспределения)

Описание и работа
Описание

Система непрерывного изменения фаз газораспределения (CVVT) опережает или задерживает клапан. синхронизация впускного и выпускного клапана в соответствии с управляющим сигналом ECM который рассчитывается по частоте вращения двигателя и нагрузке.

При управлении CVVT происходит перекрытие или недопуск клапана, что улучшает экономия топлива и снижение выхлопных газов (NOx, HC). CVVT улучшает работу двигателя за счет снижения насосных потерь, внутреннего эффекта рециркуляции отработавших газов, улучшения стабильности сгорания, улучшение объемного КПД и увеличение работы расширения.

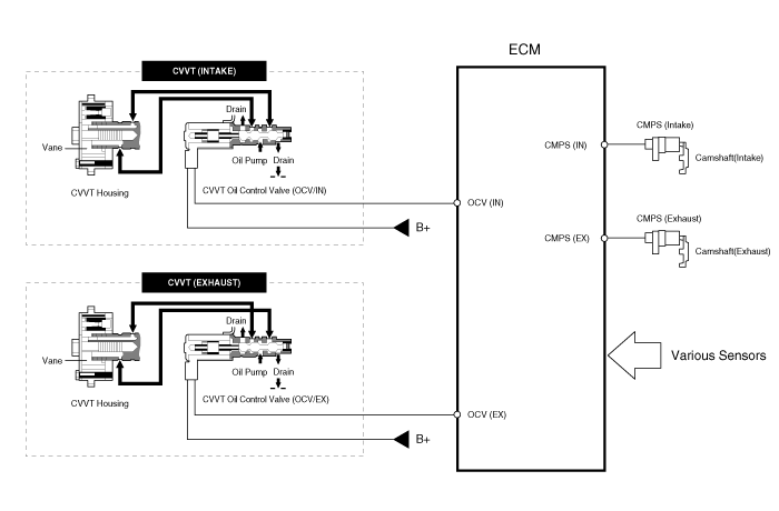
Эта система состоит из:

Клапан управления маслом CVVT (OCV), который подает моторное масло в кулачковый фазовращатель или вытекает моторное масло из кулачкового фазовращателя в соответствии с управляющим сигналом ECM PWM (Pulse With Modulation),

и Cam Phaser, который изменяет фазу кулачка с помощью гидравлического сила моторного масла.

Моторное масло, вытекающее из клапана управления маслом CVVT, изменяет фазу кулачка. в направлении (опережение впуска/замедление выпуска) или в противоположном направлении (впуск Retard/Exhaust Advance) вращения двигателя за счет вращения ротора, соединенного с распределительный вал внутри фазовращателя.

Принцип работы

CVVT имеет механизм вращения лопасти ротора с создаваемой гидравлической силой. моторным маслом, подаваемым в камеру опережения или замедления в соответствии с Управление масляным клапаном CVVT.

[Системный режим CVVT]

(1) Низкая скорость/низкая нагрузка
(2) Частичная нагрузка


(3) Низкая скорость/высокая нагрузка
(4) Высокая скорость/высокая нагрузка



Вождение
Состояние
Выхлопной клапан
Впускной клапан
Клапан
Сроки
Эффект
Клапан
Сроки
Эффект
(1) Низкая скорость
/Низкая нагрузка
Полностью
Продвигать
* Нижний клапан клапана
* Улучшение стабильности горения
Полностью
Замедлить
* Нижний клапан клапана
* Улучшение стабильности горения
(2) Частичная нагрузка
Замедлить
* Увеличение работы расширения
* Снижение насосных потерь
* Снижение НС
Замедлить
* Снижение насосных потерь
(3) Низкая скорость
/Высокая нагрузка
Замедлить
* Увеличение работы расширения
Продвигать
* Предотвращение обратного потока на впуске (улучшение объемной эффективности)
(4) Высокая скорость
/Высокая нагрузка
Продвигать
* Снижение насосных потерь
Замедлить
* Улучшение объемной эффективности

Каталитический нейтрализатор
Описание и работа Описание Каталитический нейтрализатор бензинового двигателя представляет собой трехкомпонентный катализатор. Он окисляется окись углерода и углеводороды (HC), и отделяет кислород от ...
Управление двигателем/топливная система
Сервисные данные Сервисные данные Датчик Абсолютное давление в коллекторе Сенсор (КАРТА) Давление Выходное напряжение (В) кПа кгс/см² ...
Дополнительная информация:

Руководство по ремонту и обслуживанию Kia Optima DL3 2019-2023: Задний угловой радар


Компоненты и расположение компонентов Компоненты 1. Кластер (меню настроек пользователя) 2. Задний угловой радар 3. Задний угловой радиолокационный индикатор Описание и работа Описание Системный интерфейс Системная функция • ...

Руководство по эксплуатации Kia Optima DL3 2019-2023: Крепление детского кресла с помощью системы креплений LATCH


Чтобы установить детское удерживающее устройство, совместимое с LATCH, в любой из задних боковых положения сиденья: 1. Отодвиньте пряжку ремня безопасности от нижних креплений. 2. Отодвиньте любые другие предметы от анкеров, которые могут помешать надежному соединению. между детским удерживающим устройством и нижними креплениями. 3. ...