Kia Optima: головка блока цилиндров в сборе / CVVT и распределительный вал

Руководство по ремонту и обслуживанию Kia Optima DL3 2019-2023 гг. / Механическая система двигателя / Головка цилиндра в сборе / CVVT и распределительный вал

Компоненты и расположение компонентов
Компоненты

1. Крышка подшипника распредвала
2. Крышка переднего подшипника распредвала
3. Распредвал выпускных клапанов
4. Впускной распредвал
5. Выхлоп CVVT в сборе
6. Впускной CVVT в сборе

Описание и работа
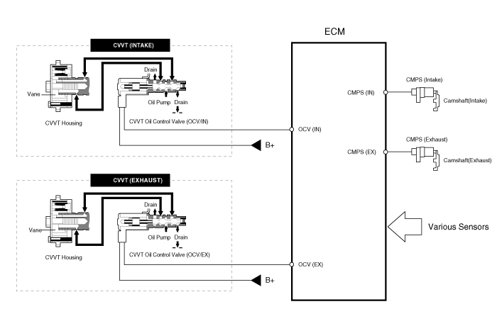
Описание

Система непрерывного изменения фаз газораспределения (CVVT) опережает или задерживает клапан. синхронизация впускного и выпускного клапана в соответствии с управляющим сигналом ECM который рассчитывается по частоте вращения двигателя и нагрузке.

При управлении CVVT происходит перекрытие или недопуск клапана, что улучшает экономия топлива и снижение выхлопных газов (NOx, HC) и улучшение характеристик двигателя за счет снижения насосных потерь, внутреннего эффекта рециркуляции отработавших газов, улучшения сгорания стабильность, улучшение объемного КПД и увеличение работы расширения.

Эта система состоит из

Клапан управления маслом CVVT (OCV), который подает моторное масло в кулачковый фазовращатель или вытекает моторное масло из кулачкового фазовращателя в соответствии с управляющим сигналом ECM PWM (Pulse With Modulation),

датчик температуры масла CVVT (OTS), который измеряет температуру моторного масла,

и Cam Phaser, который изменяет фазу кулачка с помощью гидравлического сила моторного масла.

Моторное масло, вытекающее из клапана управления маслом CVVT, изменяет фазу кулачка. в направлении (опережение впуска/замедление выпуска) или в противоположном направлении (замедление впуска/замедление выпуска). Опережение) вращения двигателя за счет вращения ротора, соединенного с распределительным валом внутри кулачкового фазовращателя.

Принцип работы

CVVT имеет механизм, вращающий лопасть ротора с создаваемой гидравлической силой. моторным маслом, подаваемым в камеру опережения или замедления в соответствии с Управление масляным клапаном CVVT.

[Системный режим CVVT]

(1) Низкая скорость/низкая нагрузка
(2) Частичная нагрузка


(3) Низкая скорость/высокая нагрузка
(4) Высокая скорость/высокая нагрузка



Вождение
Состояние
Выхлопной клапан
Впускной клапан
Клапан
Сроки
Эффект
Клапан
Сроки
Эффект
(1) Низкая скорость
/Низкая нагрузка
Полностью
Продвигать
* Нижний клапан клапана
* Улучшение стабильности горения
Полностью
Замедлить
* Нижний клапан клапана
* Улучшение стабильности горения
(2) Частичная нагрузка
Замедлить
* Увеличение работы расширения
* Снижение насосных потерь
* Снижение НС
Замедлить
* Снижение насосных потерь
(3) Низкая скорость
/Высокая нагрузка
Замедлить
* Увеличение работы расширения
Продвигать
* Предотвращение обратного потока на впуске (улучшение объемной эффективности)
(4) Высокая скорость
/Высокая нагрузка
Продвигать
* Снижение насосных потерь
Замедлить
* Улучшение объемной эффективности

Процедуры ремонта
Удаление

Используйте накладки на крылья, чтобы не повредить окрашенные поверхности.

Во избежание повреждения осторожно отсоединяйте разъемы проводки, пока удерживая соединительную часть.

Пометьте все провода и шланги, чтобы избежать неправильного соединения.

Поверните шкив коленчатого вала так, чтобы поршень №1 оказался вверху мертвая точка.

Снятие крышки цепи привода ГРМ для этой процедуры не требуется.

1.

Снимите крышку головки блока цилиндров.

(См. раздел Головка цилиндра в сборе — «Крышка головки цилиндра»)

2.

Установите цилиндр №1 в ВМТ (верхнюю мертвую точку) такта сжатия.

(1)

Поверните шкив коленчатого вала и совместите его канавку с фазой газораспределения. метка на крышке цепи ГРМ.

(2)

Убедитесь, что метки ВМТ впускной и выпускной звездочек CVVT находятся на прямой линии на поверхности головки блока цилиндров, как показано на иллюстрация. В противном случае проверните коленчатый вал на один оборот (360°). более.

(3)

Пометьте цепи привода ГРМ в соответствии с метками привода ГРМ. Звездочки CVVT.

3.

Снимите демпферный шкив коленчатого вала.

(См. Система приводного ремня — «Демпферный шкив коленчатого вала»)

4.

Снимите болт сервисной пробки (А) с прокладкой (В).

5.

Снимите болт рычага натяжителя (А).

6.

Нажмите на рычаг натяжителя (А). [Крышка синхронизации снята Только для иллюстрации]

7.

Снимите крышки подшипников распределительных валов.

8.

Сначала снимите выпускной распределительный вал (А), затем впускной распределительный вал (В).

9.

Снимите рычаг натяжителя (А).

Чтобы удерживать цепь ГРМ, обвяжите ее хомутом.

10.

Снимите блок CVVT (А) с распределительного вала.

При снятии болта крепления CVVT удерживайте распределительный вал гаечный ключ, чтобы распредвал не вращался.

осмотр

распределительный вал

1.

Осмотрите кулачки.

С помощью микрометра измерьте высоту кулачка кулачка.

Если высота кулачка меньше спецификации, замените распределительный вал.

Высота кулачка

Впуск: 39,0 мм (1,5354 дюйма)

Выхлоп: 38,66 мм (1,5220 дюйма)

2.

Проверьте поверхность шейки распределительного вала на предмет износа.

Если шейка чрезмерно изношена, замените распределительный вал.

3.

Проверьте зазор шейки распределительного вала.

(1)

Очистите крышки подшипников и шейки распределительных валов.

(2)

Установите распределительные валы на головку блока цилиндров.

(3)

Положите полоску пластиджа на каждую шейку распределительного вала.

(4)

Установите крышки подшипников и затяните болты с указанным крутящий момент.

Момент затяжки

Болты М6:

11,8–13,7 Н•м (1,2–1,4 кгс•м, 8,7–10,1 фунт·фут)

Болты М8:

18,6–22,6 Н•м (1,9–2,3 кгс·м, 13,7–16,6 фунт·фут)

Не поворачивайте распределительный вал.

(5)

Снимите крышки подшипников.

(6)

Измерьте пластидж в самом широком месте.

Если масляный зазор больше указанного в спецификации, замените распределительный вал. При необходимости заменить крышки подшипников и головку блока цилиндров. как набор.

Масляный зазор подшипника

Стандарт:

0,032–0,062 мм (0,00126–0,00244 дюйма)

4.

Осмотрите осевой люфт распределительного вала.

(1)

Установите крышки подшипников распределительных валов.

(2)

С помощью циферблатного индикатора измерьте осевой люфт, перемещая распределительный вал вперед-назад.

Если осевой люфт больше указанного в спецификации, замените распределительный вал.

При необходимости замените крышки подшипников и головку блока цилиндров. набор

Осевой люфт распределительного вала

Стандарт:

0,10–0,19 мм (0,0039–0,0075 дюйма)

(3)

Снимите распределительные валы.

Бесступенчатая регулировка фазы газораспределения (CVVT) в сборе

1.

Осмотрите CVVT на плавность вращения.

(1)

Зажмите распределительный вал с помощью тисков. Будьте осторожны, чтобы не повредить кулачки и шейки в тисках.

(2)

Убедитесь, что CVVT заблокирован, повернув его по часовой стрелке или против часовой стрелки. Он не должен вращаться.

(3)

Впускной CVVT: Закройте одно из двух отверстий опережения в распределительном валу. журнал с лентой.

CVVT выпускных клапанов: Закройте одно из двух отверстий в распределительном валу. журнал с лентой.

(4)

Впуск CVVT : Нанести прибл. 150 кПа (1,5 кгс/см², 21 фунт/кв. дюйм) сжатый воздух в незапечатанное предварительное отверстие, чтобы разблокировать замок.

Выхлоп CVVT : Приблиз. 150 кПа (1,5 кгс/см², 21 фунт/кв. дюйм) сжатого воздуха в незагерметизированное отверстие замедлителя, чтобы разблокировать замок.

При нанесении накройте масляные каналы тканью. сжатым воздухом для предотвращения разбрызгивания масла.

(5)

Впускной CVVT: При подаче сжатого воздуха поверните CVVT в направление продвижения (против часовой стрелки) в пределах его фазового диапазона и убедитесь, что CVVT вращается плавно.

Выпускной CVVT: При подаче сжатого воздуха поверните CVVT в в направлении замедления (по часовой стрелке) и убедитесь, что CVVT вращается плавно.

Диапазон фаз CVVT

Впуск: 25°±1° (от крайнего замедленного положения до крайнего самая передовая позиция)

Выхлоп: 20°±1° (от крайнего положения до самая отсталая позиция)

(6)

Впускной CVVT: поверните CVVT в крайнее замедленное положение. (по часовой стрелке), а затем убедитесь, что CVVT заблокирован.

CVVT выхлопа: поверните CVVT в крайнее переднее положение. (против часовой стрелки), а затем убедитесь, что CVVT заблокирован.

Монтаж
1.

Установите блок CVVT (A) на распределительный вал.

Момент затяжки :

64,7–76,5 Н•м (6,6–7,8 кгс•м, 47,7–56,4 фунт·фут)

При установке монтажного болта CVVT удерживайте распределительный вал гаечный ключ, чтобы распредвал не вращался.

2.

Сожмите поршень натяжителя с помощью рукоятки (А) и вставьте стопорный штифт (B) в отверстие на натяжителе для удерживания сжатого поршень.

Натяжитель следует полностью втянуть, нажав на SST. 09240 - 2Е100 глуб.

Если SST 09240 - 2E100 вставлен не полностью, как показано на рисунке ниже, это может вызвать проблемы с функцией натяжителя.

3.

Поместите впускной распределительный вал (А) и затем вставьте рычаг натяжителя (В) вдоль цепь ГРМ.

4.

Установите распределительный вал выпускных клапанов (А).

Метки времени каждой звездочки CVVT должны совпадать с установочные метки (окрашенное звено) цепи привода ГРМ при установке временная цепь.

5.

Установите крышки подшипников распределительных валов.

Затяните болты в несколько проходов в указанной последовательности.

Момент затяжки

Болты М6:

11,8–13,7 Н•м (1,2–1,4 кгс•м, 8,7–10,1 фунт·фут)

Болты М8:

18,6–22,6 Н•м (1,9–2,3 кгс•м, 13,7–16,6 фунт·фут)

Будьте осторожны, чтобы не изменить положение и направление пеленга колпачки.

6.

С помощью подходящего инструмента переместите рычаг натяжителя, чтобы выровнять натяжитель. отверстие под болт с сервисным отверстием.

7.

Установите болт рычага натяжителя (А).

Момент затяжки :

18,6–22,6 Н•м (1,9–2,3 кгс•м, 13,7–16,6 фунт·фут)

8.

Снимите стопорный штифт с натяжителя.

9.

Поверните коленчатый вал на два оборота в рабочем направлении (по часовой стрелке), а затем убедитесь, что метки ВМТ звездочек CVVT находятся прямо линия на поверхности головки блока цилиндров.

10.

Установите болт сервисной пробки (А) с прокладкой.

Момент затяжки :

29,4–39,2 Н•м (3,0–4,0 кгс•м, 21,7–28,9 фунт·фут)

Не используйте повторно болт сервисной заглушки и прокладку.

11.

Установите остальные детали в порядке, обратном снятию.

Крышку головки блока цилиндров
Компоненты и расположение компонентов Компоненты 1. Крышка головки блока цилиндров 2. Прокладка крышки головки блока цилиндров Процедуры ремонта Удаление ...
Крышка цилиндра
Компоненты и расположение компонентов Компоненты 1. Крышка подшипника распредвала 2. Крышка переднего подшипника распредвала 3. Распредвал выпускных клапанов 4. Впускной распредвал 5. Выхлоп CVV...
Дополнительная информация:

Kia Optima DL3 2019-2023 Руководство по эксплуатации: Проверка количества хладагента кондиционера и смазки компрессора


Когда количество хладагента низкое, производительность кондиционера уменьшен. Переполнение также оказывает негативное влияние на систему кондиционирования. Поэтому, если обнаружена ненормальная работа, система должна быть проверена авторизованным Дилер Киа. ВНИМАНИЕ - Автомобили, оснащенные R ...

Руководство по ремонту и обслуживанию Kia Optima DL3 2019-2023: Передний стабилизатор поперечной устойчивости


Процедуры ремонта Удаление 1. Отсоедините клемму (-) аккумуляторной батареи. 2. Снимите переднее колесо и шину. (См. Шины/Колеса — «Колесо») 3. Отсоедините стойку стабилизатора от передней стойки в сборе после ослабления...