Киа Стоник: электрическая система

Руководство по ремонту Kia Stonic (YB) / Электрическая система

Общая информация
ОБЩАЯ ИНФОРМАЦИЯ ПО УСТРАНЕНИЮ НЕИСПРАВНОСТЕЙ

ПЕРЕД УСТРАНЕНИЕМ НЕИСПРАВНОСТЕЙ

1.

Затронутые предохранители в соответствующем блоке предохранителей/реле тест.

2.

Аккумулятор на наличие повреждений, состояние заряда, чистоту и надежность соединений тест.

D 1.6 U2 TCI (см. Электрооборудование двигателя — «Система зарядки»)

G 1.0 T-GDI KAPPA (см. Электрооборудование двигателя — «Система зарядки»)

G 1,2 MPI KAPPA (см. Электрическая система двигателя — «Система зарядки»)

G 1.4 MPI KAPPA (см. Электрическая система двигателя — «Система зарядки»)

Перед быстрой зарядкой аккумулятора отсоедините кабель заземления аккумулятора. отключить, иначе диоды генератора будут разрушены.

Никогда не запускайте двигатель, если кабель заземления аккумуляторной батареи только свободно сидит на полюсе аккумулятора, в противном случае проводка автомобиля сильно поврежден.

3.

Убедитесь, что ремень привода генератора (D) правильно натянут.

ЗАГЛУШКА ДЛЯ ОБРАЩЕНИЯ

1.

Убедитесь, что кабельные разъемы чистые и что клеммы разъема застрял в пробках.

2.

Обеспечьте мультиштекер сзади смазкой для электроники герметичны (за исключением водонепроницаемых заглушек).

3.

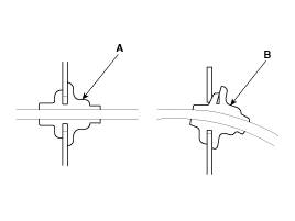
Все разъемы имеют замок (А), который разблокируется при нажатии. становится.

4.

Сбоку некоторых разъемов прикреплена клипса для фиксации разъемов. чтобы иметь возможность прикрепляться к телу или к другим компонентам. Отпереть из этих скоб, рычаг разблокировки необходимо потянуть вверх.

5.

Чтобы отсоединить некоторые разъемы с монтажной клипсой, необходимо сначала разблокируйте защелку и отсоедините разъем от кронштейна (А). становиться.

6.

При отсоединении штекерных соединений никогда не тяните за кабели, а потяните половинки разъема.

7.

Пластиковые крышки, снятые заранее, в любом случае должны быть заменены. быть прикрепленным.

8-й.

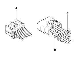
Перед подключением разъемов убедитесь, что клеммы разъема (A) правильно выровнены и не деформированы.

9.

Убедитесь, что держатель (А) и резиновые уплотнительные кольца (В) не ослаблены. являются.

10

Задняя часть некоторых разъемов загерметизирована смазкой для электроники. Толстый при необходимости долейте и замените загрязненный жир (A).

11.

Полностью соберите половинки разъема при соединении и убедитесь, что чтобы замок плотно защелкнулся.

12.

Всегда прокладывайте кабель так, чтобы открытая сторона крышки была обращена вниз. направлен.

РАБОТА С КАБЕЛЯМИ И КАБЕЛЬНЫЕ ЖГУТЫ

1.

Кабели и жгуты проводов с соответствующими кабельными стяжками к назначенным Безопасные рабочие места.

2.

Аккуратно отделите зажимы держателей кабеля, а не замки (A). нанести повреждения.

3.

Вставьте плоскогубцы (A) под основание зажима и через отверстие под углом, затем сожмите удлинительные выступы, чтобы освободить зажим.

4.

После установки кабельных скоб убедитесь, что кабельный жгут не может соприкасаться с движущимися компонентами.

5.

Заточить жгуты проводов от выхлопной системы и других горячих компонентов Держитесь подальше от краев, краев отверстий и выступающих винтов или болтов.

6.

Правильно вставьте кабельные втулки (А) в отверстия. кабельные втулки не оставляйте скрученным (B).

тестирование и ремонт

1.

Не используйте кабели или жгуты проводов с поврежденной изоляцией.

Заменить или заменить кабели или жгуты с поврежденной изоляцией Ремонтная обмотка подходящей изоляционной лентой.

2.

При установке компонентов всегда следите за тем, чтобы кабели не были защемлены. или стать поврежденным.

3.

При использовании электроизмерительного оборудования следуйте инструкциям производителя. и следуйте инструкциям данного Руководство по Kia Stonic.

4.

По возможности используйте инструмент для снятия со стороны кабеля. к проверяемому терминалу (за исключением водонепроницаемых кабельных разъемов).

5.

Используйте тестовые щупы конической формы.

См. руководство пользователя комплекта для ремонта кабеля (номер публикации: TRK 015).

УСТРАНЕНИЕ НЕИСПРАВНОСТЕЙ В ПЯТЬ ШАГИ

1.

Проверить жалобу клиента

Проверьте все компоненты в затронутой цепи, чтобы устранить жалобу клиента. подтвердить. Обратите внимание на симптомы. Только с разборкой или тестом начинайте, когда проблемная область будет сужена.

2.

Анализ схемы

Найдите неисправную цепь на электрической схеме.

Функция цепи путем отслеживания формы волны тока от источника напряжения определить по всем компонентам до земли. Если несколько цепей в то же время, предохранитель или заземление являются теми, вероятная причина.

С помощью признаков неисправности и понимания принципиальной схемы, или определить несколько возможных причин ошибки.

3.

Изолируйте проблему, проверив цепь.

Выполните проверки цепи, чтобы подтвердить диагноз, установленный на шаге 2. Проверять. Помните, что логичные и простые процедуры являются основой эффективного устранения неполадок.

Сначала проверьте наиболее вероятную причину ошибки. Пока это возможно заключается в проведении испытаний в легкодоступных местах.

4.

Устранить причину ошибки

После определения конкретной причины отказа отремонтируйте соответствующую систему. набор. Используйте надлежащие инструменты и применяйте безопасные методы работы.

5.

контрольный осмотр

Включите все компоненты неисправной цепи, чтобы убедиться что вы решили всю проблему. Проверьте, не проблема перегорел предохранитель, обязательно отключите все цепи, подключенные к этому предохранитель заклинил. Убедитесь, что не возникнет новых проблем и что исходная проблема не повторяется.

сбросить батарею

Описание

Если кабель аккумулятора снова подсоединяется после того, как он был ранее отсоединен, Аккумулятор перезаряжается после предыдущей разрядки или резервного копирования памяти устанавливается в обшивку со стороны водителя после снятия, всегда перезагрузите системы, указанные в таблице ниже.

Кроме того, при замене или повторной установке предохранителей после их удаления они должны быть сброшены в соответствии с таблицей ниже. Во время ожидания см. Таблица ниже.

СИСТЕМА
перезагрузить
Электрические окна
Если окно не может быть закрыто или открыто должным образом. Если батарея разряжена или поврежденный предохранитель заменен или переустановлен, система электрических стеклоподъемников, как описано ниже перезагрузить.
1.

Включите зажигание (ON)

2.

Нажимайте переключатель электрического стеклоподъемника вверх до тех пор, пока оконное стекло не полностью откройте, затем нажмите еще примерно на 1 секунду.

ЛЮК
Всякий раз, когда аккумуляторная батарея автомобиля отсоединена или разряжена, или когда аварийная ручка используется для открытия и закрытия люка систему люка можно сбросить следующим образом:
1.

Включите зажигание и полностью закройте люк.

2.

Отпустите рычаг люка.

3.

Нажмите и удерживайте кнопку CLOSE более 10 секунд. Удерживайте, пока люк не закроется и не сдвинется имеет.

4.

Отпустите рычаг люка.

5.

Снова нажмите и удерживайте кнопку CLOSE в течение 3 с, пока не произойдет следующее движение. люка.

СКЛАДЫВАТЬ → ОТКРЫТЬ→ ЗАКРЫТЬ

Затем отпустите рычаг.

6.

Сброс системы люка завершен.

бортовой компьютер
Если батарея отключена и снова подключена, настройка работает бортовой компьютер инициализировался. Поэтому заказчик должен предоставить эту информацию. быть объяснено.
Часы
Если батарею отключить и снова подключить, часы будут инициализированы. Так что часы нужно переустанавливать. (См. инструкцию по эксплуатации)
АУДИО
Если аккумулятор отключить и снова подключить, настройки по умолчанию будут восстановлены. инициализируется для радиостанций заказчика. Поэтому предустановки для записи радиостанций заказчика до ТО и после установить предустановки для радиостанций клиента во время технического обслуживания.
отопление и вентиляция
кондиционер
Если аккумуляторную батарею отключить и снова подключить, включится обогрев и кондиционирование воздуха. инициализирован.
Следовательно, отопление и кондиционирование должны быть сброшены.

специальные инструменты
СПЕЦИАЛЬНЫЕ ИНСТРУМЕНТЫ

Обозначение/номер инструмента
Иллюстрация
Описание
Тестер батареи для батареи RKE
09954-2П100

Измерение напряжения батареи RKE
Устройство коррекции LDW или LKA
09890-3В100

Калибровка LDW (предупреждение о выходе из полосы движения) или LKA (предупреждение о выходе из полосы движения)

ветровое стекло
Компоненты и расположение компонентов РАСПОЛОЖЕНИЕ КОМПОНЕНТОВ 1. Ветровое стекло 2. Профиль ветрового стекла Процедура ремонта удаление...
Аудио
Спецификации Спецификации компонент Спецификации МОДЕЛЬ Радио/MP3/Bluetooth (тип A) Радио/MP3/Bluetooth (тип ...
Дополнительная информация:

Руководство по эксплуатации Kia Stonic (YB): Основные характеристики


складной ключ Нажмите, чтобы развернуть ключ кнопка разблокировки; после этого ключ раскладывается автоматически. Удерживайте, чтобы сложить ключ вы нажали кнопку спуска и сложите ключ вручную. ОПАСНОСТЬ Не сворачивай ключ...