Kia Sorento: Failure Diagnosis - ESC(Electronic Stability Control) System - Brake System - Kia Sorento XM 2011-2023 Service Manual Kia Sorento: диагностика неисправности

XM второго поколения (2011-2023 гг.) / Kia Sorento XM 2011-2023 Руководство по ремонту / Тормозная система / Система ESC (электронный контроль устойчивости) / Диагностика отказов

1.
В принципе, управление ESC и TCS запрещено при АБС. отказ.
2.
При отказе ESC или TCS запрещается только отказавший системный контроль.
3.
Однако, когда реле электромагнитного клапана должно быть выключено в В случае отказа ESC обратитесь к отказоустойчивости ABS.
4.
Информация о отказоустойчивости АБС идентична отказоустойчивости в системы, где ESC не установлен.
Память кода отказа
1.
Он сохраняет код до тех пор, пока подключено питание резервной лампы. (О)
2.
Он сохраняет код до тех пор, пока питание HCU включено. (ИКС)
Проверка неисправности
1.
Первоначальная проверка выполняется сразу после подачи питания на HECU. на.
2.
Проверка реле клапана производится сразу после включения IG2.
3.
Он выполняет проверку все время, пока включено питание IG2.
Контрмеры в случае неудачи
1.
Выключите систему и выполните следующие действия и подождите для отключения питания HECU.
2.
Выключите реле клапана.
3.
Остановите управление во время операции и не выполняйте ничего, пока нормальное состояние восстанавливается.
Сигнальная лампа горит
1.
Контрольная лампа ESC загорается на 3 секунды после включения зажигания.
2.
Лампа функции ESC мигает, когда ESC Act.
3.
Если произошел сбой ESC, включается предупреждение ESC.
4.
Лампа ESC OFF загорается в случае
А.
ESC ВЫКЛ.
Б.
3 секунды после включения зажигания
Стандартный поток диагностики при устранении неполадок

Примечания относительно диагностики
Явления, перечисленные в следующей таблице, не являются ненормальными.
Состояние
Объяснение
Звук проверки системы
При запуске двигателя иногда может быть слышен глухой стук. услышал приближение
изнутри моторного отсека. Это связано с тем, что работа системы
выполняется проверка.
Звук работы АБС
1.
Звук мотора внутри работы гидроблока АБС (ныть).
2.
Звук генерируется вместе с вибрацией педали тормоза (выскабливание).
3.
При работе АБС звук издается автомобилем. шасси из-за
многократное нажатие и отпускание тормоза
(Стук: подвеска; скрип: шины)
Работа ABS (длинный тормозной путь)
Для дорожных покрытий, таких как заснеженные и гравийные дороги, тормозной путь для автомобилей с ABS иногда может быть больше, чем это для других транспортных средств. Соответственно, посоветуйте клиенту безопасно ездить по такие дороги, снижая скорость автомобиля.
Условия выявления диагноза могут различаться в зависимости от диагноза. код. При проверке признака неисправности после
диагностический код был стерт, убедитесь, что перечисленные требования в "Комментарии" встречаются.

Контрольный лист АБС

Таблица признаков проблем
Симптом
Подозрительная зона
АБС не работает.
Только когда все 1~4 в норме, а проблема все еще возникает, заменить ГЭБУ.
1.
Проверьте код неисправности, подтверждающий, что выводится нормальный код.
2.
Цепь источника питания.
3.
Цепь датчика скорости.
4.
Проверьте гидравлический контур на наличие утечек.
АБС не работает периодически.
Только когда все 1~4 в норме, а проблема все еще возникает, замените узел привода АБС.
1.
Проверьте код неисправности, подтверждающий, что выводится нормальный код.
2.
Цепь датчика скорости вращения колеса.
3.
Цепь выключателя стоп-сигналов.
4.
Проверьте гидравлический контур на наличие утечек.
Связь с ГДС
это невозможно.
(Связь с любой системой
невозможно)
1.
Цепь источника питания
2.
CAN-линия
Связь с ГДС
это невозможно.
(Связь только с ABS
невозможно)
1.
Цепь источника питания
2.
CAN-линия
3.
HECU
Когда ключ зажигания включен
(двигатель выключен),
контрольная лампа АБС не загорается.
1.
Цепь контрольной лампы АБС
2.
HECU
Даже после запуска двигателя АБС
сигнальная лампа остается включенной.
1.
Цепь контрольной лампы АБС
2.
HECU

Во время работы ABS педаль тормоза может вибрировать или не способен впадать в депрессию. Такие явления обусловлены периодическими изменениями в гидравлическом давлении внутри тормозной магистрали, чтобы предотвратить колеса блокировки и не является отклонением от нормы.

Состояние обнаружения
Симптомы неисправности
Возможная причина
Работа тормозов зависит от условий вождения и дороги. состояние поверхности, поэтому диагностика может быть затруднена. Однако, если нормальный DTC отображается, проверьте следующую возможную причину. Когда проблема все еще случае, замените модуль управления ESC.
-
Неисправная цепь источника питания
-
Неисправность цепи датчика скорости вращения колеса
-
Неисправность гидравлического контура из-за утечки
-
Неисправный HECU

Процедуры проверки
Проверка кода неисправности
1.
Подсоедините GDS к разъему канала передачи данных и включите зажигание. включить.
2.
Убедитесь, что выводится код DTC.
3.
Выводится ли код DTC?

▶ Проверьте цепь источника питания.

▶ Сотрите код неисправности и повторите проверку с помощью GDS.

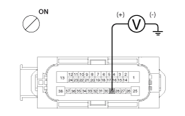
Проверьте цепь источника питания
1.
Отсоедините разъем от модуля управления ESC.
2.
Включите зажигание, измерьте напряжение между клеммой 29 бокового разъема жгута проводов модуля управления ESC и массы кузова.

Спецификация: примерно B+

3.
Напряжение соответствует спецификации?

▶ Проверьте цепь заземления.

▶ Проверьте жгут или разъем между предохранителем (10 А) в распределительный блок моторного отсека и модуль управления ESC. Ремонт если необходимо.

Проверьте цепь заземления
1.
Отсоедините разъем от модуля управления ESC.
2.
Проверьте целостность цепи между выводами 13, 38 блока управления ESC. боковой разъем жгута модуля и точка заземления.

3.
Есть ли преемственность?

▶ Проверьте цепь датчика скорости вращения колеса.

▶ Устраните разрыв в проводе и точке заземления.

Проверьте цепь датчика скорости вращения колеса.
1.
См. процедуры поиска и устранения неисправностей DTC.
2.
Это нормально?

▶ Проверьте гидравлический контур на герметичность.

▶ Отремонтируйте или замените датчик скорости вращения колеса.

Проверьте гидравлический контур на наличие утечек
1.
Обратитесь к гидравлическим линиям.
2.
Проверьте герметичность гидравлических линий.
3.
Это нормально?

▶ Проблема сохраняется, замените модуль управления ESC.

▶ Устраните утечки в гидравлических линиях.

Состояние обнаружения
Симптомы неисправности
Возможная причина
Работа тормозов зависит от условий вождения и дороги. состояние поверхности, поэтому диагностика может быть затруднена. Однако, если нормальный DTC отображается, проверьте следующую возможную причину. Когда проблема все еще случае, замените модуль управления ESC.
-
Неисправная цепь источника питания
-
Неисправность цепи датчика скорости вращения колеса
-
Неисправность гидравлического контура из-за утечки
-
Неисправный HECU

Процедуры проверки
Проверка кода неисправности
1.
Подсоедините GDS к разъему канала передачи данных и включите зажигание. включить.
2.
Убедитесь, что выводится код DTC.
3.
Выводится ли код DTC?

▶ Проверьте цепь датчика скорости вращения колеса.

▶ Сотрите код неисправности и повторите проверку с помощью GDS.

Проверьте цепь датчика скорости вращения колеса.
1.
См. процедуры поиска и устранения неисправностей DTC.
2.
Это нормально?

▶ Проверьте цепь выключателя стоп-сигналов.

▶ Отремонтируйте или замените датчик скорости вращения колеса.

Проверьте цепь выключателя стоп-сигнала
1.
Убедитесь, что стоп-сигнал загорается при нажатии на педаль тормоза и гаснет при отпускании педали тормоза.
2.
Измерьте напряжение между клеммой 23 модуля управления ESC. боковой разъем жгута проводов и масса тела при нажатии педали тормоза.

Спецификация : примерно B+

3.
Напряжение соответствует спецификации?

▶ Проверьте гидравлический контур на герметичность.

▶ Отремонтируйте выключатель стоп-сигнала. Устраните разрыв в проводе между модуль управления ESC и выключатель стоп-сигналов.

Проверьте гидравлический контур на наличие утечек
1.
Обратитесь к гидравлическим линиям.
2.
Проверка герметичности гидравлических линий.
3.
Это нормально?

▶ Проблема сохраняется, замените модуль управления ESC.

▶ Устраните утечки в гидравлических линиях.

Состояние обнаружения
Симптомы неисправности
Возможная причина
Возможный дефект в системе электропитания (включая заземление) для линии диагностики.
-
Разрыв в проводе
-
Плохая земля
-
Неисправная цепь источника питания

Процедуры проверки
Проверьте цепь питания для диагностики
1.
Измерьте напряжение между выводом 16 разъема канала передачи данных. и заземление тела.

Спецификация : примерно B+

2.
Напряжение соответствует спецификации?

▶ Проверьте цепь массы для диагностики.

▶ Устраните разрыв провода. Проверьте и замените предохранитель из распределительный блок моторного отсека.

Проверьте цепь массы для диагностики
1.
Проверьте целостность цепи между выводом 4 разъема канала передачи данных. и заземление тела.

2.
Есть ли преемственность?

▶ Устраните разрыв провода между клеммой 4 блока данных. соединительный разъем и точка заземления.

Состояние обнаружения
Симптомы неисправности
Возможная причина
Если связь с GDS невозможна, причиной может быть возможно, обрыв в цепи питания HECU или обрыв на диагностическом выходе схема.
-
Разрыв в проводе
-
Неисправный HECU
-
Неисправная цепь источника питания

Процедуры проверки
Проверьте целостность линии CAN.
1.
Отсоедините разъем от модуля управления ESC.
2.
Проверьте целостность цепи между выводами 26, 14 блока управления ESC. разъем модуля и 3, 11 разъема канала передачи данных.
3.
Есть ли преемственность?

▶ Проверьте источник питания модуля управления ESC.

▶ Устраните разрыв провода.

Проверьте источник питания модуля управления ESC.
1.
Отсоедините разъем от модуля управления ESC.
2.
Включите зажигание, измерьте напряжение между клеммой 29 бокового разъема жгута проводов модуля управления ESC и массы кузова.

Спецификация : примерно B+

3.
Напряжение соответствует спецификации?

▶ Проверьте наличие плохого заземления.

▶ Проверьте жгут или разъем между предохранителем (10 А) в распределительный блок моторного отсека и модуль управления ESC.Ремонт если необходимо.

Проверьте на плохое заземление
1.
Проверьте целостность цепи между выводом 4 разъема канала передачи данных. и точка заземления.

▶ Замените модуль управления ESC и повторите проверку.

▶ Устраните разрыв в проводе или плохое заземление.

Состояние обнаружения
Симптомы неисправности
Возможная причина
Когда в блоке HECU протекает ток, контрольная лампа АБС выключается. НА
на OFF в качестве начальной проверки. Поэтому, если лампа не горит вверх по
причиной может быть обрыв в цепи питания лампы, перегоревшая лампочка,
обрыв в обеих цепях между контрольной лампой АБС и
HECU и неисправный HECU.
-
Неисправная лампа контрольной лампы ABS
-
Перегоревший предохранитель связан с АБС в моторном отсеке соединительный блок
-
Неисправный модуль контрольной лампы ABS
-
Неисправный HECU

Процедуры проверки
Проверка проблемы
1.
Отсоедините разъем от модуля управления ESC и поверните зажигание включено.
2.
Контрольная лампа АБС горит?

Схематические диаграммы
Принципиальная схема - ESC (1) Принципиальная схема - ESC (2) Принципиальная схема - ESC (3) Принципиальная схема - ESC (4) Вход/выход разъема ESC Соединительный терминал Спецификация ...
EBD (электронное распределение тормозного усилия)
Система EBD (электронное распределение тормозного усилия) как подсистема система ABS должна контролировать максимальную эффективность торможения задними колесами. Он также использует эффективность ...
Смотрите также:

Расположение компонента
1. Фара головного света (дальний свет) 2. Фара (ближний свет) 3. Передний указатель поворота 4. Габаритный фонарь/ ДХО 5. Передняя противотуманная фара 6. Косметический светильник 7. Лампа потолочной консоли 8. Комнатный светильник (Sunro...

осмотр
1. Выключите зажигание. 2. Удалите ECTS (см. «Удаление»). 3. После погружения в...

Монтаж
1. Установите в порядке, обратном снятию. Установка модуля педали акселератора орех: 16,7~25,5 Н.м (1,7~2,6 кгс.м, 12,3~18...