Kia Forte: Заднее сиденье / Чехол на спинку заднего сиденья

Киа Kia Forte 2019-2023 (БД) Руководство по ремонту / Кузов (внутри и снаружи) / Заднее сидение / Чехол на спинку заднего сиденья

Компоненты и расположение компонентов
Расположение компонента

1. Обивка спинки заднего сиденья [правая]
2. Обивка спинки заднего сиденья [левая]

Процедуры ремонта
Замена

(Настольный тип спинки)

1.

Снимите спинку заднего сиденья в сборе.

(См. Заднее сиденье — «Заднее сиденье в сборе»)

2.

Нажмите на стопорные штифты и снимите подголовник заднего сиденья (А).

3.

Вытяните направляющие подголовника заднего сиденья (A), зажимая их с обеих сторон. нижней части направляющих и снимите их.

4.

Открутив болты и винты крепления, снимаем задний задний подлокотник (А).

5.

После удаления ленты-липучки (A) и кольцевых зажимов (B) внутри обивку подушки заднего сиденья, снимите обивку подушки сиденья.

[Передний]

[Задний]

6.

Для установки выполните процедуру удаления в обратном порядке.

Убедитесь, что разъемы подключены полностью.

Замените все поврежденные зажимы (или фиксаторы штифтового типа).

Во избежание складок убедитесь, что крышка (B) равномерно натянуты перед подключением борова - кольцевые зажимы (А).

Замените хомуты на новые, используя специальные инструмент (С) (09880 - 4F000).

(складной тип 6:4)

[левый]

Наденьте перчатки, чтобы не поранить руки.

При удалении плоской отверткой или съемником оберните защитная лента вокруг инструментов для предотвращения повреждения компонентов.

При снятии элементов внутренней отделки используйте съемник пластиковой панели. инструмент, чтобы не повредить поверхность.

Будьте осторожны, чтобы не погнуть и не поцарапать обивку и панели.

1.

Снимите заднее сиденье в сборе [LH].

(См. Заднее сиденье — «Заднее сиденье в сборе»)

2.

Нажмите на стопорные штифты и снимите подголовник заднего сиденья (А).

3.

С помощью отвертки или съемника снимите обивку спинки заднего сиденья (А).

4.

Вытяните направляющие подголовника заднего сиденья (A), зажимая их с обеих сторон. нижней части направляющих и снимите их.

5.

После удаления ленты-липучки (A) и кольцевых зажимов (B) внутри обивку подушки заднего сиденья, снимите обивку подушки сиденья.

6.

Для установки выполните процедуру удаления в обратном порядке.

Убедитесь, что разъемы полностью подключены

Замените все поврежденные зажимы (или фиксаторы штифтового типа).

Во избежание складок убедитесь, что крышка (B) равномерно натянуты перед подключением борова - кольцевые зажимы (А).

Замените хомуты на новые, используя специальные инструмент (С) (09880 - 4F000).

[Правый]

Наденьте перчатки, чтобы не поранить руки.

При снятии с помощью плоской отвертки или съемника оберните защитным заклейте инструмент лентой, чтобы предотвратить повреждение компонентов.

При снятии элементов внутренней отделки используйте съемник пластиковой панели. инструмент, чтобы не повредить поверхность.

Будьте осторожны, чтобы не погнуть и не поцарапать обивку и панели.

1.

Снимите заднее сиденье в сборе [RH].

(См. Заднее сиденье — «Заднее сиденье в сборе»)

2.

Снимите задний задний подлокотник.

(См. Заднее сиденье — «Подлокотник сзади»)

3.

Нажмите на стопорные штифты и снимите подголовник заднего сиденья (А).

4.

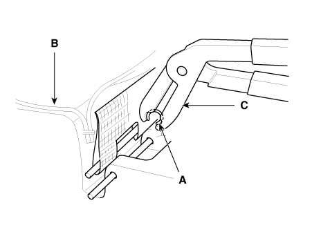
С помощью отвертки или съемника снимите обивку спинки заднего сиденья (А).

5.

Вытяните направляющие подголовника заднего сиденья (A), зажимая их с обеих сторон. нижней части направляющих и снимите их.

6.

После удаления ленты-липучки (A) и кольцевых зажимов (B) внутри обивку подушки заднего сиденья, снимите обивку подушки сиденья (С).

7.

Для установки выполните процедуру удаления в обратном порядке.

Убедитесь, что разъемы подключены полностью.

Замените все поврежденные зажимы (или фиксаторы штифтового типа).

Во избежание складок убедитесь, что крышка (B) равномерно натянуты перед подключением борова - кольцевые зажимы (А).

Замените хомуты на новые, используя специальные инструмент (С) (09880 - 4F000).

Заднее сиденье в сборе
Компоненты и расположение компонентов Расположение компонента 1. Спинка заднего сиденья в сборе 2. Подушка заднего сиденья в сборе Процедуры ремонта Заменить ...
Чехол на подушку заднего сиденья
Компоненты и расположение компонентов Расположение компонента 1. Чехол подушки заднего сиденья Процедуры ремонта Замена ...
Дополнительная информация:

Kia Forte 2019-2023 (BD) Service Manual: Верхняя крышка капота


Компоненты и расположение компонентов Расположение компонента 1. Верхняя крышка капота Процедуры ремонта Замена 1. Снимите отверстие для заглушки (А). 2. Ослабьте крепежные гайки и снимите рычаг стеклоочистителя (В). ...

Руководство по эксплуатации Kia Forte 2019-2023 (BD): Введение


С комплектом Tire Mobility Kit (TMK) вы оставаться мобильным даже после пережитого прокол шины. Компрессор системы и уплотнение соединение эффективно герметизирует большинство прокол в шине легкового автомобиля вызванные гвоздями или подобными предметами и накачивает шину. После того, как вы убедитесь, что шина p ...