Hyundai Tucson manuels

Hyundai Tucson Automotive Service Manual: распределительный вал и CVVT

Компоненты и расположение компонентов

КОМПОНЕНТЫ

1. Адаптер топливного насоса
2. Крышка подшипника распредвала
3. Крышка переднего подшипника распределительного вала.
4. Распредвал выпускных клапанов
5. Впускной распредвал
6. Выхлоп CVVT
7. Впускной вариатор

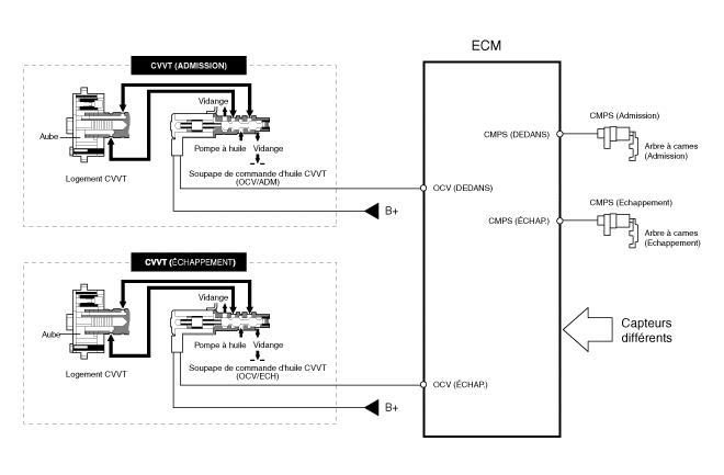
Описание и работа

Описание
Система непрерывного изменения фаз газораспределения (CVVT) опережает или замедляет фазы газораспределения впускных и выпускных клапанов в зависимости от управляющего сигнала ECM, рассчитанного на нагрузку и частоту вращения двигателя.
При управлении CVVT возникает клапанный зазор или перекрытие, в результате чего лучшая экономия топлива и уменьшенное количество выхлопных газов (NOx, HC) и улучшает характеристики двигателя за счет снижения потерь нагрузки. нагрузка, внутренний эффект рециркуляции отработавших газов, улучшенная стабильность сгорания, повышение эффективности громкости и увеличение работы триггера.
Эта система включает
клапан управления маслом CVVT (OCV), который подает моторное масло к фазовращателю или слить моторное масло из фазовращателя в соответствии с на сигнал PWM (импульсный с модуляцией) от ECM,
Датчик температуры масла CVVT (OTS), который измеряет температуру машинное масло,
и кулачковый синхронизатор, который изменяет фазу кулачка с помощью гидравлическая сила моторного масла.
Моторное масло, выходящее из клапана управления маслом CVVT, изменяется кулачковый фазовращатель в направлении вращения двигателя (Intake Advance/Retard Выхлоп) или в противоположном направлении (Запаздывание впуска/Опережение выхлопа) путем вращения ротора, соединенного с распределительным валом в фазовращателе кулачка.

Принцип действия
CVVT имеет механизм, который вращает клапан ротора с усилием гидравлическая жидкость, генерируемая моторным маслом, подаваемым в камеру опережения или замедление в соответствии с управлением клапаном управления маслом CVVT.

[Системный режим CVVT]

(1) Низкая скорость/низкая нагрузка
(2) Частичная нагрузка


(3) Низкая скорость/высокая нагрузка
(4) Быстрая скорость/высокая нагрузка



Руководить
Состояние
Выхлопной клапан
Впускной клапан
Клапан
Распределение
Эффект
Клапан
Распределение
Эффект
(1) Низкая скорость
/низкая нагрузка
полностью
ПРОДВИГАТЬ
* Клапанный зазор
* Улучшенная стабильность горения
полностью
ЗАДЕРЖИВАТЬ
* Клапанный зазор
* Улучшенная стабильность горения
(2) Частичная нагрузка
ЗАДЕРЖИВАТЬ
* Повышенная релаксационная работа
* Снижение потерь при изменении нагрузки
* Снижение НС
ЗАДЕРЖИВАТЬ
* Снижение потерь при изменении нагрузки
(3) Низкая скорость
/высокая нагрузка
ЗАДЕРЖИВАТЬ
* Повышенная релаксационная работа
ПРОДВИГАТЬ
* Предотвращение обратного впускного потока (улучшенный объемная эффективность)
(4) Высокая скорость
/высокая нагрузка
ПРОДВИГАТЬ
* Снижение потерь при изменении нагрузки
ЗАДЕРЖИВАТЬ
* Улучшена эффективность громкости

Процедуры ремонта

ДЕПОЗИТ
Используйте защиту крыльев, чтобы предотвратить повреждение окрашенных поверхностей.
Во избежание повреждений отсоедините разъемы проводки осторожно, удерживая разъемы.
Пометьте все кабели и шланги метками, чтобы предотвратить любые проблемы с подключением.
Поверните шкив коленчатого вала так, чтобы поршень № 1 был в верхней мертвой точке.
Крышку цепи ГРМ снимать не нужно. во время этой процедуры.
1.
Снимите крышку головки блока цилиндров.
(См. Головка цилиндра — «Крышка головки цилиндра»)
2.
Снимите адаптер топливного насоса (А).

3.
Установите цилиндр №1 в ВМТ (верхнюю мертвую точку) такта сжатия.
(1)
Поверните шкив коленчатого вала и совместите его канавку с Метка на крышке цепи ГРМ.

(2)
Убедитесь, что метки ВМТ на впускных шестернях CVVT и выхлоп находятся на прямой линии на поверхности головки блока цилиндров как показано на иллюстрации. В противном случае проверните коленчатый вал на один оборот (360°) больше.

(3)
Отметьте распределительные цепи, соответствующие маркировке распределение шестерен CVVT.

4.
Снимите демпферный шкив коленчатого вала.
(См. Система синхронизации - "Шкив амортизатора" коленчатый вал")
5.
Снимите болт сервисной пробки (А) с прокладкой (В).

6.
Снимите болт рычага натяжителя (А).

7.
Опустите рычаг натяжителя (А).

8.
Снимите крышки подшипников распределительных валов.

9.
Сначала снимите распределительный вал выпускных клапанов (А), затем распределительный вал. прием (В).

10.
Снимите рычаг натяжителя (А).

Чтобы удерживать цепь привода ГРМ, закрепите ее ремешок.
11.
Снимите CVVT (A) с распределительного вала.

При снятии болта CVVT удерживайте вал кулачок со шпонкой для предотвращения вращения вала кулачки.
Контроль
распределительный вал
1.
Проверьте кулачки распределительного вала.
С помощью микрометра измерьте высоту выступов кулачка.
Если высота кулачка распределительного вала ниже спецификации, замените распределительный вал.
ВЫСОТА КУЛАЧКА
Впуск: 39,0 мм (1,5354 дюйма)
Выхлоп: 39,0 мм (1,5354 дюйма)

2.
Убедитесь, что поверхность шейки распределительного вала не повреждена.
Если шейка чрезмерно изношена, замените распределительный вал.
3.
Проверьте люфт шейки распределительного вала.
(1)
Очистите крышки подшипников и шейки валов. кулачки.
(2)
Установите распределительные валы на головку блока цилиндров.
(3)
Вставьте полоску пластикового калибра через каждую цапфу. распределительного вала.

(4)
Установите крышки подшипников и затяните болты указано.
Момент затяжки
Болты М6:
11,8 ~ 13,7 Н·м (1,2 ~ 1,4 кгс·м, 8,7 ~ 10,1 фунт-фут)
Болты М8:
18,6 ~ 22,6 Н·м (1,9 ~ 2,3 кгс·м, 13,7 ~ 16,6 фунт-фут)
Не вращайте распределительный вал.
(5)
Снимите крышки подшипников.
(6)
Измерьте пластидж в самом широком месте.
Если масляный зазор превышает норму, замените вал. кулачки. При необходимости замените крышки подшипников и головка блока цилиндров в целом.
Масляный зазор подшипника
СТАНДАРТ]
0,032 ~ 0,062 мм (0,00126 ~ 0,00244 дюйма)

4.
Проверьте осевой люфт распределительного вала.
(1)
Установите крышку подшипника распределительного вала.
(2)
С помощью циферблатного индикатора измерьте осевой люфт, перемещение распределительного вала вперед и назад.
Если осевой люфт превышает спецификации, замените вал. кулачки.
При необходимости заменить крышки подшипников и головку блока цилиндров. в целом.
Осевой люфт распределительного вала
СТАНДАРТ]
0,10~0,19 мм (0,0039~0,0075 дюйма)

(3)
Снимите распределительные валы.
Пакет CVVT (система непрерывного изменения фаз газораспределения)
1.
Проверьте, легко ли вращается CVVT.
(1)
Затяните распределительный вал тисками. Будьте осторожны, чтобы не повредить кулачки распределительного вала и шейки в порок.
(2)
Убедитесь, что CVVT заблокирован, повернув его по часовой стрелке. по часовой стрелке или против часовой стрелки. Он не должен поворачиваться.
(3)
Впускной CVVT: Закройте одно из двух отверстий в шейка распределительного вала с лентой.
CVVT выхлопа: Закройте одно из двух отверстий задержки в шейка распределительного вала с лентой.

(4)
CVVT на входе: подайте примерно 150 кПа (1,5 кгс/см², 21 фунтов на квадратный дюйм) сжатого воздуха в незапечатанное предварительное отверстие, чтобы продолжить при разблокировке.
CVVT выхлопа: подайте примерно 150 кПа (1,5 кгс/см², 21 psi) сжатого воздуха в незапечатанное отверстие задержки для разблокировать.
Закройте масляные каналы куском тряпкой при подаче сжатого воздуха во избежание брызг масла.
(5)
Впуск CVVT: При подаче сжатого воздуха поверните CVVT в прямом направлении (против часовой стрелки) в диапазоне фаз и убедитесь, что CVVT легко поворачивается.
CVVT выхлопа: при подаче сжатого воздуха поверните CVVT в направлении запаздывания (по часовой стрелке) и проверьте что CVVT легко крутится.
Диапазон фаз CVVT
Впуск: 25° ± 0°30' (от положения максимальной задержки в положении максимального выдвижения)
Выхлоп: 20° ± 0°30' (от положения максимального выдвижения в положении максимальной задержки)

(6)
Впускной CVVT: поверните CVVT в положение замедления максимум (по часовой стрелке), затем убедитесь, что CVVT заблокирован.
Выпуск CVVT: поверните CVVT в переднее положение максимум (против часовой стрелки), затем убедитесь, что CVVT заблокирован.
СРЕДСТВО
1.
Установите CVVT (A) на распределительный вал.
Момент затяжки:
64,7 ~ 76,5 Н·м (6,6 ~ 7,8 кгс·м, 47,7 ~ 56,4 фунт-фут)

При установке болта CVVT удерживайте вал кулачок со шпонкой для предотвращения вращения вала кулачки.
2.
Сожмите поршень натяжителя с помощью рукоятки (А), затем вставьте стопорный штифт (B) в отверстие на натяжителе, чтобы зафиксировать сжатый поршень.

3.
Установите впускной распределительный вал (А), затем вставьте рычаг натяжителя. (В) по цепи привода ГРМ.

4.
Установите распределительный вал выпускных клапанов (А).

Метки времени каждой звездочки CVVT должна совпадать с маркировкой (окрашенной нитью) цепи распространение во время установки последнего.

5.
Установите крышку подшипника распределительного вала.

Затяните болты несколько раз в указанной последовательности.
Момент затяжки
Болты М6:
11,8 ~ 13,7 Н·м (1,2 ~ 1,4 кгс·м, 8,7 ~ 10,1 фунт-фут)
Болты М8:
18,6 ~ 22,6 Н·м (1,9 ~ 2,3 кгс·м, 13,7 ~ 16,6 фунт-фут)

Будьте осторожны, чтобы не изменить положение и направление крышек подшипников.
6.
С помощью подходящего инструмента переместите рычаг натяжителя, чтобы выровнять отверстие под болт натяжителя с сервисным отверстием.

7.
Установите болт рычага натяжителя (А).
Момент затяжки:
18,6 ~ 22,6 Н·м (1,9 ~ 2,3 кгс·м, 13,7 ~ 16,6 фунт-фут)

8.
Снимите стопорный штифт натяжителя.
9.
Проверните коленчатый вал на два оборота в направлении работы (по часовой стрелке), затем проверьте, что метки ВМТ на шестернях CVVT расположены по прямой линии на поверхности головки блока цилиндров.

10.
Установите болт сервисной пробки (А) с прокладкой.
Момент затяжки:
29,4 ~ 39,2 Нм (3,0 ~ 4,0 кгс·м, 21,7 ~ 28,9 фунт-фут)

Не используйте повторно болт сервисной пробки и прокладка.
11.
Установите демпферный шкив коленчатого вала.
(См. Система синхронизации - "Шкив амортизатора" коленчатый вал")
12.
Установите крышку головки блока цилиндров.
(См. Головка цилиндра — «Крышка головки цилиндра»)
крышку головки блока цилиндров
Компоненты и расположение компонентов КОМПОНЕНТЫ 1. Крышка головки блока цилиндров 2. Прокладка ГБЦ 3. Прокладка кронштейна насоса топливо ...

КРЫШКА ЦИЛИНДРА
Компоненты и расположение компонентов КОМПОНЕНТЫ 1. Держатель кулачка 2. Головка блока цилиндров 3. Прокладка ГБЦ 4. Стопорный замок 5. Удержание 6. Весна...
Другие материалы:

Важные меры безопасностимеры
В этом документе представлены многие меры безопасности и рекомендации. разделе и во всем этом руководстве. Меры безопасности, описанные в этом раздел является одним из самых важных. Всегда пристегивайтесь ремнем безопасности Ремень безопасности - это...

Багажная сетка (хранилище) (если применимо)
Чтобы предметы в задней двери не перемещались, вы можете использовать 4 зажима, расположенные в задней двери, для установки багажной сетки. При необходимости советуем приобрести багажную сетку в у официального дилера HYUNDAI. УВЕДОМЛЕНИЕ...