Hyundai Tucson manuels

Hyundai Tucson Automotive Service Manual: ГОЛОВКА ЦИЛИНДРОВ

Компоненты и расположение компонентов

КОМПОНЕНТЫ

1. Держатель кулачка
2. Головка блока цилиндров
3. Прокладка ГБЦ
4. Стопорный замок
5. Удержание
6. Пружина клапана
7. Уплотнение штока клапана
8. Клапан
9. Маятник
10. Гидравлический компенсатор зазора (HLA)

Процедуры ремонта

ДЕПОЗИТ
Во время этой процедуры нет необходимости снимать двигатель.
Используйте защиту крыльев, чтобы предотвратить повреждение окрашенных поверхностей.
Во избежание повреждения головки блока цилиндров подождите, пока температура охлаждающей жидкости двигателя ниже нормальной температуры (20°C [68°F]) до брось это.
При обращении с металлической прокладкой будьте осторожны, чтобы не не сгибайте его и не повреждайте контактную поверхность.
Во избежание повреждений отсоедините разъемы проводки осторожно, удерживая разъемы.
Пометьте все кабели и шланги метками, чтобы предотвратить любые проблемы с подключением.
Поверните шкив коленчатого вала так, чтобы поршень № 1 был в ВМТ (верхней мертвой точке).
1.
Извлеките аккумулятор.
(См. Электрическая система двигателя — «Аккумуляторная батарея».)
2.
Снимите воздушный фильтр в сборе.
(См. Система впуска и выпуска — «Воздушный фильтр»)
3.
Снимите лоток аккумулятора.
(См. Электрическая система двигателя — «Аккумуляторная батарея».)
4.
Снимите нижнюю крышку моторного отсека.
(См. Двигатель и трансмиссия в сборе — «Крышка нижняя часть моторного отсека")
5.
Снимите вакуумный шланг (А).
Момент затяжки:
9,8–11,8 Н·м (1,0–1,2 кгс·м, 7,2–8,7 фунт·фут)

6.
Снимите конденсатор (А).
Момент затяжки:
9,8–11,8 Н·м (1,0–1,2 кгс·м, 7,2–8,7 фунт·фут)

7.
Снимите топливный насос высокого давления.
(См. Система управления двигателем и подачей топлива — «Насос топливо под высоким давлением")
8.
Снимите крышку головки блока цилиндров.
(См. Головка цилиндра — «Крышка головки цилиндра»)
9.
Снимите цепь привода ГРМ.
(См. Система синхронизации - «Цепь синхронизации»)
10.
Снимите выпускной коллектор.
(См. Система выпуска и впуска — «Коллектор выхлоп")
11.
Снимите впускной коллектор.
(См. Система выпуска и впуска — «Коллектор допуск")
12.
Снимите подводящую трубу.
(См. Управление двигателем/топливная система — «Топливный шланг».)
13.
Снимите блок управления температурой воды.
(См. Система охлаждения — «Контроль температуры воды».)
14.
Снимите впускной (A) и выпускной (B) CVVT.

При снятии болта CVVT удерживайте вал кулачок со шпонкой для предотвращения вращения вала кулачки.

15.
Снимите распределительный вал.
(1)
Снимите крышку подшипника распределительного вала (А), ослабив болты в указанном порядке.

(2)
Снимите распределительный вал (А).

16.
Снимите опору кулачка (А).

17.
Снимите HLA (гидравлический компенсатор зазора) (A) и маятник. (Б).

HLA и маятник следует обслуживать как пар при хранении после удаления и повторной установки.
18.
Снимите переходник управления подачей масла (А) с прокладкой (В).

19.
Снимите впускной OCV (масляный регулирующий клапан) (A).

20.
Снимите выпускной OCV (масляный регулирующий клапан) (A).

21.
Снимите заднюю опору двигателя (А).

22.
Снимите свечи зажигания.
(См. Электрическая система двигателя — «Свеча зажигания».)
23.
Снимите головку блока цилиндров.
(1)
С помощью торцового ключа (12PT) равномерно ослабьте и снимите болты крепления головки блока цилиндров, в несколько приемов, в порядок указан.

Если болты сняты в неправильном порядке, головка блока цилиндров может быть деформирована или треснута.
(2)
Поднимите головку блока цилиндров (А) над направляющими штифтами на блок цилиндров и поместите его на деревянные бруски и на рабочий план.
Избегайте повреждения контактных поверхностей головка блока цилиндров и блок цилиндров.
(3)
Снимите прокладку головки блока цилиндров (В).

РАЗБОРКА
Идентифицируйте клапаны и пружины клапанов, когда они удаляются, чтобы каждый элемент можно было переустановить в исходное положение.
1.
Снимите клапаны.
(1)
С помощью SST (09222-3K000, 09222-3K100) сожмите пружину шток клапана и фиксатор (А).
При установке SST вставьте скобу спереди (A) непосредственно в отверстие под болт на головке блока цилиндров.

Не нажимайте на фиксатор клапана дальше 12 мм (0,47 дюйма).
(2)
Снимите держатель пружины (В).
(3)
Снимите пружину клапана (С).
(4)
Снимите клапан (D).
(5)
Используя острогубцы, снимите маслосъемный колпачок. (Э).

Никогда не используйте повторно старые уплотнения штока клапанов.
Контроль
КРЫШКА ЦИЛИНДРА
1.
Проверьте плоскостность головки блока цилиндров.

Используя линейку и щуп, измерьте сопрягаемые поверхности блока цилиндров и коллекторов проверить наличие деформаций.
Плоскостность поверхности прокладки головки блока цилиндров:
Общая площадь менее 0,05 мм (0,0020 дюйма)
Менее 0,02 мм (0,0008 дюйма) для сечения 100 мм (3,9370 дюйм) × 100 мм (3,9370 дюйма)

Плоскостность монтажной поверхности коллектора:
Менее 0,10 мм (0,0039 дюйма)

2.
Проверьте на наличие трещин.
Проверьте наличие трещин в камере сгорания, впускные и выпускные каналы и поверхность блока цилиндров. Если она треснула, замените головку блока цилиндров.
КЛАПАН И ПРУЖИНА КЛАПАНА
1.
Осмотрите штоки и направляющие клапанов.
(1)
Штангенциркулем измерьте внутренний диаметр направляющей клапана.
Внутренний диаметр направляющей клапана
Впуск: 5,500 ~ 5,512 мм (0,21654 ~ 0,21701 дюйма)
Выхлоп: 5,500 ~ 5,512 мм (0,21654 ~ 0,21701 дюйма)

(2)
С помощью микрометра измерьте диаметр стержня клапан.
Наружный диаметр стержня клапана
Впуск: 5,465 ~ 5,480 мм (0,21516 ~ 0,21575 дюйма)
Выхлоп: 5,458 ~ 5,470 мм (0,21488 ~ 0,21535 дюйма)

(3)
Вычтите диаметр штока клапана из внутреннего диаметра. направляющей клапана.
Если зазор превышает спецификации, замените клапан или головка блока цилиндров.
ЗАЗОР МЕЖДУ НАПРАВЛЯЮЩЕЙ И ШТОКОМ КЛАПАНА
[СТАНДАРТ]
Впуск: 0,020 ~ 0,047 мм (0,00079 ~ 0,00185 дюйма)
Выхлоп: 0,030 ~ 0,054 мм (0,00118 ~ 0,00213 дюйма)
2.
Проверьте клапаны.
(1)
Проверьте угол контактной поверхности клапана.
(2)
Убедитесь, что поверхность клапана не повреждена.
Если поверхность клапана изношена, замените клапан.
(3)
Проверьте толщину края головки клапана.
Если толщина поля меньше спецификации, замените клапан.
ДОПУСК
[СТАНДАРТ]
Впуск: 1,30 мм (0,0512 дюйма)
Выхлоп: 1,26 мм (0,0496 дюйма)

(4)
Проверьте длину клапана.
длина клапана
[СТАНДАРТ]
Впуск: 102,22 мм (4,0244 дюйма)
Выхлоп: 104,04 мм (4,0961 дюйма)
[Ограничение]
Впуск: 101,97 мм (4,0146 дюйма)
Выхлоп: 103,79 мм (4,0862 дюйма)
(5)
Проверьте, не повреждена ли поверхность на конце штока клапана. поврежден.
Если конец штока клапана изношен, замените клапан.
3.
Осмотрите седла клапанов и направляющие клапанов.
(1)
Проверьте, не перегрелось ли седло клапана или его контакт. с контактной поверхностью клапана правильно.
Если седло клапана изношено, замените головку блока цилиндров.
(2)
Проверьте направляющую клапана на предмет износа. Если направляющая клапана изношена, замените головку блока цилиндров.
4.
Проверьте пружины клапанов.
(1)
С помощью стального угольника измерьте непрямоугольность пружина клапана.
(2)
с помощью штангенциркуля измерьте длину пружины в свободном состоянии клапан.
Если свободная длина клапана не соответствует спецификации, заменить пружину клапана
пружина клапана
[СТАНДАРТ]
Чистая высота: 45,93 мм (1,8083 дюйма)
Перекос: менее 1,5°

HLA (гидравлический регулятор зазора)
После того, как гидравлический регулятор люфта будет заполнен моторным маслом, удерживайте A и нажмите B вручную.
Если B перемещается, замените гидравлический компенсатор зазора.

проблема
Возможная причина
Пластырь
1. Кратковременный шум при запуске холодного двигателя
Нормальный
Этот шум исчезнет, ​​когда давление масла в двигателе достигнет нормальное значение.
2. Непрерывный шум при запуске двигателя после стоянки более 48 часов
Масло вытекает из камеры высокого давления на HLA, что позволяет кажется, входит
Шум исчезнет через 15 минут при работе двигателя на 2000-3 000 об/мин.
Если он не исчезнет, ​​см. пункт 7 ниже.
3. Непрерывный шум при первом запуске двигателя после собрал головку блока цилиндров
Недостаточное количество масла в масляном контуре прокладки головки блока цилиндров.
4. Непрерывный шум при запуске двигателя после попытки запуска чрезмерное использование стартера или ленты
Масло выходит из камеры высокого давления в регулятор гидравлический зазор, обеспечивающий поступление воздуха.
Недостаточное количество масла в гидравлическом регуляторе зазора
5. Постоянный шум при работающем двигателе после замены регулятора играть гидравлический
Не запускайте двигатель на более высоких оборотах при 3000 об/мин, так как это может привести к повреждению регулятора гидравлический люфт.
6. Постоянный шум на холостом ходу после работы двигателя на оборотах ученик
Уровень моторного масла слишком высокий или слишком низкий
Проверьте уровень масла.
Слейте или долейте по мере необходимости.
Чрезмерное количество воздуха в масле при высоких оборотах двигателя.
Проверьте систему подачи масла.
Ухудшенное масло.
Проверьте качество масла.
Если он поврежден, замените его на указанный тип.
7. Шум длится более 15 минут.
Низкое давление масла.
Проверьте давление масла и систему подачи масла для каждого часть двигателя.
HLA-дефектный
Снимите крышку головки блока цилиндров и нажмите на регулятор вручную. гидравлический люфт.
Если он движется, замените гидравлический регулятор зазора.

Сборка
Тщательно очистите все детали, подлежащие сборке.
Перед их установкой нанесите новое моторное масло на все скользящие и вращающиеся поверхности.
Замените сальники на новые.
1.
Установите клапаны.
(1)
Используя специальный инструмент (09222-2E000), вставьте новый уплотнение штока (А).

Не используйте повторно старые уплотнения штока клапанов.
Неправильная установка прокладки может привести к течет масло из направляющих клапанов.
(2)
Установите клапан, пружину клапана и фиксатор пружины.
Расположите пружины клапанов так, чтобы что эмалированная сторона обращена к чашке пружина клапана, затем установите фиксатор.
(3)
Используя специальный инструмент (09222-3K000, 09222-3K100), сожмите пружину и установите стопорные штифты.
Прежде чем отпустить сжатие пружины клапана, убедитесь, что что стопорные штифты установлены правильно после нажмите и отпустите ручку компрессора 2~3 раза.

При установке SST вставьте скобу спереди (A) непосредственно в отверстие под болт на головке блока цилиндров.
Не нажимайте на фиксатор клапана дальше 12 мм (0,47 дюйма).
СРЕДСТВО
Тщательно очистите все детали, подлежащие сборке.
Всегда используйте новые прокладки головки блока цилиндров и коллектора.
Всегда используйте новые болты крепления головки блока цилиндров.
Прокладка головки блока цилиндров представляет собой металлическую прокладку. Заботиться чтобы не согнуть его.
Поверните коленчатый вал так, чтобы поршень № 1 находился в ВМТ (точка верхняя мертвая точка) на такте сжатия.
1.
Установите прокладку головки блока цилиндров (В) на блок цилиндров.
(1)
Удалить затвердевающий герметик, масло, пыль, влаги и вредных инородных тел из блока цилиндров и головки блока цилиндров.
(2)
Нанесите жидкий герметик на кромку блока цилиндров.
(3)
Установите прокладку головки блока цилиндров с монтажными штифтами. блока цилиндров.
(4)
Нанесите жидкий герметик на край прокладки головки блока цилиндров.
Нанесите жидкий герметик на кромку блока цилиндров. и прокладка головки.
Герметик:
Threebond 1217H или эквивалент

Установите прокладку головки блока цилиндров и головку блока цилиндров в через 5 минут после нанесения герметика.
2.
Аккуратно установите головку блока цилиндров (А), чтобы не повредить прокладку. ГБЦ во время установки.

3.
Установить болты головки блока цилиндров с шайбами.
Используя специальный инструмент (09221-4A000), установите и затяните 10 болтов. головки блока цилиндров несколько раз в указанной последовательности.
Момент затяжки
1-й шаг:
32,4 ~ 36,3 Н·м (3,3 ~ 3,7 кгс·м, 23,9 ~ 26,8 фунт-фут)
2-й этап: 90~95°
3-й этап: 90~95°

Не используйте повторно болты головки блока цилиндров.
Не наносите моторное масло на резьбу болтов чтобы получить правильный крутящий момент.
Сбросьте извлеченный герметик в течение 5 минут после установки болтов крепления головки блока цилиндров.
Запуск двигателя или испытание давлением не должны не выполняться в течение 30 минут после установки болты головки блока цилиндров.
Будьте осторожны, чтобы не изменить положение установки предварительно собранные болты шайбы и болты для шайбы не собраны.
При установке болтов шайбы не предварительно собранные, круглые и фаски омывателей ветрового стекла должны быть направлена ​​вверх.

4.
Установите заднюю опору двигателя (А).
Момент затяжки:
34,3 ~ 39,2 Н·м (3,5 ~ 4,0 кгс·м, 25,3 ~ 28,9 фунт-фут)

5.
Установите OCV (клапан управления выхлопным маслом) (A).
Момент затяжки:
9,8–11,8 Н·м (1,0–1,2 кгс·м, 7,2–8,7 фунт·фут)

6.
Установите OCV (впускной клапан управления маслом) (A).
Момент затяжки:
9,8–11,8 Н·м (1,0–1,2 кгс·м, 7,2–8,7 фунт·фут)

Не используйте повторно OCV, если он упал.
Содержите фильтр OCV в чистоте.
Не держитесь за втулку OCV (A) во время технического обслуживания.
Когда OCV установлен на двигателе, не перемещайте не двигатель, удерживая вилку OCV.

7.
Установите адаптер управления подачей масла (А) с новой прокладкой (В).
Момент затяжки:
9,8–11,8 Н·м (1,0–1,2 кгс·м, 7,2–8,7 фунт·фут)

8.
Установите блок управления температурой воды.
(См. Система охлаждения — «Контроль температуры воды».)
9.
Установите HLA (гидравлический компенсатор зазора) (A) и маятник. (Б).

(1)
При установке HLA его необходимо держать вверх чтобы моторное масло в HLA не выливалось и чтобы убедитесь, что пыль не прилипает к HLA.
(2)
HLA необходимо вставлять осторожно на уровне головки блока цилиндров. чтобы не было брызг моторного масла.
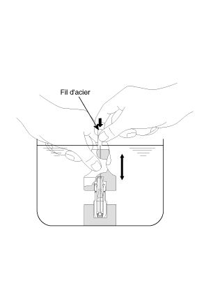
В случае разбрызгивания продувка воздухом должна быть осуществляется в соответствии с процедурой очистки воздуха. Вставьте HLA в дизельное топливо 4 ~ 5 раз, нажимая на его колпачок, одновременно нажимая немного на мяче вниз с жесткая стальная проволока. (будьте осторожны, чтобы не нажать сильно жесткая стальная проволока вниз, потому что мяч весит несколько граммов.)

10.
Установите держатель кулачка.
(1)
С помощью скребка удалите старую набивку с поверхностей. печати.
(2)
Места расположения герметика на опоре кулачки и головка блока цилиндров должны быть свободны от посторонних предметов вредные вещества, масло, пыль и влажность. Распылите моющее средство на поверхность и протрите чистой тканью.
(3)
После нанесения жидкого герметика на поверхность нижней части держателя кулачка, установите держатель кулачка. Герметик должен наноситься непрерывно, чтобы избежать утечки масла.
При ширине слоя: 2,5 ~ 3,5 мм (0,10 ~ 0,14 дюйма)
Герметик: Threebond 1217H или аналогичный

(4)
Поместите держатель кулачка (А) на головку блока цилиндров. булавки положение на опоре кулачка и отверстия на головку блока цилиндров следует использовать в качестве эталона для установки держатель кулачка в точное положение.
(5)
Затяните болты держателя кулачка.
Момент затяжки:
18,6 ~ 22,6 Н·м (1,9 ~ 2,3 кгс·м, 13,7 ~ 16,6 фунт-фут)

Установите держатель кулачка в течение 5 минут после нанесения герметика.
Установите крышку подшипника распределительного вала в течение 5 минут после установки кронштейна кулачков.
Запуск двигателя или испытание под давлением не не должно быть завершено в течение 30 минут после установки держателя кулачка.
11.
Установите распределительные валы.
(1)
Поместите впускной и выпускной распределительные валы (А) на кулачковый носитель.

(2)
Установите крышку подшипника распределительного вала (А).

Затяните болты несколько раз в соответствии с последовательностью представлены.
Момент затяжки
Болты М6:
11,8 ~ 13,7 Н·м (1,2 ~ 1,4 кгс·м, 8,7 ~ 10,1 фунт-фут)
Болты М8:
18,6 ~ 22,6 Н·м (1,9 ~ 2,3 кгс·м, 13,7 ~ 16,6 фунт-фут)

Будьте осторожны, чтобы не изменить положение и направление крышек подшипников.
12.
Установите впускной (A) и выпускной (B) CVVT.
Момент затяжки:
64,7 ~ 76,5 Н·м (6,6 ~ 7,8 кгс·м, 47,7 ~ 56,4 фунт-фут)

При снятии болта CVVT удерживайте вал кулачок со шпонкой для предотвращения вращения вала кулачки.

13.
Установите остальные детали в порядке, обратном снятию.
14.
Добавьте все необходимые жидкости и проверьте на наличие утечек. Соединять ГДС. Проверьте коды, запишите и сотрите. Проверить снова.
Заполните двигатель моторным маслом.
Заполните радиатор и расширительный бачок жидкостью охлаждение двигателя.
Очистите клеммы аккумулятора и клеммы кабеля, затем подниматься.
Убедитесь в отсутствии утечек топлива.
После сборки топливной магистрали включите зажигание (не включайте стартер), чтобы топливный насос работает примерно две секунды и что топливопровод может быть под давлением.
Повторите эту операцию два или три раза и убедитесь, что она утечек топлива в магистрали нет.
Выпустите воздух из системы охлаждения.
Запустите двигатель и дайте ему поработать, пока он не прогреется (пока вентилятор радиатора не заработает на 3 или 4 раза).
Выключите двигатель. Проверить уровень в радиаторе, долить жидкость при необходимости. Таким образом, воздух, попавший в радиатор можно снять с системы охлаждения.
Слегка приоткройте крышку радиатора и поставьте двигатель работает для проверки на наличие утечек.
Распределительный вал и вариатор
Компоненты и расположение компонентов КОМПОНЕНТЫ 1. Адаптер топливного насоса 2. Крышка подшипника распредвала 3. Крышка переднего подшипника...

Цилиндрический блок
...
Другие материалы:

Информация о боковине шины
Эта информация указывает на основные характеристики шин и их идентификационные номера для сертификации безопасности. Идентификационный номер идентифицирует шину в случае отзыва. 1. Производитель или торговая марка Название производителя или марки...

Принципиальные диаграммы
Принципиальная электрическая схема НЕТ люк на крыше СОЕДИНИТЕЛЬ (сторона автомобиля) люк на крыше СОЕДИНИТЕЛЬ (ДВИГАТЕЛЬ) Мотор панорамного окна (Владелец) солнцезащитный мотор (Жопа...