Hyundai Kona: Система контроля выбросов выхлопных газов / CVVT (непрерывная регулировка фаз газораспределения) Описание и работа системы

Hyundai Kona (OS) 2018-2023 Руководство по эксплуатации / Система контроля выбросов / Система контроля выбросов выхлопных газов / CVVT (непрерывная регулировка фаз газораспределения) Описание и работа системы

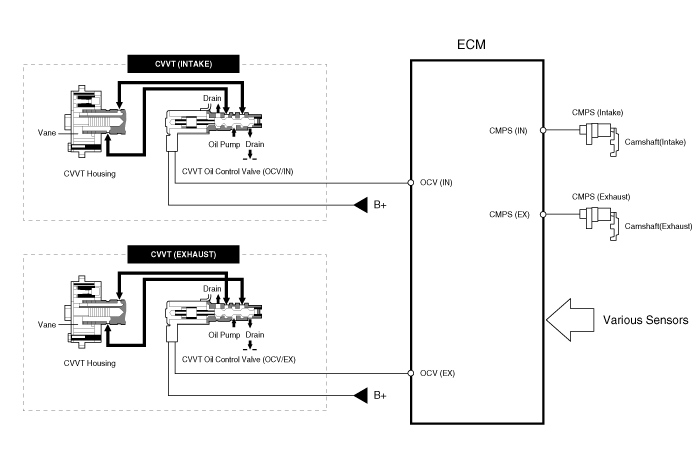
Описание
Система непрерывного изменения фаз газораспределения (CVVT) опережает или задерживает клапан. синхронизация впускных и выпускных клапанов в соответствии с управляющим сигналом ECM рассчитывается по частоте вращения двигателя и нагрузке.
При управлении CVVT происходит перекрытие или недопуск клапана, что улучшает экономия топлива и снижение выхлопных газов (NOx, HC). CVVT улучшает работу двигателя за счет снижения насосных потерь и внутреннего эффекта рециркуляции отработавших газов, улучшения стабильности сгорания и объемный КПД, а также увеличение работы по расширению.
Эта система состоит из:
Клапан управления маслом CVVT (OCV), который подает моторное масло в кулачковый фазовращатель или вытекает моторное масло из кулачкового фазовращателя в соответствии с управляющим сигналом ECM PWM (Pulse With Modulation),
датчик температуры масла CVVT (OTS), который измеряет моторное масло температура,
и Cam Phaser, который изменяет фазу кулачка с помощью гидравлического сила моторного масла.
Моторное масло, вытекающее из клапана управления маслом CVVT, изменяет фазу кулачка. в направлении (опережение впуска/замедление выпуска) или в противоположном направлении (Intake Retard/Exhaust Advance) вращения двигателя за счет вращения ротора соединен с распределительным валом внутри кулачкового фазовращателя.

Принцип работы
CVVT имеет механизм вращения лопасти ротора за счет гидравлической силы, создаваемой моторным маслом, подаваемым в камеру опережения или замедления в соответствии с управление масляным клапаном CVVT.

[Системный режим CVVT]

(1) Низкая скорость/низкая нагрузка
(2) Частичная нагрузка

(3) Низкая скорость/высокая нагрузка
(4) Высокая скорость/высокая нагрузка


Состояние вождения
Выхлопной клапан
Впускной клапан
Время клапана
Эффект
Время клапана
Эффект
(1) Низкая скорость
/Низкая нагрузка
Полностью
Продвигать
* Нижний клапан клапана
* Улучшение стабильности горения
Полностью
Замедлить
* Нижний клапан клапана
* Улучшение стабильности горения
(2) Частичная нагрузка
Замедлить
* Увеличение работы расширения
* Снижение насосных потерь
* Снижение НС
Замедлить
* Снижение насосных потерь
(3) Низкая скорость
/Высокая нагрузка
Замедлить
* Увеличение работы расширения
Продвигать
* Предотвращение обратного потока на впуске (улучшение объемной эффективности)
(4) Высокая скорость
/Высокая нагрузка
Продвигать
* Снижение насосных потерь
Замедлить
* Улучшение объемной эффективности

GPF (бензиновый сажевый фильтр) Процедуры ремонта
Регенерация ГПФ Эта процедура предназначена для принудительной регенерации GPF с помощью сканирующего прибора, когда GPF не регенерировался во время движения. Например, если автомобиль имеет р ...

Управление двигателем/топливная система
...
Дополнительная информация:

Hyundai Kona (OS) 2018-2023 Service Manual: Описание и работа
Описание Состояние охранной сигнализации [состояние B/A] Б/А государство Описание СНЯТЬ С ОХРАНЫ 1) В состоянии «DISARM» запрет запуска автомобиля отсутствует. Так когда дверь, капот или Тай...

Hyundai Kona (OS) 2018-2023 Руководство по техническому обслуживанию: Задняя ступица - Carrier Компоненты и расположение компонентов
Компоненты 1. Тормозной диск 2. Подшипник ступицы 3. Пылезащитный чехол 4. Задний багажник в сборе ...