#заголовок

Hyundai Sonata: Головка блока цилиндров в сборе / Процедуры ремонта CVVT и распределительного вала

Удаление
1.
Снимите крышку головки блока цилиндров.
(См. раздел Головка цилиндра в сборе — «Крышка головки цилиндра»)
2.
Поверните демпферный шкив коленчатого вала так, чтобы поршень № 1 находился в верхней мертвой точке.
(1)
Поверните шкив демпфера коленчатого вала и совместите его канавку с метка на крышке цепи привода ГРМ (метка 0° на шкала).

(2)
Убедитесь, что установочные метки ВМТ на впускном и выпускном клапанах Звездочки CVVT расположены по прямой линии на поверхности головки блока цилиндров, т.к. показано на картинке. Если нет, поверните шкив демпфера коленчатого вала на один оборот (360°).

Не поворачивайте демпферный шкив коленчатого вала против часовой стрелки.
(3)
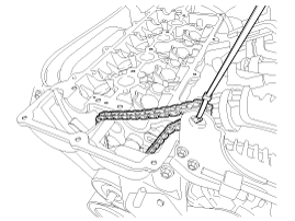
Пометьте звенья цепи ГРМ, соответствующие меткам ГРМ на звездочках CVVT, несмываемым маркером.

3.
Снимите переходник (А) клапана управления выпускным маслом (OCV).

4.
Снимите крышки подшипников распределительных валов (А) в порядке, показанном на рисунке.

5.
Снимите опорный кронштейн крепления двигателя.
(1)
Ставим домкрат под масляный поддон.
Поместите деревянный брусок между домкратом и масляным поддоном, чтобы не повредить масляный поддон.
(2)
Отсоедините кабель заземления двигателя (А).

(3)
Снимите опорный кронштейн крепления двигателя (А).

(4)
Слегка приподнимите двигатель с помощью домкрата, чтобы освободить место для снятия натяжителя цепи привода ГРМ.
6.
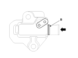
Выверните болт (А) из сервисного отверстия в крышке цепи привода ГРМ.

7.
Заблокируйте натяжитель цепи ГРМ в полностью втянутом положении.
(1)
Вставьте отмычку в сервисное отверстие в крышке цепи привода ГРМ. и опустите отверстие в левой части храповой пластины (A) на натяжителя, чтобы собачка (B: находилась внутри натяжителя за трещотка) для подъема.

(2)
Когда собачка поднята, попросите помощника поднять выпускной CVVT. и распределительный вал (A), чтобы позволить плунжеру натяжителя (B) втянуться.

(3)
Когда поршень натяжителя находится в полностью втянутом положении, снова поднимите отверстие в левой части храповой пластины (A) через сервисное отверстие в крышке цепи, чтобы совместить отверстие храповой пластины с отверстие в корпусе натяжителя за храповой пластиной, затем зафиксируйте натяжитель, вставив отмычку через храповую пластину и натяжитель отверстия кузова.

8.
Отделите распределительный вал выпускных клапанов (А) от выпускного CVVT, отвернув болт.

9.
Снимите выпускной CVVT (A) с цепи привода ГРМ.

10.
Снимите впускной CVVT и распределительный вал (A).

Закрепите цепь ГРМ на подвеске двигателя с помощью кабельной стяжки. или ремень, чтобы цепь ГРМ не упала при снятии впуск CVVT и распределительный вал.

11.
Снимите впускной CVVT (A) с впускного распределительного вала (B).

При снятии болта CVVT удерживайте шестигранную часть (B) распределительного вала с помощью гаечного ключа, чтобы предотвратить вращение распределительного вала.
осмотр
распределительный вал
1.
Измерьте высоту выступа кулачка с помощью микрометра и проверьте поверхность выступа кулачка на предмет износа. Если необходимо, замените распределительный вал.

Высота кулачка
Впуск: 44,15 мм (1,738 дюйма)
Выхлоп: 43,55 мм (1,715 дюйма)

2.
Проверьте поверхность шейки распределительного вала на предмет износа. Если шейка распределительного вала сильно повреждена, замените распределительный вал.
3.
Проверьте зазор шейки распределительного вала.
(1)
Очистите шейки распределительных валов и крышки подшипников.
(2)
Поместите распределительные валы в головку блока цилиндров.
(3)
Наложите полоску пластигажа на каждую шейку распределительного вала.

(4)
Установите крышки подшипников и затяните болты с указанным моментом.

Момент затяжки
1-й шаг
Болт M6: 5,9 Н·м (0,6 кгс·м, 4,3 фунт-фут)
Болт M8: 9,8 Н·м (1,0 кгс·м, 7,2 фунт-фут)
2-й шаг
Болты М6:
11,8 ~ 13,7 Н·м (1,2 ~ 1,4 кгс·м, 8,7 ~ 10,1 фунт-фут)
Болты М8:
18,6 ~ 22,6 Н·м (1,9 ~ 2,3 кгс·м, 13,7 ~ 16,6 фунт-фут)

Не поворачивайте распределительный вал.
(5)
Снимите крышки подшипников.
(6)
Измерьте пластигаж в самом широком месте. Если зазор больше, чем указано в спецификации, замените распределительный вал. Если необходимо, замените крышки подшипников и головку блока цилиндров в комплекте.

Масляный зазор крышки подшипника распределительного вала
Стандарт:
0,027 ~ 0,058 мм (0,0011 ~ 0,0023 дюйма)
Предел: 0,1 мм (0,0039 дюйма)

4.
Осмотрите осевой люфт распределительного вала.
(1)
Осмотрите осевой люфт распределительного вала.
(2)
Измерьте осевой люфт при перемещении распределительного вала вперед и назад. с помощью стрелочного индикатора. Если осевой люфт больше указанного в спецификации, замените распределительный вал. При необходимости замените крышки подшипников и ГБЦ в комплекте.

Осевой люфт распределительного вала
Стандарт: 0,1 ~ 0,2 мм (0,0039 ~ 0,0079 дюйма)

(3)
Снимите распределительные валы.
CVVT (с бесступенчатой ​​регулировкой фаз газораспределения) в сборе
1.
Осмотрите CVVT на плавность вращения.
(1)
Зажмите распределительный вал с помощью тисков. Будьте осторожны, чтобы не повредить выступы кулачка и шейки в тисках.
(2)
Убедитесь, что CVVT заблокирован, повернув его по часовой стрелке или против часовой стрелки. Он не должен вращаться.
(3)
Впускной CVVT: Заклейте одно из двух отверстий опережения в шейке распределительного вала лентой.
Выпускной CVVT: Заклейте одно из двух отверстий замедления в шейке распределительного вала лентой.

(4)
Впуск CVVT : Нанести прибл. 150 кПа (1,5 кгс/см², 21 фунт/кв. дюйм) сжатого воздуха в незапечатанное отверстие подачи, чтобы разблокировать замок.
Выхлоп CVVT : Приблиз. 150 кПа (1,5 кгс/см², 21 фунт/кв. дюйм) сжатого воздуха в незагерметизированное отверстие замедлителя, чтобы разблокировать замок.
При подаче сжатого воздуха накрывайте масляные каналы куском ткани, чтобы предотвратить разбрызгивание масла.
(5)
Впускной CVVT: При подаче сжатого воздуха поверните CVVT. в направлении продвижения (против часовой стрелки) в пределах своего фазового диапазона и убедитесь, что CVVT вращается плавно.
Выпускной CVVT: При подаче сжатого воздуха поверните CVVT. в направлении замедления (по часовой стрелке) и убедитесь, что CVVT поворачивается плавно.

Диапазон фаз CVVT
Впуск: 25°±1° (от самого замедленного положения до самого переднего положения)
Выпуск: 20°±1° (от самого переднего положения до самого отсталого положения)

(6)
Впускной CVVT: Поверните CVVT в крайнее заднее положение (по часовой стрелке), а затем убедитесь, что CVVT заблокирован.
Выпуск CVVT: Поверните CVVT в крайнее переднее положение (против часовой стрелки), а затем убедитесь, что CVVT заблокирован.
Монтаж
1.
Установите впускной CVVT (A) на впускной распределительный вал.

Момент затяжки :
63,7 ~ 73,5 Н·м (6,5 ~ 7,5 кгс·м, 47,0 ~ 54,2 фунт-фут)

При установке болта CVVT удерживайте шестигранную часть (B) на распределительный вал с помощью ключа, чтобы предотвратить вращение распределительного вала.
2.
Установите впускной CVVT и распределительный вал (A) с синхронизацией. метка на впускной звездочке CVVT совмещена с меткой (окрашенное звено) на цепь ГРМ.

3.
Установите выпускной CVVT (A) с установочной меткой на выпускная звездочка CVVT совмещена с меткой (нарисовано звено) на ГРМ цепь.

4.
Установите распределительный вал выпускных клапанов (А) на выпускной CVVT.

Момент затяжки :
63,7 ~ 73,5 Н·м (6,5 ~ 7,5 кгс·м, 47,0 ~ 54,2 фунт-фут)

5.
Выньте отмычку из сервисного отверстия в крышке цепи привода ГРМ.

6.
Убедитесь, что все установочные метки на впускной и выпускной звездочках CVVT совмещены, как показано на рисунке.

7.
Установите болт (А) в сервисное отверстие в крышке цепи привода ГРМ.

Момент затяжки :
27,5 ~ 30,4 Н·м (2,8 ~ 3,1 кгс·м, 20,3 ~ 22,4 фунт-фут)

8.
Установите опорный кронштейн крепления двигателя.
(1)
Установите опорный кронштейн крепления двигателя (А).

Момент затяжки
88,3 ~ 107,9 Н·м (9,0 ~ 11,0 кгс·м, 65,1 ~ 79,6 фунт-фут)

(2)
Подсоедините кабель заземления двигателя (А).

Момент затяжки :
10,8 ~ 13,7 Н·м (1,1 ~ 1,4 кгс·м, 8,0 ~ 10,1 фунт-фут)

(3)
Снимите домкрат с масляного поддона.
9.
Установите крышки подшипников распределительных валов (А) в порядке, показанном на рисунке, и затяните болты с указанным моментом.

Момент затяжки
1-й шаг
Болт M6: 5,9 Н·м (0,6 кгс·м, 4,3 фунт-фут)
Болт M8: 9,8 Н·м (1,0 кгс·м, 7,2 фунт-фут)
2-й шаг
Болты М6:
11,8 ~ 13,7 Н·м (1,2 ~ 1,4 кгс·м, 8,7 ~ 10,1 фунт-фут)
Болты М8:
18,6 ~ 22,6 Н·м (1,9 ~ 2,3 кгс·м, 13,7 ~ 16,6 фунт-фут)

10.
Установите переходник (A) клапана управления выпускным маслом (OCV).

Момент затяжки :
9,8 ~ 11,8 Н·м (1,0 ~ 1,2 кгс·м, 7,2 ~ 8,7 фунт-фут)

При установке адаптера OCV убедитесь, что уплотнительное кольцо крышки переднего подшипника распределительного вала правильно установлено на место.
11.
Установите крышку головки блока цилиндров.
(См. раздел Головка цилиндра в сборе — «Крышка головки цилиндра»)
Описание и работа CVVT и распределительного вала
Описание Система непрерывного изменения фаз газораспределения (CVVT) опережает или задерживает фазы газораспределения впускного и выпускного клапанов в соответствии с управляющим сигналом ECM, который рассчитывается ...
Компоненты головки блока цилиндров и расположение компонентов
Компоненты 1. Головка цилиндра в сборе2. МЛА3. Стопорный замок4. Фиксатор 5. Сальник штока клапана6. Пружина клапана7. Седло пружины клапана8. OCV (масляный регулирующий клапан)9. Выпускной клапан10. Впускной клапан 11. Цилиндр ч...
Дополнительная информация:

Руководство по эксплуатации Hyundai Sonata LF 2014-2019: Функции автоматической блокировки/разблокировки дверей
Система разблокировки дверей с датчиком удара Все двери будут автоматически разблокированы, когда удар приведет к срабатыванию подушек безопасности. развертывать. Система дверных замков с датчиком скорости Все двери будут автоматически заблокированы, когда скорость автомобиля превысит 9 миль/ч (15 км/ч). Все двери будут автоматически разблокированы после того, как двигатель...

Руководство по эксплуатации Hyundai Sonata LF 2014-2019: Распределение герметика
11. Немедленно проедьте примерно 4–6 миль (7–10 км или около 10 минут) до равномерно распределите герметик в шине. Не превышайте скорость 50 миль/ч (80 км/ч). По возможности не опускайтесь ниже скорости 12 миль в час (20 км/ч). Если во время вождения вы испытываете необычную вибрацию, помехи при движении...

avtotema.org