#заголовок

Hyundai Sonata: головка блока цилиндров в сборе / CVVT и распределительный вал, описание и работа

Описание
Система непрерывного изменения фаз газораспределения (CVVT) опережает или задерживает фазы газораспределения впускного и выпускного клапанов в соответствии с управляющим сигналом ECM, который рассчитывается по частоте вращения двигателя и нагрузка.
При управлении CVVT происходит перекрытие или недопуск клапана, что обеспечивает лучшую экономию топлива и уменьшает выхлопные газы (NOx, HC) и улучшает работу двигателя за счет снижения насосных потерь, внутреннего Эффект EGR, улучшение стабильности сгорания, улучшение объемный КПД и увеличение работы расширения.
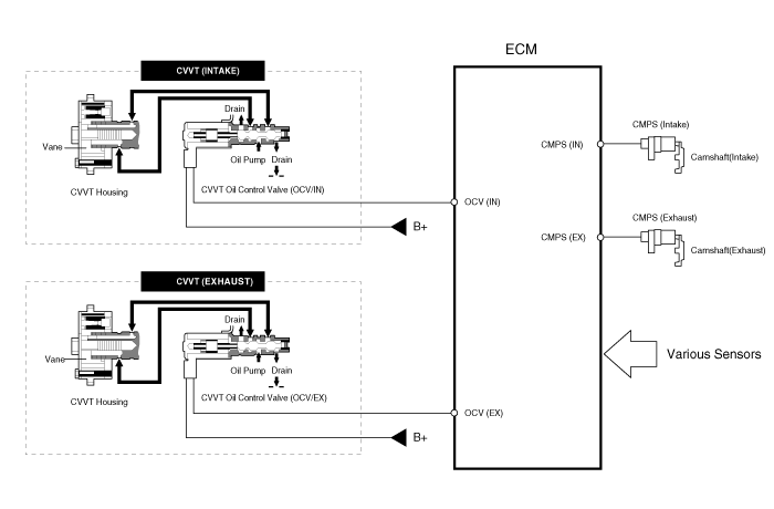
Эта система состоит из
-
масляный регулирующий клапан CVVT (OCV), который снабжает двигатель масло в фазовращатель или вытекает моторное масло из фазовращателя в в соответствии с управляющим сигналом ECM PWM (Pulse With Modulation),
-
датчик температуры масла CVVT (OTS), который измеряет температуру моторного масла,
-
и Cam Phaser, который изменяет фазу кулачка, используя гидравлическую силу моторного масла.
Моторное масло, вытекающее из клапана управления маслом CVVT изменяет фазу кулачка в направлении (опережение впуска/запаздывание выпуска) или направление, противоположное двигателю (замедление впуска/опережение выпуска) вращение за счет вращения ротора, соединенного с распределительным валом внутри кулачковый фазер.

Принцип работы
CVVT имеет механизм, вращающий лопасть ротора с гидравлическая сила, создаваемая моторным маслом, подаваемым на опережение или камеру замедления в соответствии с управлением масляным клапаном CVVT.

[Системный режим CVVT]

(1) Низкая скорость/низкая нагрузка
(2) Частичная нагрузка


(3) Низкая скорость/высокая нагрузка
(4) Высокая скорость/высокая нагрузка



Вождение
Состояние
Выхлопной клапан
Впускной клапан
Клапан
Сроки
Эффект
Клапан
Сроки
Эффект
(1) Низкая скорость
/Низкая нагрузка
Полностью
Продвигать
* Нижний клапан клапана
* Улучшение стабильности горения
Полностью
Замедлить
* Нижний клапан клапана
* Улучшение стабильности горения
(2) Частичная нагрузка
Замедлить
* Увеличение работы расширения
* Снижение насосных потерь
* Снижение НС
Замедлить
* Снижение насосных потерь
(3) Низкая скорость
/Высокая нагрузка
Замедлить
* Увеличение работы расширения
Продвигать
* Предотвращение обратного потока на впуске (улучшение объемной эффективности)
(4) Высокая скорость
/Высокая нагрузка
Продвигать
* Снижение насосных потерь
Замедлить
* Улучшение объемной эффективности

Компоненты и расположение компонентов CVVT и распределительного вала
Компоненты 1. Распредвал выпускных клапанов2. Впускной распределительный вал3. Выпускной CVVT 4. Впускной CVVT 5. Крышка подшипника распределительного вала6. Крышка переднего подшипника распределительного вала7. уплотнительное кольцо8. Адаптер OCV (масляный регулирующий клапан) ...
Процедуры ремонта CVVT и распределительного вала
Удаление 1. Снимите крышку головки блока цилиндров. (См. раздел Головка цилиндра в сборе — «Крышка головки цилиндра») 2. Поверните демпферный шкив коленчатого вала так, чтобы поршень № 1 находился в верхней мертвой точке. (1) Ту ...
Дополнительная информация:

Руководство по эксплуатации Hyundai Sonata LF 2014-2019: Зеркало для слепых зон
Зеркало для слепых зон (BSM) — это дополнительное зеркало, которое снижает нагрузку на водителя. слепое пятно, показывая заднюю часть автомобиля. Зеркало для слепых зон есть на левом боковом зеркале. ПРЕДУПРЕЖДЕНИЕ Всегда проверяйте состояние дороги во время вождения на предмет непредвиденных ситуаций. событие ...

Hyundai Sonata LF 2014-2019 Руководство по техническому обслуживанию: Процедуры ремонта термостата
Удаление Демонтаж термостата имел бы неблагоприятный эффект, вызывая снижение эффективности охлаждения. 1. Слейте охлаждающую жидкость двигателя так, чтобы ее уровень был ниже высоты термостата. 2. Снимите нижний шланг радиатора. (См. Система охлаждения - "Шланг радиатора...

avtotema.org