Kia Rio: Заднее сиденье / Чехол на подушку заднего сиденья

Kia Rio 2017-2023 YB Руководство по ремонту / Кузов (внутри и снаружи) / Заднее сидение / Чехол на подушку заднего сиденья

Компоненты и расположение компонентов
Расположение компонента

1. Чехол подушки заднего сиденья

Процедуры ремонта
Замена

Наденьте перчатки, чтобы защитить руки.

Используйте инструмент для снятия пластиковой панели, чтобы удалить элементы внутренней отделки. не портя поверхность.

Будьте осторожны, чтобы не погнуть и не поцарапать обивку и панели.

1.

Снимите сиденье в сборе.

(См. Заднее сиденье — «Заднее сиденье в сборе»)

2.

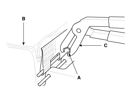
Снимите обивку подушки заднего сиденья (А) после снятия зажимов. на задней части чехла подушки сиденья.

3.

Установите в порядке, обратном снятию.

Убедитесь, что разъемы подключены правильно.

Замените все поврежденные клипсы.

Во избежание складок убедитесь, что материал натянут равномерно по крышке (B), прежде чем закрепить зажимы (А).

Замените хомуты на новые, используя специальные инструмент (С) (09880-4F000).

Крышка спинки заднего сиденья
Компоненты и расположение компонентов Расположение компонента 1. Обивка спинки заднего сиденья [левая] 2. Обивка спинки заднего сиденья [правая] Процедуры ремонта Заменять ...
Задний ремень безопасности
...
Дополнительная информация:

Kia Rio 2017-2023 YB Руководство по обслуживанию: Каркас переднего сиденья в сборе


Компоненты и расположение компонентов Расположение компонента 1. Каркас спинки переднего сиденья в сборе 2. Каркас подушки переднего сиденья в сборе Процедуры ремонта Замена Надевать ...

Руководство по эксплуатации Kia Rio 2017-2023 YB: Автоматическая система климат-контроля


1. Поверните ключ зажигания в положение ON. 2. Выберите положение антиобледенителя, прежде чем нажимать кнопку антиобледенителя (). 3. Удерживая нажатой кнопку кондиционера (A/C), нажмите на регулятор воздухозаборника. кнопка () не менее 5 раз в течение 3 секунды. Индикатор на кнопке забора воздуха бли...