Kia Rio: Заднее сиденье / Чехол на спинку заднего сиденья

Kia Rio 2017-2023 YB Руководство по ремонту / Кузов (внутри и снаружи) / Заднее сидение / Чехол на спинку заднего сиденья

Компоненты и расположение компонентов
Расположение компонента

1. Обивка спинки заднего сиденья [левая]
2. Обивка спинки заднего сиденья [правая]

Процедуры ремонта
Замена

Наденьте перчатки, чтобы защитить руки.

Используйте инструмент для снятия пластиковой панели, чтобы удалить элементы внутренней отделки. не портя поверхность.

Будьте осторожны, чтобы не погнуть и не поцарапать обивку и панели.

[левый]

1.

Снимите заднее сиденье в сборе.

(См. Заднее сиденье — «Заднее сиденье в сборе»)

2.

Нажмите на стопорный штифт и снимите подголовник заднего сиденья (А).

3.

Снимите направляющую ремня спинки заднего сиденья (А) с помощью съемника.

4.

Снимите верхнюю крышку лицевой панели (А) с помощью съемника.

5.

Снимите крышку дочернего анкера (A) с помощью съемника.

6.

Отсоедините пыльник спинки заднего сиденья (А).

7.

Снимите зажимы кольца (A).

8.

Расстегните боковую молнию спинки сиденья (А).

9.

Снимите заднюю панель (A) после снятия зажимов.

10.

Снимите зажимы крепления задней крышки (А).

11.

Нажмите на направляющие подголовника заднего сиденья (А), одновременно зажимая обе стороны подголовника. нижнюю часть направляющих и снимите их.

12.

Снимите обивку спинки заднего сиденья с рамы.

13.

Снимите обивку спинки переднего сиденья (C) после удаления ленты-липучки. (A) и кольцевой зажим (B).

14.

Установите в порядке, обратном снятию.

Убедитесь, что разъемы полностью подключены

Замените все поврежденные зажимы (или фиксаторы штифтового типа).

Во избежание складок убедитесь, что крышка (B) равномерно натянуты перед подключением борова - кольцевые зажимы (А).

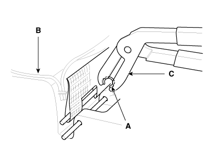
Замените хомуты на новые, используя специальные инструмент (С) (09880 - 4F000).

[Правый]

1.

Снимите заднее сиденье в сборе.

(См. Заднее сиденье — «Заднее сиденье в сборе»)

2.

Нажмите на стопорный штифт и снимите подголовник заднего сиденья (А).

3.

Снимите верхнюю крышку лицевой панели (А) с помощью съемника.

4.

Снимите крышку дочернего анкера (A) с помощью съемника.

5.

Отсоедините пыльник спинки заднего сиденья (А).

6.

Снимите зажимы кольца (A).

7.

Расстегните боковую молнию спинки сиденья (А).

8.

Снимите заднюю панель (A) после снятия зажимов.

9.

Снимите зажимы крепления задней крышки (А).

10.

Нажмите на направляющие подголовника заднего сиденья (А), одновременно зажимая обе стороны подголовника. нижнюю часть направляющих и снимите их.

11.

Снимите обивку спинки заднего сиденья с рамы.

12.

Снимите обивку спинки переднего сиденья (C) после удаления ленты-липучки. (A) и кольцевой зажим (B).

13.

Установите в порядке, обратном снятию.

Убедитесь, что разъемы подключены полностью.

Замените все поврежденные зажимы (или фиксаторы штифтового типа).

Во избежание складок убедитесь, что крышка (B) равномерно натянуты перед подключением борова - кольцевые зажимы (А).

Замените хомуты на новые, используя специальные инструмент (С) (09880 - 4F000).

Заднее сиденье в сборе
Компоненты и расположение компонентов Расположение компонента 1. Подушка заднего сиденья в сборе 2. Спинка заднего сиденья в сборе Процедуры ремонта Заменить ...
Чехол на подушку заднего сиденья
Компоненты и расположение компонентов Расположение компонента 1. Чехол подушки заднего сиденья Процедуры ремонта Замена ...
Дополнительная информация:

Руководство по эксплуатации Kia Rio 2017-2023 YB: Предупреждение об открытом капоте


Предупреждающее сообщение появится на ЖК-дисплее, когда капот открыт. Предупреждающий звуковой сигнал будет работать, когда автомобиль движется со скоростью 3 или выше. км/ч (2 мили в час) с открытым капотом. ВНИМАНИЕ - Незакрепленный капот двигателя Перед поездкой всегда дважды проверяйте, надежно ли закрыт капот. ...

Kia Rio 2017-2023 YB Руководство по эксплуатации: система разблокировки дверей с датчиком удара, функция автоматической блокировки/разблокировки дверей, определение скорости система блокировки дверей


Система разблокировки дверей с датчиком удара (при наличии) Все двери автоматически разблокируются, когда подушки безопасности раскроются в результате удара. Функция автоматической блокировки/разблокировки дверей (при наличии) • Все двери автоматически блокируются при переключении рычага переключения передач. из P (Парк). • Все двери будут ...