Kia Rio: система передней подвески / передняя стойка в сборе

Kia Rio 2017-2023 YB Руководство по ремонту / Подвесная система / Система передней подвески / Передняя стойка в сборе

Компоненты и расположение компонентов
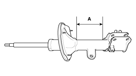
Расположение компонентов

1. Контргайка
2. Пылезащитный колпачок изолятора
3. Самостопорящаяся гайка
4. Изолятор стойки
5. Подшипник стойки
6. Верхнее сиденье пружины
7. Пружинная верхняя накладка
8. Спиральная пружина
9. Пылезащитный чехол
10. Резина бампера
11. Пружинная нижняя накладка
12. Амортизатор

Процедуры ремонта
Удаление
1.

Снимите колесные гайки, переднее колесо и шину с передней ступицы.

Момент затяжки:

107,9–127,5 Н·м (11,0–13,0 кгс·м, 79,6–94,0 фунт·фут)

Будьте осторожны, чтобы не повредить болты ступицы при снятии передней колесо и шина.

2.

Снимите верхнюю крышку капота.

(См. Корпус — «Верхняя крышка кожуха»)

3.

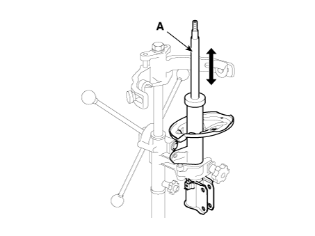
Снимите стопорные гайки стойки (А).

Момент затяжки:

49,0–58,8 Н·м (5,0–6,0 кгс·м, 36,2–43,4 фунт-фут)

4.

Снимите болт кронштейна тормозного шланга (А) и датчик скорости вращения колеса. болт кронштейна (В).

Момент затяжки:

A: 8,8–13,7 Н·м (0,9–1,4 кгс·м, 6,5–10,1 фунт·фут)

B: 7,8–11,8 Н·м (0,8–1,2 кгс·м, 5,8–8,7 фунт-фут)

5.

Снимите гайку стойки стабилизатора (А).

Момент затяжки:

98,0–117,6 Н·м (10,0–12,0 кгс·м, 72,3–86,7 фунт-фут)

При ослаблении гайки (А) зафиксируйте внешний шестигранник тяга стабилизатора поперечной устойчивости.

Будьте осторожны, чтобы не повредить пыльники стабилизатора поперечной устойчивости.

6.

Ослабьте болты и снимите узел стойки (А) с поворотного кулака.

Момент затяжки:

98,0–117,6 Н·м (10,0–12,0 кгс·м, 72,3–86,7 фунт-фут)

7.

Установите в порядке, обратном снятию.

Разборка
1.

Используя компрессор для пружин стоек, сожмите винтовую пружину.

Чтобы предотвратить отслаивание краски винтовой пружины, накройте спиральной пружины тонкой тканью или шлангом перед установкой компрессор пружин стоек.

Установите положение сжатия пружины стойки правильно, чтобы винтовая пружина не наклонялась при сжатии спиральная пружина.

2.

Используя SST (09546-3X100), ослабьте самоконтрящуюся гайку.

Момент затяжки:

68,6–78,5 Н·м (7,0–8,0 кгс·м, 50,6–57,9 фунт-фут)

3.

Снимите изолятор, седло пружины, цилиндрическую пружину и пылезащитный кожух с сборка стойки.

4.

Сборка обратна разборке.

осмотр
1.

Проверьте изолятор стойки на предмет износа или повреждений.

2.

Проверьте резиновые детали на наличие повреждений или износа.

3.

Сожмите и выдвиньте шток поршня (А) и убедитесь в отсутствии аномальных сопротивление или необычный звук во время работы.

Утилизация

1.

Полностью выдвиньте шток поршня.

2.

Просверлите отверстие в секции А, чтобы удалить газ из баллона.

Система передней подвески
Компоненты и расположение компонентов Расположение компонентов 1. Коробка передач 2. Стабилизатор 3. Карданный вал 4. Звено стабилизатора 5. Амортизатор 6. Передний мост...
Передний нижний рычаг
Процедуры ремонта Удаление 1. Снимите колесные гайки, переднее колесо и шину с передней ступицы. Момент затяжки: 107,9 - 127,5 Н·м (11,0 - 13,0 кгс·м, 79 ...
Дополнительная информация:

Kia Rio 2017-2023 YB Руководство по обслуживанию: Люк на крыше


Компоненты и расположение компонентов Компоненты 1. Солнцезащитный козырек люка в сборе 2. Стеклянная панель люка в сборе 3. Направляющая люка в сборе 4. Дефлектор люка в сборе 5. Подрамник люка в сборе 6. Двигатель люка в сборе 7. Капельница люка ...

Kia Rio 2017-2023 YB Service Manual: поршень и шатун


Процедуры ремонта Разборка • Используйте накладки на крылья, чтобы не повредить окрашенные поверхности. • Чтобы не повредить головку блока цилиндров, подождите, пока двигатель заглохнет...