Kia Rio: Переднее сиденье / Чехол на подушку переднего сиденья

Kia Rio 2017-2023 YB Руководство по ремонту / Кузов (внутри и снаружи) / Переднее сиденье / Чехол на подушку переднего сиденья

Компоненты и расположение компонентов
Расположение компонента

1. Чехол подушки переднего сиденья


Процедуры ремонта
Замена

Наденьте перчатки, чтобы защитить руки.

Используйте инструмент для снятия пластиковой панели, чтобы удалить элементы внутренней отделки. не портя поверхность.

Будьте осторожны, чтобы не погнуть и не поцарапать обивку и панели.

1.

Снимите внешний кожух переднего сиденья.

(См. Переднее сиденье — «Внешний защитный кожух переднего сиденья»)

2.

Снимите внутренний кожух переднего сиденья.

(См. Переднее сиденье — «Внутренний защитный кожух переднего сиденья»)

3.

Снимите нижний защитный кожух спинки переднего сиденья (А).

4.

Отсоедините разъем отопителя (А).

5.

Вытащите протекторы (А), а затем чехол подушки переднего сиденья из Каркас подушки переднего сиденья.

[ниже]

[левый]

[Правый]

6.

Снимите чехол подушки переднего сиденья (А) с рамы подушки переднего сиденья.

7.

Снимите чехол подушки переднего сиденья (C) с передней части подушки сиденья. раму после удаления ленты-липучки (A) и зажимов с кольцами (B).

8.

Установите в порядке, обратном снятию.

Убедитесь, что разъемы полностью подключены

Замените все поврежденные зажимы (или фиксаторы штифтового типа).

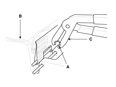
Во избежание складок убедитесь, что крышка (B) равномерно натянуты перед подключением борова - кольцевые зажимы (А).

Замените хомуты на новые, используя специальные инструмент (С) (09880 - 4F000).

Задняя крышка переднего сиденья
Компоненты и расположение компонентов Расположение компонента 1. Обивка спинки переднего сиденья Процедуры ремонта Замена ...
Каркас переднего сиденья в сборе
Компоненты и расположение компонентов Расположение компонента 1. Каркас спинки переднего сиденья в сборе 2. Каркас подушки переднего сиденья в сборе Процедуры ремонта ...
Дополнительная информация:

Kia Rio 2017-2023 YB Руководство по ремонту: Стекло передней двери


Компоненты и расположение компонентов Расположение компонента 1. Стекло передней двери Процедуры ремонта Замена Наденьте перчатки, чтобы защитить руки. ...

Руководство по эксплуатации Kia Rio 2017-2023 YB: Система контроля давления в шинах (TPMS - тип A)


(1) Сигнализатор низкого давления в шинах/индикатор неисправности TPMS Каждую шину, включая запасную (если имеется), следует проверять ежемесячно при холодный и накачанный до давления накачки, рекомендованного производителем транспортного средства на табличке транспортного средства или на табличке давления в шинах. (Если ваш автомобиль...