Kia Rio: переднее сиденье / задняя крышка переднего сиденья

Kia Rio 2017-2023 YB Руководство по ремонту / Кузов (внутри и снаружи) / Переднее сиденье / Чехол на спинку переднего сиденья

Компоненты и расположение компонентов
Расположение компонента

1. Обивка спинки переднего сиденья


Процедуры ремонта
Замена

Наденьте перчатки, чтобы защитить руки.

Используйте инструмент для снятия пластиковой панели, чтобы удалить элементы внутренней отделки. не портя поверхность.

Будьте осторожны, чтобы не погнуть и не поцарапать обивку и панели.

1.

Снимите внешний кожух переднего сиденья.

(См. Переднее сиденье — «Внешний защитный кожух переднего сиденья»)

2.

Снимите внутренний кожух переднего сиденья.

(См. Переднее сиденье — «Внутренний защитный кожух переднего сиденья»)

3.

Поднимите подголовник переднего сиденья (А).

4.

Снимите нижний защитный кожух спинки переднего сиденья (А).

5.

Снимите стопорное кольцо задней крышки переднего сиденья.

6.

Откройте молнию спинки переднего сиденья (А) и потяните ее вверх.

7.

Отсоедините нижний протектор обивки спинки переднего сиденья.

8.

Отсоедините монтажный зажим разъема подушки безопасности (А) и разъем отопителя. (Б).

9.

Выверните спинку переднего сиденья наизнанку. Затем вытяните и снимите направляющие подголовника (A), одновременно зажимая обе стороны нижней части направляющих.

10.

Снимите обивку спинки переднего сиденья (А) с рамы спинки переднего сиденья.

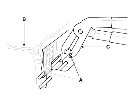
11.

Снимите заднюю крышку переднего сиденья (C) с передней части каркаса спинки сиденья. после удаления ленты-липучки (A) и зажимов с кольцами (B).

12.

Установите в порядке, обратном снятию.

Убедитесь, что разъемы подключены полностью.

Замените все поврежденные зажимы (или фиксаторы штифтового типа).

Во избежание складок убедитесь, что крышка (B) равномерно натянуты перед подключением борова - кольцевые зажимы (А).

Замените хомуты на новые, используя специальные инструмент (С) (09880 - 4F000).

Внутренняя крышка экрана переднего сиденья
Компоненты и расположение компонентов Расположение компонента 1. Внутренняя крышка щитка переднего сиденья Процедуры ремонта Замена ...
Чехол на подушку переднего сиденья
Компоненты и расположение компонентов Расположение компонента 1. Чехол подушки переднего сиденья Процедуры ремонта Замена ...
Дополнительная информация:

Kia Rio 2017-2023 YB Руководство по ремонту: Боковой спойлер


Процедуры ремонта Замена Наденьте перчатки, чтобы защитить руки. • Используйте инструмент для снятия пластиковой панели, чтобы удалить ...

Kia Rio 2017-2023 YB Руководство по эксплуатации: Воздушный фильтр климат-контроля


Воздушный фильтр климат-контроля, установленный за перчаточным ящиком, фильтрует пыль. или другие загрязняющие вещества, которые попадают в автомобиль снаружи через систему отопления. и система кондиционирования воздуха. Если в фильтре скапливается пыль или другие загрязнители в течение определенного периода времени поток воздуха от ИИ ...