Kia Picanto: система передней подвески / передняя стойка в сборе

Руководство по ремонту и обслуживанию Kia Picanto JA 2017-2023 гг. / Подвесная система / Система передней подвески / Передняя стойка в сборе

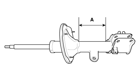
Компоненты и расположение компонентов
Расположение компонентов

1. Контргайка
2. Пылезащитный колпачок изолятора
3. Самостопорящаяся гайка
4. Изолятор стойки
5. Подшипник стойки
6. Верхнее сиденье пружины
7. Пружинная верхняя накладка
8. Спиральная пружина
9. Пылезащитный чехол
10. Резина бампера
11. Пружинная нижняя накладка
12. Амортизатор

Процедуры ремонта
Удаление
1.
Снимите шину переднего/заднего колеса (А).
Момент затяжки:
107,9–127,5 Н·м (11,0–13,0 кгс·м, 79,6–94,0 фунт·фут)

Будьте осторожны, чтобы не повредить колесные гайки при снятии переднего колеса и шины.
2.
Ослабьте болт и снимите датчик скорости вращения колеса.
Момент затяжки:
6,9–10,8 Н·м (0,7–1,1 кгс·м, 5,1–8,0 фунт·фут)

3.
Снимите гайку стойки стабилизатора.
Момент затяжки:
49,0–58,8 Н·м (5,0–6,0 кгс·м, 36,2–43,4 фунт-фут)

При ослаблении гайки зафиксируйте внешний шестигранник тяги стабилизатора поперечной устойчивости.
Будьте осторожны, чтобы не повредить пыльники стабилизатора поперечной устойчивости.
4.
Снимите верхнюю крышку капота.
(См. Корпус — «Верхняя крышка кожуха»)
5.
Снимите крышку.

6.
Ослабьте гайку крепления передней стойки.
Момент затяжки:
49,0–58,8 Н·м (5,0–6,0 кгс·м, 36,2–43,4 фунт-фут)

7.
Ослабьте болты и снимите узел стойки (А) с поворотного кулака.
Момент затяжки:
98,0–117,6 Н·м (10,0–12,0 кгс·м, 72,3–86,7 фунт-фут)

8.
Установите в порядке, обратном снятию.
Разборка
1.
Используя компрессор для пружин стоек, сожмите винтовую пружину.
К предотвратить отслаивание краски винтовой пружины, покройте винтовую пружину тонкой тканью или шлангом перед установкой компрессора пружины стойки.
Установите положение сжатия пружины стойки так, чтобы винтовая пружина не наклонялась при сжатии винтовой пружины.
2.
Используя SST (09546-3X100), ослабьте самоконтрящуюся гайку.
Момент затяжки:
68,6–78,5 Н·м (7,0–8,0 кгс·м, 50,6–57,9 фунт-фут)

3.
Снимите изолятор, седло пружины, цилиндрическую пружину и пылезащитный чехол со стойки в сборе.
4.
Сборка обратна разборке.
осмотр
1.
Проверьте изолятор стойки на предмет износа или повреждений.
2.
Проверьте резиновые детали на наличие повреждений или износа.
3.
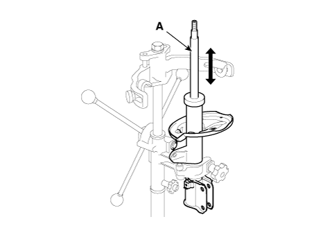
Сожмите и выдвиньте шток поршня (А) и убедитесь в отсутствии аномального сопротивления или необычного звука во время работы.

Утилизация
1.
Полностью выдвиньте шток поршня.
2.
Просверлите отверстие в секции А, чтобы удалить газ из баллона.

Система передней подвески
Компоненты и расположение компонентов Расположение компонентов 1. Подрамник 2. Стабилизатор поперечной устойчивости 3. Коробка передач 4. Наконечник рулевой тяги 5. Передняя нижняя часть 6. Тяга стабилизатора 7. Тормозной диск 8. Тормозной суппорт ...
Передний нижний рычаг
Процедуры ремонта Удаление 1. Снимите шину переднего/заднего колеса (А). Момент затяжки: 107,9–127,5 Н·м (11,0–13,0 кгс·м, 79,6–94,0 фунт·фут) Будь с ...
Дополнительная информация:

Руководство по ремонту и обслуживанию Kia Picanto JA 2017-2023: Преднатяжитель ремня безопасности (BPT)


Описание и работа Описание Преднатяжители ремней безопасности (BPT) установлены внутри центральной стойки (LH). & РХ). При столкновении транспортного средства с определенной степенью лобового удар, ремень безопасности с преднатяжителем помогает уменьшить тяжесть травмы пассажиров передних сидений в результате удара...

Kia Picanto JA 2017-2023 Руководство по эксплуатации: Стеклоомыватель


Проверка уровня омывающей жидкости Резервуар полупрозрачный, так что вы можно проверить уровень с помощью быстрого визуального осмотр. Проверить уровень жидкости в омывающей жидкости бачок и при необходимости долейте жидкость. Можно использовать обычную воду, если омывающая жидкость не доступен. Однако используйте шайбу с ...