Kia Cee'd: Процедуры ремонта системы ESP (электронной программы стабилизации) / модуля управления ESP

Удаление [левосторонний]
1.
Выключите зажигание.
2.
Потяните вверх фиксатор разъема HECU (A), затем отсоедините разъем.

3.
Удалите тормозную жидкость из бачка главного цилиндра с помощью шприца.
Обязательно полностью удалите посторонние вещества из вокруг бачка с тормозной жидкостью и крышки перед открытием крышка резервуара. В противном случае это может привести к загрязнению тормозной жидкости и снижение эффективности торможения.
Не проливайте тормозную жидкость на автомобиль, это может повредить краска; если тормозная жидкость попала на краску, промойте его немедленно с водой.
4.
Отсоедините тормозные трубки от HECU, отвернув гайки против часовой стрелки. с помощью гаечного ключа.
Момент затяжки:
A: 12,7 ~ 16,7 Н·м (1,3 ~ 1,7 кгс·м, 9,4 ~ 12,3 фунт-фут)
B: 18,6 ~ 22,6 Н·м (1,9 ~ 2,3 кгс·м, 13,7 ~ 16,6 фунт-фут)

5.
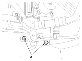
Ослабьте гайки кронштейна HECU (A), затем снимите HECU и кронштейн.
Момент затяжки :
16,7 ~ 25,5 Н·м (1,7 ~ 2,6 кгс·м, 12,3 ~ 18,8 фунт-фут)

1)
Никогда не пытайтесь разбирать HECU.
2)
Никогда не подвергайте HECU ударам.
6.
Выверните 3 болта, затем снимите кронштейн с HECU.
Момент затяжки :
7,8 ~ 9,8 Н·м (0,8 ~ 1,0 кгс·м, 5,8 ~ 7,2 фунт-фут)
Удаление [RHD]
1.
Выключите зажигание и отсоедините отрицательный (-) кабель аккумуляторной батареи.
2.
Извлеките аккумулятор.
(См. Электрическая система двигателя — «Аккумуляторная батарея»)
3.
Снимите ЕСМ.
(См. Блок управления двигателем/топливная система — «Модуль управления двигателем»)
4.
Потяните вверх замок разъема HECU (A), а затем отсоедините разъем.

5.
Удалите тормозную жидкость из бачка главного цилиндра с помощью шприца.
Обязательно полностью удалите посторонние вещества из вокруг бачка с тормозной жидкостью и крышки перед открытием крышка резервуара. В противном случае это может привести к загрязнению тормозной жидкости и снижение эффективности торможения.
Не проливайте тормозную жидкость на автомобиль, это может повредить краска; если тормозная жидкость попала на краску, промойте его немедленно с водой.
6.
Отсоедините тормозные трубки от HECU, отвернув гайки против часовой стрелки. с помощью гаечного ключа.
Момент затяжки :
12,7 ~ 16,7 Н·м (1,3 ~ 1,7 кгс·м, 9,4 ~ 12,3 фунт-фут)
18,6 ~ 22,6 Н·м (1,9 ~ 2,3 кгс·м, 13,7 ~ 16,6 фунт-фут)

7.
Ослабьте гайки кронштейна HECU (A), затем снимите HECU и кронштейн.
Момент затяжки :
16,7 ~ 25,5 Н·м (1,7 ~ 2,6 кгс·м, 12,3 ~ 18,8 фунт-фут)

1)
Никогда не пытайтесь разбирать HECU.
2)
Никогда не подвергайте HECU ударам.
8.
Выверните 3 болта и снимите кронштейн с HECU.
Момент затяжки :
7,8 ~ 9,8 Н·м (0,8 ~ 1,0 кгс·м, 5,8 ~ 7,2 фунт-фут)
Монтаж
1.
Установите в порядке, обратном снятию.
2.
Затяните крепежные болты и гайки HECU с указанным моментом.
3.
После установки прокачайте тормозную систему.
(См. кровотечение ESP)
4.
При замене HECU всегда выполняйте вариантное кодирование.
В случае замены HECU используйте следующие функции.
1)
«Калибровка датчика угла поворота рулевого колеса» для угла поворота рулевого колеса коррекция смещения датчика.
2)
«Калибровка продольного датчика» для продольного датчика коррекция смещения.
Вариантное кодирование
1.
Подключите GDS к разъему канала передачи данных.
2.
Включите зажигание.
3.
Выберите название автомобиля и систему.
4.
Выберите вариант кодирования.
5.
Выполните вариантное кодирование в соответствии с инструкциями на экране.

6.
Зажигание «ВЫКЛ», а затем зажигание «ВКЛ».
7.
Вариантное кодирование завершено.
Компоненты модуля управления ESP и их расположение
Компоненты 1. Передняя левая труба 2. Задняя - правая трубка 3. Задняя - левая трубка 4. Передняя правая труба 5. МС2 6. МС1 7. Модуль управления ESP (HECU) ...
Датчик скорости рыскания и поперечного ускорения Описание и работа
Описание Когда автомобиль поворачивается относительно вертикальной оси, датчик скорости рыскания электронно определяет скорость рыскания по изменению вибрации пластинчатой ​​вилки внутри они ...
Дополнительная информация:

Руководство по обслуживанию Kia Cee'd JD: Процедуры ремонта решетки радиатора
Замена • Наденьте перчатки, чтобы защитить руки. • Использовать ...

Руководство по обслуживанию Kia Cee'd JD: Процедуры ремонта выключателя фонаря заднего хода
осмотр 1. Снимите воздушный фильтр в сборе. (См. Механическая система двигателя — «Воздушный фильтр») 2. Снимите батарею и поддон для батареи. (См. Электрическая система двигателя — «Аккумулятор») ...

avtotema.org