Kia Stonic: Блок управления/управления отопителем и кондиционером (ручной)

Руководство по ремонту Kia Stonic (YB) / Отопление, вентиляция, кондиционирование / рулевое управление / Блок управления отопителем и кондиционером (ручной)

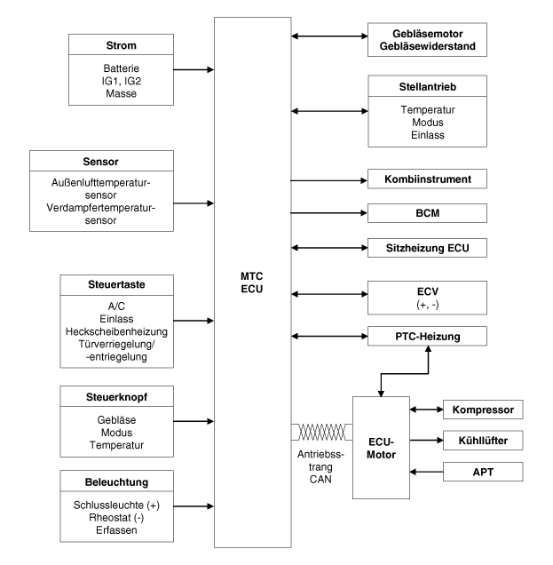
Компоненты и обзор компонентов
ОБЗОР КОМПОНЕНТОВ

НАЗНАЧЕНИЕ ШТЕКЕРНЫХ КЛЕММ

Нет.
РАЗЪЕМ А
ЗАГЛУШКА Б
1
Низкий
АККУМУЛЯТОР
2
Вместе
ИСГ батарея
3
Размеры
осветительные приборы (-)
4
Уровень вентилятора «средний/медленный»
Датчик (+5В)
5
Уровень вентилятора «средний/высокий»

6
высокий
Обратная связь впускного привода
7

Датчик испарителя (+)
8-й
Датчик температуры окружающей среды (+)
9

10

11
Привод впуска (свежий воздух)
12
Впускной привод (рециркуляция воздуха)
13
HTD
14
ЗАДНИЙ ОБОГРЕВАТЕЛЬ Ч/Б
15
Сигнал включения вентилятора в сеть
16
осветительные приборы (-)
17
IGN2
18
IGN1
19

20
Макс. сигнал вентилятора ВКЛ.
21
Реле PTC 3
22
Реле PTC 2
23
Сигнал PTC ВКЛ.
24
Блокировка выключена (+)
25

26
Шасси CAN [высокий]
27
Шасси CAN [Низкий]
28

29
ЭКВ (-)
30
ЭКВ (-)
31
датчик массы
32
Размеры

Схематические изображения
ПРИНЦИПИАЛЬНАЯ ЭЛЕКТРИЧЕСКАЯ СХЕМА

процедуры ремонта
СНЯТИЕ И УСТАНОВКА
1.

Отсоедините кабель заземления аккумуляторной батареи.

2.

Снимите нижнюю облицовку приборной панели.

(См. Кузов — «Нижняя отделка приборной панели»)

3.

Снимите облицовку приборной панели со стороны пассажира.

(См. Кузов — «Отделка передней панели [правая]»)

4.

Снимите перчаточный ящик.

(См. Кузов — «Корпус перчаточного ящика»)

5.

Отвинтите винт и воздуховод вентиляции пространства для ног (А) со стороны водителя. срывать.

6.

Отсоедините кабель управления режимами (А).

7.

Отвинтите винт и воздуховод вентиляции пространства для ног (А) со стороны пассажира. срывать.

8-й.

Отсоедините провод контроля температуры (А).

9.

Ослабьте винты крепления, затем блок управления отоплением и кондиционированием (А) Удалить.

10

Отсоедините разъем (А) от блока управления кондиционером и отопителем.

11.

Установка производится в порядке, обратном снятию.

рулевое управление
...
Модуль управления отопителем и кондиционером (FATC)
Компоненты и обзор компонентов ОБЗОР КОМПОНЕНТОВ НАЗНАЧЕНИЕ ШТЕКЕРНЫХ КЛЕММ Нет. РАЗЪЕМ А ЗАГЛУШКА Б 1 АККУМУЛЯТОР...
Дополнительная информация:

Kia Stonic (YB) Руководство по ремонту: Термостат


Компоненты и обзор компонентов ОБЗОР КОМПОНЕНТОВ 1. Впускной порт охлаждающей жидкости 2. Термостат 3. Корпус термостата 4. уплотнительное кольцо 5. Линия нагревателя процедуры ремонта установка и удаление. ТЕРМОСТАТ 1. Передний мотор...