Kia Stonic: Блок управления/управления отопителем и кондиционером (FATC)

Руководство по ремонту Kia Stonic (YB) / Отопление, вентиляция, кондиционирование / рулевое управление / Модуль управления отопителем и кондиционером (FATC)

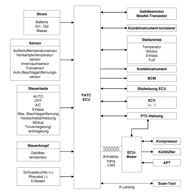
Компоненты и обзор компонентов
ОБЗОР КОМПОНЕНТОВ

НАЗНАЧЕНИЕ ШТЕКЕРНЫХ КЛЕММ

Нет.
РАЗЪЕМ А
ЗАГЛУШКА Б
1
АККУМУЛЯТОР

2
ИСГ батарея (+)

3
осветительные приборы (-)

4
Датчик (+5В)
Обратная связь исполнительного механизма удаления запотевания
5
Привод с обратной связью
Привод удаления запотевания (открытый)
6
Обратная связь температурного привода
Привод удаления запотевания (закрыт)
7
Обратная связь впускного привода

8-й
Датчик испарителя (+)

9
Датчик температуры окружающей среды (+)

10
Привод режима (вентиляция)

11
Активатор режима (DEF)
Электрообогрев заднего стекла
12
Температурный привод (холодный)
температура защиты от запотевания
13
Температурный привод (теплый)
Снять фитинг SCK
14
Привод впуска (свежий воздух)
удаление запотевания данных
15
Впускной привод (рециркуляция воздуха)

16
HTD
Размеры
17
ЗАДНИЙ ОБОГРЕВАТЕЛЬ Ч/Б

18

19

20
осветительные приборы (-)
21
IGN2
22
IGN1
23
МОТОР ВЕНТИЛЯТОРА (+)
24
ФОТОСЕНСОР (-)
25

26

27

28
Реле PTC 3
29
Реле PTC 2
30
Сигнал PTC ВКЛ.
31
Блокировка выключена (+)
32

33
Шасси CAN [высокий]
34
Шасси CAN [Низкий]
35
FET (обратная связь стравливающего шланга)
36
ворота
37
ЭКВ (-)
38
ЭКВ (-)
39
датчик массы
40
Размеры

Схематические изображения
Схематические изображения

процедуры ремонта
самодиагностика
1.

процесс самодиагностики

2.

Как считывается самодиагностика

Во время самодиагностики соответствующий код ошибки будет мигать каждые 0,5 с на дисплее температуры и показывает две цифры.

Коды ошибок отображаются в числовом формате.

ОТОБРАЖАТЬ
Описание нарушения
00
Нормальный
11
Датчик салона, обрыв
12
Датчик салона, короткое замыкание
13
Обрыв датчика наружной температуры
14
Короткое замыкание датчика наружной температуры
17
Обрыв датчика температуры испарителя
18
Короткое замыкание датчика температуры испарителя
19
Потенциометр температурной заслонки - обрыв цепи/короткое замыкание
20
Потенциометр температурной заслонки - неисправность
21
Обрыв/короткое замыкание потенциометра заслонки режима
22
НЕИСПРАВНОСТЬ ПОТЕНЦИОМЕТРА ЗАСЛОНКИ РЕЖИМА
25
Обрыв/короткое замыкание потенциометра впускной заслонки
26
НЕИСПРАВНОСТЬ ПОТЕНЦИОМЕТРА ВПУСКА
43
Обрыв/короткое замыкание цепи потенциометра заслонки пространства для ног
44
Потенциометр заслонки пространства для ног - неисправность
45
APT (датчик давления кондиционера) — ошибка сигнала CAN
47
Ошибка сигнала RPM CAN
48
Скорость автомобиля, ошибка сигнала CAN
49
Ошибка сигнала CAN температуры охлаждающей жидкости
50
Неисправность ионизатора воздуха
51
Нарушение связи с датчиком запотевания и ошибочный входной сигнал

3.

ОТОБРАЖЕНИЕ КОДА ОШИБКИ

(1)

Непрерывная работа: Код ошибки отсутствует или имеется один.

(2)

Непрерывная работа: два или более кодов ошибок.

(3)

Постепенная операция

А

Нормально или код ошибки такой же, как и во время непрерывной работы.

Б.

Имеется два или более кода ошибки.

4.

Если при проверке отображаются коды ошибок, определите неисправность с помощью проверьте таблицу кодов ошибок.

5.

вялый домашний контроль

НЕТ
датчик
состояние дефекта
функция вялый дом
1
датчик температуры салона
< 0,1 В или > 4,9 В
23°С
2
датчик наружной температуры
< 0,1 В или > 4,9 В
20°С
3
датчик температуры испарителя
< 0,1 В или > 4,9 В
-2°С
4
Обратная связь температурного привода
< 0,1 В или > 4,9 В

Максимальная заданная температура 24,5 °C: максимальное охлаждение

Минимальная заданная температура 25,0 °C: максимальный уровень нагрева

5
Привод с обратной связью
< 0,5 В или > 4,5 В

Вентиляция: вентиляция

Другое: обогрев окон

6
Обратная связь впускного привода
< 0,1 В или > 4,9 В

Конвекция : Режим конвекции

Другое: режим свежего воздуха

7
Активатор пространства для ног с обратной связью
< 0,5 В или > 4,5 В

Вентиляция: открытая

Другое: закрыто

8-й
Датчик автоматического предотвращения запотевания
(Относительная влажность)
нарушение связи

Относительная влажность: 60%,

Температура окружающей среды: 23°C (73,4°F)

9
Датчик автоматического предотвращения запотевания
(температура окна)
< 0,1 В или > 4,9 В
Температура диска: 23°C (73,4°F)
10
Температура охлаждающей жидкости
нарушение связи
85°С (185°Ф)
11
ECV обратной связи
Нет входного сигнала от ECV
сигнал обратной связи

Сигнал неисправности ECV: 1

Выход управления ШИМ: остается

Момент затяжки: 0


СНЯТИЕ И УСТАНОВКА
1.

Отсоедините кабель заземления аккумуляторной батареи.

2.

Снимите облицовку приборной панели со стороны пассажира.

(См. Кузов — «Отделка передней панели [правая]»)

3.

Блок управления отопителем и кондиционером (А) после ослабления крепления узла удаленный.

4.

Отсоедините разъем (А) и воздушный шланг (В).

5.

Установка производится в порядке, обратном снятию.

Модуль управления отопителем и кондиционером (ручной)
Компоненты и обзор компонентов ОБЗОР КОМПОНЕНТОВ НАЗНАЧЕНИЕ ШТЕКЕРНЫХ КЛЕММ Нет. РАЗЪЕМ А ЗАГЛУШКА Б 1 Низкий ...
Дополнительная информация:

Руководство по ремонту Kia Stonic (YB): точки подъема и поломки


Общая информация ТОЧКИ ПОДЪЕМА И УДЕРЖАНИЯ Когда тяжелые задние узлы, такие как подвеска, топливный бак, запасное колесо, Перед подъемом необходимо снять заднюю дверь или крышку багажника. автомобиля...