Kia Stinger: передний карданный вал в сборе / TJ шарнир

Kia Stinger CK 2018-2023 Руководство по ремонту / Карданный вал и ось / Передний приводной вал в сборе / ТиДжей Джойнт

Процедуры ремонта
Замена

На шарнир карданного вала необходимо нанести специальную смазку. Не заменить смазкой другого типа.

Башмак следует заменить на новый.

1.

Снимите передний приводной вал.

(См. узел приводного вала — «Передний приводной вал»)

2.

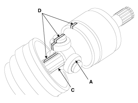
Снимите стопорное кольцо BJ (B) с корпуса TJ (A).

3.

Снимите оба хомута с корпуса TJ.

4.

Снимите стопорное кольцо TJ (A).

5.

Снимите стопорное кольцо (А) с вала.

6.

Очистите крестовину в сборе.

7.

Снимите ботинок TJ (A).

Для повторного использования чехла (A) оберните лентой (B) приводной вал. шлицы (C) для защиты чехла (A).

осмотр
1.

Проверьте крестовину в сборе на вращение роликов, износ или коррозию.

2.

Проверьте канавку внутри корпуса шарнира на предмет износа или коррозии.

3.

Проверьте сапоги TJ на наличие повреждений и износа.

Монтаж
1.

Оберните ленту вокруг шлица приводного вала (TJ), чтобы предотвратить повреждение чехла.

2.

Руководствуясь установочными метками (D), сделанными во время разборки, установите узел крестовины (A) и стопорное кольцо (B) на шлицах приводного вала (C).

3.

Добавьте указанную смазку в пыльник шарнира столько, сколько было стерто при осмотр.

4.

Установите оба загрузочных ремня.

5.

Чтобы контролировать воздух в ботинке TJ, соблюдайте указанное расстояние между резинки ботинок, когда они затянуты.

Двигатель
Расстояние (L) мм (дюймы)
левая сторона
Правая сторона
2.0 Т-ГДИ ТЕТА II
479,9 (18,8937)
463,3 (18,2402)
Р 2.2
480,4 (18,9134)
464,0 (18,2677)
3.3 Т-ГДИ ЛЯМБДА II
479,9 (18,8937)
463,4 (18,2441)

6.

С помощью SST (09495-3K000) закрепите хомуты чехлов TJ.

Зазор (A): 2,0 мм (0,0787 дюйма) или менее

7.

Установите передний приводной вал.

(См. узел приводного вала — «Передний приводной вал»)

8.

Проверьте переднее выравнивание.

(См. Система подвески — «Выравнивание»)

Передний карданный вал
Компоненты и расположение компонентов Компоненты 1. Передний приводной вал [левый] 2. Кронштейн переднего приводного вала 3. Передний приводной вал [правый] Процедуры ремонта ...
Минет в сапогах
Процедуры ремонта Замена 1. Снимите передний приводной вал. (См. узел приводного вала — «Передний приводной вал») 2. Снимите TJ-шарнир, как...
Дополнительная информация:

Kia Stinger CK 2018-2023 Руководство по техническому обслуживанию: Тормозная система


Процедуры ремонта Эксплуатация и проверка герметичности Проверьте все следующее предметы: Компонент Процедура Усилитель тормозов (А) Проверьте работу тормозов, задействовав тормоза во время пробной поездки. Если тормоза не работают должным образом, проверьте ...

Kia Stinger CK 2018-2023 Service Manual: Антенна


Компоненты и расположение компонентов Компоненты Принципиальные диаграммы Принципиальная электрическая схема [Радио + GPS] [Радио + GPS + DAB] [Радио + GNSS + Электронный вызов] Процедуры ремонта Удаление Антенна на крыше 1. Отсоедините отрицательную (-) клемму аккумуляторной батареи...