Kia Stinger: Заднее сиденье / Чехол на спинку заднего сиденья

Kia Stinger CK 2018-2023 Руководство по ремонту / Передний ремень безопасности / Заднее сидение / Чехол на спинку заднего сиденья

Компоненты и расположение компонентов
Расположение компонента

1. Заднее сиденье в сборе [левый]
2. Спинка заднего сиденья в сборе [LH]
3. Спинка заднего сиденья в сборе [правая]
4. Заднее боковое сиденье в сборе [RH]

Процедуры ремонта
Замена

Наденьте перчатки, чтобы защитить руки.

Используйте инструмент для снятия пластиковой панели, чтобы удалить элементы внутренней отделки. не портя поверхность.

Будьте осторожны, чтобы не погнуть и не поцарапать обивку и панели.

[левый]

1.

Снимите заднее сиденье в сборе.

(См. Заднее сиденье — «Заднее сиденье в сборе»)

2.

Нажмите на стопорный штифт и снимите подголовник заднего сиденья (А).

3.

Снимите втулку (А) шарнира спинки заднего сиденья с помощью съемника.

4.

Снимите крышку ручки складывания спинки заднего сиденья (А) с помощью съемника.

5.

Снимите крышку дочернего анкера (A) с помощью съемника.

6.

Отделите обивку спинки заднего сиденья (А).

7.

Потяните и снимите направляющие подголовника заднего сиденья (А), удерживая их за обе стороны нижней части направляющих.

8.

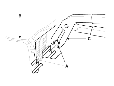
Снимите обивку спинки переднего сиденья (C) после удаления ленты-липучки. (A) и кольцевой зажим (B).

9.

Установите в порядке, обратном снятию.

Убедитесь, что разъемы подключены полностью.

Замените все поврежденные зажимы (или фиксаторы штифтового типа).

Во избежание складок убедитесь, что крышка (B) равномерно натянуты перед подключением борова - кольцевые зажимы (А).

Замените хомуты на новые, используя специальные инструмент (С) (09880 - 4F000).

[Правый]

1.

Снимите заднее сиденье в сборе.

(См. Заднее сиденье — «Заднее сиденье в сборе»)

2.

Нажмите на стопорный штифт и снимите подголовник заднего сиденья (А).

3.

Снимите втулку (А) шарнира спинки заднего сиденья с помощью съемника.

4.

Снимите крышку ручки складывания спинки заднего сиденья (А) с помощью съемника.

5.

Снимите кожух заднего центрального ремня безопасности (А) с помощью съемника.

6.

Снимите крышку дочернего анкера (A) с помощью съемника.

7.

Отделите обивку спинки заднего сиденья (А).

8.

Снимите задний задний подлокотник (C), предварительно сняв крышку (A) и затем ослабив болт (В).

9.

Снимите заднюю панель подлокотника заднего сиденья (А).

10.

Потяните и снимите направляющие подголовника заднего сиденья (А), удерживая их за обе стороны нижней части направляющих.

11.

Снимите обивку спинки переднего сиденья (C) после удаления ленты-липучки. (A) и кольцевой зажим (B).

12.

Установите в порядке, обратном снятию.

Убедитесь, что разъемы подключены полностью.

Замените все поврежденные зажимы (или фиксаторы штифтового типа).

Во избежание складок убедитесь, что крышка (B) равномерно натянуты перед подключением борова - кольцевые зажимы (А).

Замените хомуты на новые, используя специальные инструмент (С) (09880 - 4F000).

Заднее сиденье в сборе
Компоненты и расположение компонентов Расположение компонента 1. Подушка заднего сиденья в сборе 2. Заднее боковое сиденье в сборе [LH] 3. Спинка заднего сиденья в сборе 4. ...
Чехол на подушку заднего сиденья
Компоненты и расположение компонентов Расположение компонента 1. Чехол подушки заднего сиденья ...
Дополнительная информация:

Руководство по эксплуатации Kia Stinger CK 2018-2023: Всесезонные шины, Летняя резина


Всесезонные шины Kia указывает на всесезонные шины для некоторых моделей, чтобы обеспечить хорошие характеристики для использовать круглый год, включая снежные и обледенелые дорожные условия. Всесезонные шины есть обозначается ALL SEASON и/или M+S (грязь и снег) на боковине шины. Зимние шины имеют лучшее сцепление на снегу, чем ...

Kia Stinger CK 2018-2023 Руководство по техническому обслуживанию: Подъем задней двери


Процедуры ремонта Замена Не наносите герметик на корпус. 1. С помощью отвертки снимите подъемник задней двери (B) после снятия гнездовые зажимы (А). 2. ...