Kia Stinger: передний ремень безопасности / заднее сиденье

Kia Stinger CK 2018-2023 Руководство по ремонту / Передний ремень безопасности / Заднее сидение

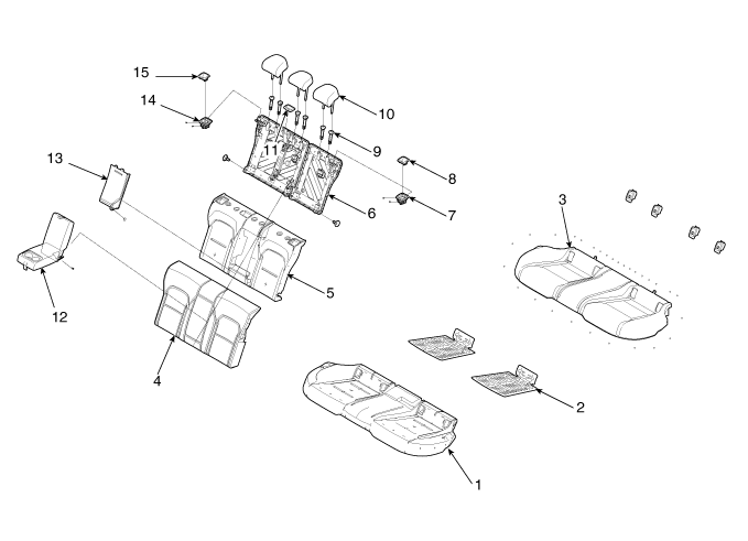
Компоненты и расположение компонентов
Компоненты

1. Подушка подушки заднего сиденья
2. Подогрев подушки заднего сиденья.
3. Обивка подушки заднего сиденья.
4. Обшивка спинки заднего сиденья
5. Подушка спинки заднего сиденья
6. Задняя панель каркаса спинки заднего сиденья
7. Ручка складывания спинки заднего сиденья [LH]
8. Крышка ручки складывания спинки заднего сиденья [LH]
9. Направляющая подголовника заднего сиденья
10. Подголовник заднего сиденья
11. Крышка центрального ремня безопасности заднего сиденья
12. Подлокотник заднего сиденья
13. Спинка подлокотника заднего сиденья
14. Ручка складывания спинки заднего сиденья [RH]
15. Крышка ручки складывания спинки заднего сиденья [RH]

Защелка задней двери
Компоненты и расположение компонентов Расположение компонента 1. Замок задней двери Процедуры ремонта Замена & ...
Заднее сиденье в сборе
Компоненты и расположение компонентов Расположение компонента 1. Подушка заднего сиденья в сборе 2. Заднее боковое сиденье в сборе [LH] 3. Спинка заднего сиденья в сборе 4. ...
Дополнительная информация:

Kia Stinger CK 2018-2023 Руководство по техническому обслуживанию: Чехол на подушку заднего сиденья


Компоненты и расположение компонентов Расположение компонента 1. Чехол подушки заднего сиденья ...

Kia Stinger CK 2018-2023 Руководство по обслуживанию: Электропривод зеркал заднего вида


Компоненты и расположение компонентов Компоненты Принципиальные диаграммы Принципиальная электрическая схема Передняя безопасность + IMS Тип Передняя безопасность + без IMS Тип Процедуры ремонта осмотр Диагностика с помощью KDS 1. Электрическая система кузова может быть быстро...