Kia Stinger: переднее сиденье / задняя крышка переднего сиденья

Kia Stinger CK 2018-2023 Руководство по ремонту / Кузов (внутри и снаружи) / Переднее сиденье / Чехол на спинку переднего сиденья

Компоненты и расположение компонентов
Расположение компонента

1. Обивка спинки переднего сиденья


Процедуры ремонта
Замена

Наденьте перчатки, чтобы защитить руки.

Используйте инструмент для снятия пластиковой панели, чтобы удалить элементы внутренней отделки. не портя поверхность.

Будьте осторожны, чтобы не погнуть и не поцарапать обивку и панели.

1.

Снимите переднее сиденье в сборе.

(См. Переднее сиденье — «Переднее сиденье в сборе»)

2.

Снимите крышку переднего удлинения переднего сиденья (А).

3.

Снимите внешний кожух (А) переднего сиденья с помощью съемника.

Будьте осторожны, чтобы не повредить монтажный кронштейн и крюк при снятии. крышка.

4.

Отсоедините разъем выключателя питания переднего сиденья (А).

5.

Снимите внутреннюю крышку щитка переднего сиденья (А) после ослабления крепления. винт.

6.

Поднимите подголовник переднего сиденья (А).

7.

Снимите нижнюю защиту спинки переднего сиденья (А).

8.

Снимите спинку переднего сиденья (А).

Снимите его в направлении стрелки, удерживая обе стороны нижней спинки руками.

Будьте осторожны, чтобы не повредить стопорные штифты.

9.

Снимите воздуховод (А) вентиляции переднего сиденья после ослабления крепления. винт.

10.

Отсоедините разъем подушки безопасности (А) и разъем отопителя (В).

11.

Вытяните и снимите направляющие подголовника (A), предварительно зажав их с обеих сторон. нижней части направляющих.

12.

Вытащите защитный кожух (А) из каркаса спинки переднего сиденья.

13.

Снимите обивку спинки переднего сиденья (А) с рамы спинки переднего сиденья.

14.

Снимите обивку спинки переднего сиденья (С) с передней части спинки сиденья. раму после удаления ленты-липучки (A) и зажимов с кольцами (B).

Будьте осторожны, чтобы не отделить проволочную вставку от губки.

15.

Установите в порядке, обратном снятию.

Убедитесь, что разъемы подключены полностью.

Замените все поврежденные зажимы (или фиксаторы штифтового типа).

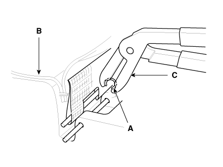
Во избежание складок убедитесь, что крышка (B) равномерно натянуты перед подключением борова - кольцевые зажимы (А).

Замените хомуты на новые, используя специальные инструмент (С) (09880 - 4F000).

Внутренний защитный кожух переднего сиденья
Компоненты и расположение компонентов Расположение компонента 1. Внутренний защитный кожух переднего сиденья Процедуры ремонта Замена ...
Чехол на подушку переднего сиденья
Компоненты и расположение компонентов Расположение компонента 1. Чехол подушки переднего сиденья Процедуры ремонта Замена ...
Дополнительная информация:

Kia Stinger CK 2018-2023 Service Manual: Тормозной выключатель


Компоненты и расположение компонентов Компоненты 1. Тормозной выключатель 2. Педаль тормоза Принципиальные диаграммы Терминальная функция Пин № Описание 1 IGN1 2 IBU ...

Руководство по эксплуатации Kia Stinger CK 2018-2023: Воздушный фильтр


Замена фильтра ■ Двигатель THETA II 2,0 л T-GDI (бензин) ■ Двигатель Lambda II PE 3,3 л T-GDI (бензин) (со стороны пассажира) Воздушный фильтр необходимо заменять при необходимости, его нельзя мыть. Обратитесь к авторизованному дилеру Киа для проверки или замены фильтра воздушного фильтра. ■ Лямбда I...