Kia Stinger: система управления двигателем / электрический привод перепускной заслонки (EWGA)

Kia Stinger CK 2018-2023 Руководство по ремонту / Управление двигателем/топливная система / Система управления двигателем / Электропривод заслонки сброса отходов (EWGA)

Описание и работа
Описание

Установленный на турбокомпрессоре электрический привод перепускной заслонки (EWGA) работает лопасть в турбонагнетателе Waste Gate (WGT) и регулирует количество сжатого воздуха на основе ШИМ-сигнала от ECM. Этот привод состоит из двигателя постоянного тока, который приводит в действие лопасть, двухступенчатую передачу, которая увеличивает крутящий момент двигателя постоянного тока, положение датчик, который определяет состояние лопасти, и электрический блок управления, который управляет двигатель постоянного тока.

Принципиальные диаграммы
Принципиальная электрическая схема

Соединитель жгута

Процедуры ремонта
Удаление

Электрический привод перепускных ворот (EWGA) нельзя заменить самостоятельно; это следует заменить на турбокомпрессор.

(См. раздел «Механическая система двигателя — турбонагнетатель»).

Монтаж

Электрический привод перепускных ворот (EWGA) нельзя заменить самостоятельно; это следует заменить на турбокомпрессор.

(См. раздел «Механическая система двигателя — турбонагнетатель»).

Корректирование

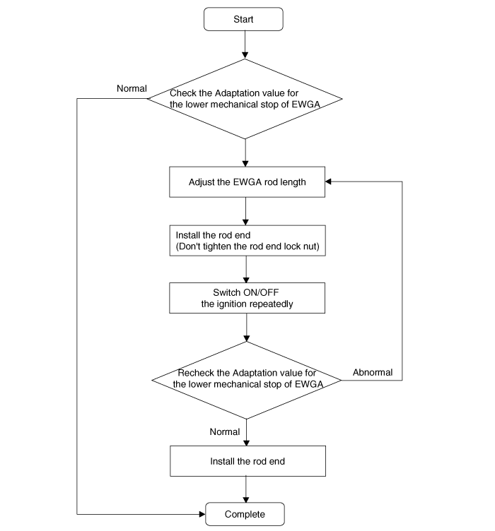
[Процедура регулировки штока Блок-схема]

1.

Убедитесь, что турбокомпрессор перепускного клапана достаточно остыл, чтобы с ним можно было работать.

Используйте электрический вентилятор для быстрого охлаждения.

Охлаждаемая площадь (A) и направление ветра (B) указаны на рисунке. ниже.

2.

Выключите зажигание.

3.

Подключите диагностический прибор к разъему DLC (16-контактный) под драйвером. боковая панель приборов.

4.

Включите зажигание.

Не запускайте двигатель.

5.

Выберите VIN или Автомобиль на начальном экране.

6.

Войдите в меню «Управление двигателем» после выбора информации об автомобиле (Vehicle модель, Год выпуска, Тип двигателя) или ввод VIN-номера.

7.

Доступ к KDS Engine > Текущие данные.

8.

Не запуская двигатель, включите зажигание на 5 секунд, затем «ВЫКЛ» на 5 секунд, чтобы проверить «Значение адаптации для низкого механического остановка EWGA» на КДС.

Повторяйте этот шаг до тех пор, пока не изменится значение адаптации по сравнению с предыдущим циклом. ниже 0,05 В.

Не запускайте двигатель. Это важный шаг для правильного чтения значение адаптации.

9.

Убедитесь, что «Значение адаптации для нижнего механического упора EWGA» находится в пределах указанного диапазона напряжения.

Температура охлаждающей жидкости (°C)
Указанный диапазон напряжения (В)
41 - 60
3,8 - 4,0
26 - 40
3,85 -4,05
Ниже 25
3,9 - 4,1

10.

Если измеренное напряжение не находится в указанном диапазоне напряжения, отрегулируйте длина стержня EWGA. В противном случае дальнейшая процедура не требуется.

(1)

Ослабьте стопорную гайку конца штока (А) и снимите С-образное кольцо (В).

(2)

Отрегулируйте конец штока (C), вращая его по часовой стрелке (D) или против часовой стрелки. (E) для удовлетворения спецификации.

Например, если температура охлаждающей жидкости ниже 25 °C, отрегулируйте следующее.

Значение адаптации для нижнего механического упора EWGA (V)
Направление регулировки конца штока
Изменение длины штока (после регулировки)
> 4,1
по часовой стрелке
короче
< 3,9
против часовой
дольше

Угол поворота
Изменение уровня значения адаптации (V)
0,5 оборота (180°)
0,15 - 0,20
1 оборот (360°)
0,30 - 0,40

11.

Временно установите конец штока (В) на рычаг турбонагнетателя (А). Не затяните стопорную гайку конца штока (C) и С-образное кольцо (D).

12.

Проверьте «Значение адаптации для нижнего механического упора EWGA» после выбрав меню «Текущие данные».

Несколько раз включите/выключите зажигание, пока не появится изменение в «Adaptation значение для нижнего механического упора EWGA" находится в пределах 0,05 В.

Включите/выключите зажигание, делая паузу на 5 секунд при каждом включении зажигания. положение дел.

13.

Если измеренное напряжение не находится в указанном диапазоне напряжения, повторите процедуры 9-11, пока напряжение не будет находиться в пределах указанного диапазона напряжения.

14.

Убедитесь, что «Значение адаптации для нижнего механического упора EWGA» находится в пределах указанного диапазона напряжения.

15.

Если оно находится в пределах указанного диапазона напряжения, установите конец штока в рычаг турбонагнетателя.

(1)

Установите конец штока (В) на рычаг турбонагнетателя (А).

(2)

Затяните стопорную гайку конца штока (С).

(3)

Установите С-образное кольцо (E).

Будьте осторожны, чтобы не снять шайбу (D).

Поиск неисправностей
Форма сигнала

Электромагнитный клапан управления RCV
Технические характеристики Спецификация Элемент Спецификация Сопротивление катушки (Ом) 28,3–31,1 [20°C (68°F)] Описание и опер...
Система ISG (Idle Stop & Go)
Компоненты и расположение компонентов Расположение компонентов 1. Аккумулятор датчик 2. Датчик вакуумного усилителя тормозов (BBVPS) 3. АГМ аккумулятор 4. Преобразование постоянного тока в постоянный...
Дополнительная информация:

Руководство по эксплуатации Kia Stinger CK 2018-2023: Всесезонные шины, Летняя резина


Всесезонные шины Kia указывает на всесезонные шины для некоторых моделей, чтобы обеспечить хорошие характеристики для использовать круглый год, включая снежные и обледенелые дорожные условия. Всесезонные шины есть обозначается ALL SEASON и/или M+S (грязь и снег) на боковине шины. Зимние шины имеют лучшее сцепление на снегу, чем ...

Руководство по эксплуатации Kia Stinger CK 2018-2023: Управление запуском


Операция управления запуском При использовании Launch Control водитель всегда должен следить за тем, чтобы двигатель охлаждающая вода нагревается и достигает рекомендуемой температуры. Чтобы включить ESC в выключенном состоянии 2, нажмите и удерживайте кнопку ESC более 3 секунд. в спортивном режиме. (Отображение состояния на Clus ...