Kia Sorento: Rear Driveshaft Reassembly - Rear Driveshaft Assembly - Driveshaft and axle - Kia Sorento XM 2011-2023 Service Manual Kia Sorento: сборка заднего карданного вала

XM второго поколения (2011-2023 гг.) / Kia Sorento XM 2011-2023 Руководство по ремонту / Карданный вал и ось / Задний приводной вал в сборе / Сборка заднего карданного вала

1.
Оберните лентой шлицы приводного вала (сторона TJ), чтобы предотвратить повреждение ботинок.
2.
Нанесите смазку на карданный вал и установите пыльники.
3.
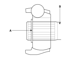
Нанесите указанную смазку на внутреннюю обойму (А) и сепаратор (В). Установите клетку (B) так, чтобы она была смещена относительно дорожки, как показано на рисунке.
Используйте смазку, входящую в ремонтный комплект.

4.
Нанесите указанную смазку на сепаратор и вставьте шарики в клетка.
5.
Расположите скошенную сторону (A), как показано на рисунке. Установите внутреннюю обойму на приводной вал (В), а затем стопорное кольцо.

6.
Нанесите указанную смазку на наружное кольцо и установите BJ. наружное кольцо на карданный вал.
7.
Нанесите указанную смазку на чехол TJ и установите чехол. с клипсой.
8.
Затяните резинки ботинок TJ.
9.
Добавьте указанную смазку в BJ столько, сколько было вытерто при осмотре.
10.
Установите сапоги.
11.
Затяните резинки ботинок BJ.
12.
Чтобы контролировать воздух в ботинке TJ, соблюдайте указанное расстояние между лентами ботинок, когда они затянуты.
Расстояние (мм)
левый
Правая сторона
ВСЕ
716,5 мм (28,2086 дюйма)
697,4 мм (27,4566 дюйма)

Разборка заднего карданного вала
• Не разбирайте узел BJ. • ...
Сборка карданного вала
...
Смотрите также:

Проверка датчиков в автомобиле
1. Включите зажигание. 2. Вдув воздуха с изменяющейся температурой в салонный датчик воздуха вход. Измерьте сопротивление датчика между...

Спецификация
Элемент Спецификация Емкость (пФ) 850 ~ 1150 ...

Компоненты
1. Впускной распредвал 2. Распредвал выпускных клапанов 3. Впускной CVVT в сборе 4. Выхлоп CVVT в сборе 5. Цепь ГРМ 6. Направляющая цепи ГРМ 7. Рычаг натяжителя цепи ГРМ. 8. Тимин...