Kia Sorento: Dynamic Damper Installation - Driveshaft Assembly - Driveshaft and axle - Kia Sorento XM 2011-2023 Service Manual Kia Sorento: установка динамического демпфера

XM второго поколения (2011-2023 гг.) / Kia Sorento XM 2011-2023 Руководство по ремонту / Карданный вал и ось / Сборка карданного вала / Установка динамического демпфера

1.
Нанесите мыльный порошок на вал, чтобы предотвратить повреждение между шлицевой вал и динамический демпфер.
2.
Установите динамический демпфер.
3.
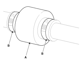
Установите ленту динамического демпфера (A).
4.
С помощью SST (09495-3K000) закрепите хомуты чехлов TJ (B).

Зазор (А): 2,0 мм (0,0787 дюйма) или менее

5.
Установите TJ-соединение в сборе.
(См. приводной вал в сборе — «TJ соединение»)
6.
Установите передний карданный вал.
(См. узел приводного вала — «Передний приводной вал»)
Удаление динамического демпфера
1. Снимите передний приводной вал. (См. узел приводного вала — «Передний приводной вал») 2. Снимите TJ-соединение в сборе. (См...
Компоненты ботинок BJ
1. Сборка БЖ 2. Стопорное кольцо BJ 3. Ремешок для обуви BJ 4. Сапоги для минета 5. Лента динамического демпфера 6. Динамический демпфер 7. Вал 8. Ремешок для ботинок TJ 9. Ботинок TJ 10. Паук в сборе ...
Смотрите также:

Установка рычага переключения передач
1. Установите в порядке, обратном снятию. Установить рычаг переключения передач и блокировку...

Блок-схема
...

Проверка привода управления режимами
1. Выключите зажигание. 2. Отсоедините разъем привода управления режимами. 3. Убедитесь, что режим кон ...