Kia Sorento: Block Diagram - Power Tailgate Module - Body Electrical System - Kia Sorento XM 2011-2023 Service Manual Киа Соренто: блок-схема

XM второго поколения (2011-2023 гг.) / Kia Sorento XM 2011-2023 Руководство по ремонту / Электрическая система кузова / Модуль задней двери с электроприводом / Блок-схема

Расположение компонентов (2)
...
Описание
Задняя дверь с электроприводом представляет собой электромеханическую систему, предназначенную для обеспечения открытие и закрытие багажника нажатием кнопки на пульте ключ (брелок), консольный переключатель, внутренний выключатель o ...
Смотрите также:

Установка динамиков
Передний динамик 1. Установите динамик в монтажное отверстие динамика в дверной панели. 2. Снова подключите разъем динамика. Ри ...

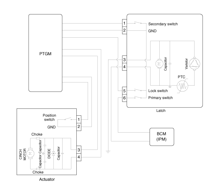
Принципиальная электрическая схема
...

Электронный контроль устойчивости (ESC)
Электронная система контроля устойчивости (ESC) предназначена для стабилизации автомобиля. при поворотах. ESC проверяет, куда вы рулите и где находится автомобиль. на самом деле идет. ESC применяется...