Kia Sorento: Description of ESC - ESC(Electronic Stability Control) System - Brake System - Kia Sorento XM 2011-2023 Service Manual Киа Соренто: Описание ESC

XM второго поколения (2011-2023 гг.) / Kia Sorento XM 2011-2023 Руководство по ремонту / Тормозная система / Система ESC (электронный контроль устойчивости) / Описание ESC

Электронный контроль устойчивости (ESC) распознает критические условия вождения, такие как панические реакции в опасных ситуациях, и стабилизирует транспортное средство путем индивидуального торможения колес и вмешательства в управление двигателем.
ESC добавляет к ABS дополнительную функцию, известную как Active Yaw Control (AYC). Функции TCS, EBD и ESC. В то время как функция ABS/TCS контролирует проскальзывание колес. при торможении и ускорении и, таким образом, в основном вмешивается в продольную динамика автомобиля, активный контроль рыскания стабилизирует автомобиль относительно его вертикальная ось.
Это достигается за счет индивидуального вмешательства и адаптации тормозов колес. мгновенного крутящего момента двигателя без необходимости каких-либо действий со стороны Водитель.
ESC в основном состоит из трех узлов: датчиков, электронного блок управления и приводы.
Функция контроля устойчивости работает при любых условиях вождения и эксплуатации. При определенных условиях вождения функция ABS/TCS может быть активирована одновременно. с функцией ESC в ответ на команду водителя.
В случае отказа функции контроля устойчивости основные функция безопасности, ABS, по-прежнему поддерживается.

Описание управления ESC
Система ESC включает функции ABS/EBD, TCS и AYC.
Функция ABS/EBD: ЭБУ изменяет активный сигнал датчика (текущее переключение) поступающий от четырех колесных датчиков к прямоугольной волне. С помощью ввода выше сигналов, ECU рассчитывает скорость автомобиля и ускорение и замедление из четырех колес. И ECU решает, следует ли активировать ABS / EBD. или нет.
Функция TCS предотвращает проскальзывание колес в направлении движения, добавляя тормозное давление и снижение крутящего момента двигателя по шине CAN. Функция ТКС использует сигнал датчика скорости колеса для определения проскальзывания колеса до ABS функция.
Функция AYC предотвращает неустойчивое маневрирование автомобиля. Чтобы определить Маневр автомобиля, функция AYC использует сигналы датчика маневра (датчик скорости рыскания, датчик бокового ускорения, датчик угла поворота рулевого колеса).
Если маневр автомобиля нестабилен (избыточная или недостаточная поворачиваемость), функция AYC применяет тормозное давление на определенное колесо и отправляет снижение крутящего момента двигателя сигнал по CAN.
После включения зажигания ЭБУ постоянно диагностирует отказ системы. (самодиагностика)Если обнаружен сбой системы, ЭБУ информирует водителя о сбое системы через контрольную лампу BRAKE/ABS/ESC. (отказоустойчивое предупреждение)

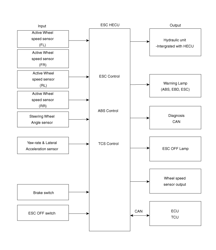
Диаграмма ввода и вывода

Компоненты
1. Модуль HECU 2. Датчик скорости переднего колеса 3. Датчик скорости заднего колеса 4. Датчик скорости рыскания и боковой перегрузки 5. Контрольная лампа АБС 6. Контрольная лампа стояночного тормоза/EBD 7. ЭСК Ф...
Режим работы регулятора скорости
Схема гидравлической системы ESC 1. ESC не работает: нормальное торможение. Соленоидный клапан Преемственность Клапан Мотор ...
Смотрите также:

Установка узла переноса переднего колеса
1. Установите в порядке, обратном снятию. 1. ...

Спецификация
Предметы Внутренняя сторона Внешняя сторона Передний карданный вал 2.4GDI М/Т Тип соединения ЛСЖ 104 УБД 104 Макс. допустимый угол 23° ...

AUX (вспомогательный) разъем Описание
Разъемы AUX, iPod и USB JACK на центральной консоли предназначены для клиентов, нравится слушать внешние портативные музыкальные плееры, такие как MP3, iPod, наушники, USB-накопитель, проигрыватель компакт-дисков и т. д., ...