Kia Sorento: Brake Pedal Inspection - Brake System - Brake System - Kia Sorento XM 2011-2023 Service Manual Kia Sorento: проверка педали тормоза

XM второго поколения (2011-2023 гг.) / Kia Sorento XM 2011-2023 Руководство по ремонту / Тормозная система / Тормозная система / Осмотр педали тормоза

1.
Проверьте втулку на износ.
2.
Проверьте педаль тормоза на изгиб или скручивание.
3.
Проверьте возвратную пружину педали тормоза на наличие повреждений.
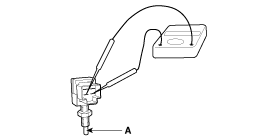
4.
Проверьте выключатель стоп-сигнала.
(1)
Подключить тестер цепи к разъему стоп-сигнала переключатель, и проверьте, есть ли непрерывность, когда плунжер выключателя стоп-сигнала нажат, и когда он выпущенный.
(2)
Выключатель стоп-сигналов исправен, если есть отсутствие непрерывности при нажатии на поршень (А).

Снятие педали тормоза
1. Выключите зажигание и отсоедините отрицательный (-) аккумулятор. кабель. 2. Снимите нижнюю панель аварийной подушки и укрепите панель. ...
Установка педали тормоза
1. Предварительно затяните крепежный болт кронштейна (А) в передней панели. 2. Установите усилитель тормозов и крепежные гайки педали тормоза (А). безопасный ...
Смотрите также:

Специальные сервисные инструменты
Инструмент (номер и имя) Иллюстрация Использовать 09581-11000 Расширитель поршня Разведение поршня переднего дискового тормоза. ...

Операция
Мониторинг испарительной системы Испарительная система и система контроля выбросов ORVR Эта система состоит из следующих пунктов; - Заполнить вентиляционный клапан - Ф...

Расположение компонента
1. IPM (интеллектуальный платформенный модуль интеграции) 2. Ультразвуковой датчик ...