Kia Forte: Тормозная система / Система электронного контроля устойчивости (ESC)

Киа Kia Forte 2019-2023 (БД) Руководство по ремонту / Тормозная система / Система ESC (электронный контроль устойчивости)

Компоненты и расположение компонентов
Компоненты

1. Модуль управления ESC
2. Датчик скорости переднего колеса
3. Датчик скорости заднего колеса
4. Контрольная лампа АБС
5. Контрольная лампа EBD/стояночного тормоза

Описание и работа
Описание ЭСК

Электронный контроль устойчивости (ESC) распознает критические условия вождения, такие как как панические реакции в опасных ситуациях, так и стабилизирует транспортное средство с помощью отдельных колес. вмешательство в систему торможения и управления двигателем.

ESC добавляет к ABS дополнительную функцию, известную как Active Yaw Control (AYC). Функции TCS, EBD и ESC. Напротив, функция ABS/TCS контролирует проскальзывание колес. при торможении и ускорении и, таким образом, в основном вмешивается в продольную динамика автомобиля, а активный контроль рыскания стабилизирует автомобиль на вертикальная ось.

Это достигается за счет индивидуального торможения колес и адаптации мгновенный крутящий момент двигателя без необходимости каких-либо действий со стороны водителя.

ESC в основном состоит из трех узлов: датчики, электронное управление узел и приводы.

Функция контроля устойчивости работает при любых условиях вождения и эксплуатации. При определенных условиях вождения функция ABS/TCS может быть активирована одновременно. с функцией ESC в ответ на команду водителя.

В случае отказа функции контроля устойчивости основные функции безопасности функция ABS по-прежнему сохраняется.

Описание управления ESC

Система ESC состоит из функций ABS/EBD, TCS и AYC.

Функция ABS/EBD: ЭБУ изменяет активный сигнал датчика (текущее переключение), поступающее от четырех колесных датчиков в прямоугольные волны. Используя ввод вышеуказанных сигналов, ЭБУ вычисляет скорость автомобиля, а также ускорение и торможение автомобиля. четыре колеса. И ECU решает, следует ли активировать ABS / EBD или нет.

Функция TCS предотвращает проскальзывание колес в направлении движения, добавляя тормозное давление. и снижение крутящего момента двигателя по шине CAN. Функция TCS использует скорость вращения колеса. сигнал датчика для определения проскальзывания колеса до функции ABS.

Функция AYC предотвращает неустойчивое маневрирование автомобиля. Для определения транспортного средства маневр, функция AYC использует сигналы датчика маневра (датчик скорости рыскания, боковой датчик ускорения и датчик угла поворота рулевого колеса).

Если маневр автомобиля нестабилен (избыточная или недостаточная поворачиваемость), применяется функция AYC. тормозное давление на определенном колесе и посылает сигнал снижения крутящего момента двигателя МОЖЕТ.

После включения зажигания ЭБУ непрерывно диагностирует отказ системы (самодиагностика). Если обнаружен сбой системы, ЭБУ информирует водителя о сбое системы. через контрольную лампу BRAKE/ABS/ESC (предупреждение отказоустойчивости).

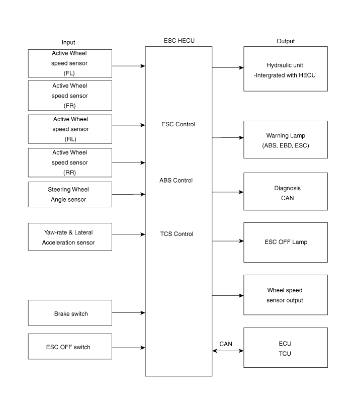
Диаграмма ввода и вывода

Режим работы регулятора скорости
Схема гидравлической системы ESC

1.

ESC не работает: нормальное торможение.

Соленоидный клапан
Преемственность
Клапан
Мотопомпа
Клапан ТК
В (НЕТ)
ВЫКЛЮЧЕННЫЙ
ОТКРЫТЬ
ВЫКЛЮЧЕННЫЙ
ВЫКЛЮЧЕННЫЙ
ВЫХОД (НЗ)
ВЫКЛЮЧЕННЫЙ
ЗАКРЫВАТЬ

2.

работа регулятора скорости

Соленоидный клапан
Преемственность
Клапан
Мотопомпа
Клапан ТК
недостаточная поворачиваемость
(Только внутри
Заднее колесо)
В (НЕТ)
ВЫКЛЮЧЕННЫЙ
ОТКРЫТЬ
НА
НА
ВЫХОД(НЗ)
ВЫКЛЮЧЕННЫЙ
ЗАКРЫВАТЬ
избыточная поворачиваемость
(Только снаружи
переднего колеса)

В (НЕТ)
ВЫКЛЮЧЕННЫЙ
ОТКРЫТЬ
ВЫХОД(НЗ)
ВЫКЛЮЧЕННЫЙ
ЗАКРЫВАТЬ

Модуль контрольной лампы АБС

Активный модуль контрольной лампы АБС указывает на состояние самопроверки и неисправности. АБС. Контрольная лампа ABS загорается при следующих условиях:

Во время фазы инициализации после IGN ON. (непрерывно 3 секунды).

В случае торможения работы АБС по отказу.

В режиме диагностики.

Когда разъем ECU отделен от ECU.

Лампа кластера горит, когда связь с модулем CAN невозможна.

Модуль контрольной лампы EBD/стояночного тормоза

Активный модуль контрольной лампы EBD указывает на состояние самопроверки и неисправности. из ЕБД. Однако, если переключатель стояночного тормоза включен, предупреждение EBD лампа всегда включена независимо от функций EBD. Контрольная лампа EBD горит на следующих условиях:

Во время фазы инициализации после IGN ON. (непрерывно 3 секунды).

Когда переключатель стояночного тормоза включен или уровень тормозной жидкости низкий.

Когда функция EBD вышла из строя.

В режиме диагностики.

Когда разъем ECU отделен от ECU.

Лампа кластера горит, когда связь с модулем CAN невозможна.

Функция ESC/сигнальная лампа

Функциональная/предупредительная лампа ESC указывает на состояние самопроверки и неисправности системы. ESC.

Функциональная/контрольная лампа ESC загорается при следующих условиях:

Во время фазы инициализации после IGN ON. (непрерывно 3 секунды).

Когда функция ESC заблокирована из-за сбоя системы.

Когда управление ESC работает. (мигание - 2 Гц)

В режиме диагностики (кроме стандартного режима).

Лампа кластера горит, когда связь с модулем CAN невозможна.

Лампа выключения ESC

Лампа ESC Off указывает на самопроверку и рабочее состояние ESC.

Индикатор ESC Off работает при следующих условиях:

В режиме инициализации после IGN ON. (непрерывно 3 секунды).

Лампа ESC Off загорается, когда водитель нажимает кнопку ESC Off.

Переключатель ESC вкл./выкл.

Переключатель ESC On/Off используется для переключения функции ESC между состояниями On/Off. на основе действий водителя.

Выключатель Вкл/Выкл представляет собой нормально разомкнутый контактный выключатель мгновенного действия. Закрытые контакты переключите цепь на зажигание.

Исходное состояние функции ESC включено и состояние переключателя.

Датчик скорости заднего колеса
Компоненты и расположение компонентов Компоненты [Тип моста с торсионной балкой] 1. Разъем датчика скорости заднего колеса 2. Датчик скорости заднего колеса ...
Модуль управления ESC
Компоненты и расположение компонентов Компоненты 1. Передняя правая труба 2. Задняя - левая трубка 3. Задняя правая трубка 4. Передняя левая труба 5. МЦ СПК 6. МС ПРИ...
Дополнительная информация:

Kia Forte 2019-2023 (BD) Руководство по ремонту: Датчик фронтального удара (FIS)


Описание и работа Описание • Датчик лобового столкновения (FIS) установлен в переднем концевом модуле (FEM). • FIS — это удаленный датчик, который определяет ускорение из-за столкновения на место его установки. • ...

Kia Forte 2019-2023 (BD) Руководство по эксплуатации: Предупреждение о непристегнутом ремне переднего пассажира


Когда ключ зажигания находится в положении ON или двигатель заводится с переднего пассажира ремень безопасности не пристегнут, предупреждение индикатор будет гореть до тех пор, пока ремень не будет пристегнут. Когда ключ зажигания включен или двигатель запускается с передней ремень безопасности пассажира пристегнут, сигнальная лампа останется f ...