Kia Forte: система контроля выбросов выхлопных газов / система CVVT (бесступенчатая регулировка фаз газораспределения)

Киа Kia Forte 2019-2023 (БД) Руководство по ремонту / Система контроля выбросов / Система контроля выбросов выхлопных газов / Система CVVT (бесступенчатая регулировка фаз газораспределения)

Описание и работа
Описание

Система непрерывного изменения фаз газораспределения (CVVT) опережает или задерживает клапан. синхронизация впускного и выпускного клапана в соответствии с управляющим сигналом ECM который рассчитывается по частоте вращения двигателя и нагрузке.

При управлении CVVT происходит перекрытие или недопуск клапана, что улучшает экономия топлива и снижение выхлопных газов (NOx, HC) и улучшение характеристик двигателя за счет снижения насосных потерь, внутреннего эффекта рециркуляции отработавших газов, улучшения сгорания стабильность, улучшение объемного КПД и увеличение работы расширения.

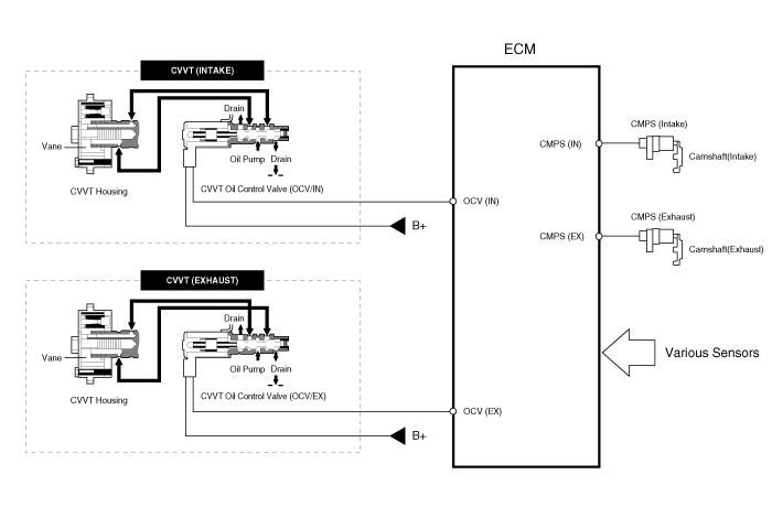
Эта система состоит из

Клапан управления маслом CVVT (OCV), который регулирует подачу моторного масла туда и обратно фазовращатель кулачка в соответствии с управлением ECM PWM (Pulse With Modulation) сигнал,

и Cam Phaser, который изменяет фазу кулачка с помощью гидравлического сила моторного масла.

Моторное масло, вытекающее из клапана управления маслом CVVT, изменяет фазу кулачка. в направлении (опережение впуска/замедление выпуска) или в противоположном направлении (замедление впуска/замедление выпуска). Опережение) вращения двигателя за счет вращения ротора, соединенного с распределительным валом внутри кулачкового фазовращателя.

Принцип работы

CVVT имеет механизм, вращающий лопасть ротора с создаваемой гидравлической силой. моторным маслом, подаваемым в камеру опережения или замедления в соответствии с Управление масляным клапаном CVVT.

[Системный режим CVVT]

(1) Низкая скорость/низкая нагрузка
(2) Частичная нагрузка


(3) Низкая скорость/высокая нагрузка
(4) Высокая скорость/высокая нагрузка



Вождение
Состояние
Выхлопной клапан
Впускной клапан
Клапан
Сроки
Эффект
Клапан
Сроки
Эффект
(1) Низкая скорость
/Низкая нагрузка
Полностью
Продвигать
* Нижний клапан клапана
* Улучшение стабильности горения
Полностью
Замедлить
* Нижний клапан клапана
* Улучшение стабильности горения
(2) Частичная нагрузка
Замедлить
* Увеличение работы расширения
* Снижение насосных потерь
* Снижение НС
Замедлить
* Снижение насосных потерь
(3) Низкая скорость
/Высокая нагрузка
Замедлить
* Увеличение работы расширения
Продвигать
* Предотвращение обратного потока на впуске (улучшение объемной эффективности)
(4) Высокая скорость
/Высокая нагрузка
Продвигать
* Снижение насосных потерь
Замедлить
* Улучшение объемной эффективности

Каталитический нейтрализатор
Описание и работа Описание Каталитический нейтрализатор бензинового двигателя представляет собой трехкомпонентный катализатор. Он окисляется окись углерода и углеводороды (HC), и отделяет кислород от ...
Управление двигателем/топливная система
Сервисные данные Сервисные данные Система подачи топлива Предметы Спецификация Топливный бак Емкость 50 л (13,2 галлона США, ...
Дополнительная информация:

Kia Forte 2019-2023 (BD) Руководство по обслуживанию: Переднее сиденье в сборе


Компоненты и расположение компонентов Расположение компонента 1. Переднее сиденье в сборе Процедуры ремонта Замена 1. Откройте крышку и ослабьте болты крепления переднего сиденья. [Передний] Момент затяжки : ...

Kia Forte 2019-2023 (BD) Руководство по эксплуатации: Регулировка высоты вверх и вниз


Чтобы поднять подголовник, потяните его вверх желаемое положение (1). Чтобы понизить подголовник, нажмите и удерживайте фиксатор кнопка (2) на опоре подголовника и опустите подголовник до нужного положение (3). ✽ УВЕДОМЛЕНИЕ Если откинуть спинку сиденья в сторону передняя часть с подголовником и сиденьем...