Hyundai Tucson: Система ESC (электронная система стабилизации) / Описание и работа

Описание ЭСК
У оптимальной безопасности вождения теперь есть имя: ESC, электронная программа стабилизации.
ESC распознает критические условия вождения, такие как паника реакции в опасных ситуациях и стабилизирует автомобиль за счет индивидуальное торможение колес и вмешательство в управление двигателем.
ESC добавляет дополнительную функцию, известную как Active Yaw Control (AYC). к функциям ABS, TCS, EBD и ESC. В то время как функция ABS/TCS контролирует проскальзывание колес при торможении и ускорении и, таким образом, в основном вмешивается в продольную динамику автомобиля, активное рыскание Управление стабилизирует транспортное средство относительно его вертикальной оси.
Это достигается за счет индивидуального торможения колес и адаптация мгновенного крутящего момента двигателя без необходимости каких-либо действий для возьмет водитель.
ESC в основном состоит из трех узлов: датчиков, электронного блока управления и приводов.
Функция контроля устойчивости работает при любом вождении и условия эксплуатации. В определенных условиях движения ABS/TCS функция может быть активирована одновременно с функцией ESC в реакция на команду водителя.
В случае отказа функции контроля устойчивости основная функция безопасности, ABS, продолжает работать.

Описание управления ESC
Система ESC включает функции ABS/EBD, TCS и AYC.
Функция ABS/EBD: ECU изменяет активный сигнал датчика (текущий сдвиг), поступающий от четырех колесных датчиков к прямоугольной волне. Используя ввод вышеуказанных сигналов, ECU рассчитывает транспортное средство скорость и ускорение и замедление четырех колес. И, ECU решает, следует ли активировать ABS/EBD или нет.
Функция TCS предотвращает проскальзывание колеса в направлении движения путем добавление тормозного давления и снижения крутящего момента двигателя через CAN коммуникация. Функция TCS использует сигнал датчика скорости вращения колеса для определить проскальзывание колес с помощью функции ABS.
Функция AYC предотвращает неустойчивое маневрирование автомобиля. К определить маневр автомобиля, функция AYC использует датчик маневра сигналы (датчик скорости рыскания, датчик бокового ускорения, рулевое колесо Датчик угла).
Если маневр автомобиля нестабилен (избыточная или недостаточная поворачиваемость), Функция AYC применяет тормозное давление к определенному колесу и отправляет сигнал снижения крутящего момента двигателя по CAN.
После включения зажигания ЭБУ непрерывно диагностирует систему. отказ. (самодиагностика) Если обнаружен сбой в системе, ЭБУ информирует водителя о сбое системы посредством предупреждения BRAKE/ABS/ESC лампа. (отказоустойчивое предупреждение)

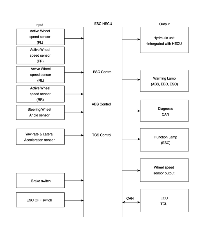
Диаграмма ввода и вывода

Режим работы регулятора скорости
Схема гидравлической системы ESC

1.
ESC не работает: нормальное торможение.
Соленоидный клапан
Преемственность
Клапан
Мотопомпа
Клапан ТК
В (НЕТ)
ВЫКЛЮЧЕННЫЙ
ОТКРЫТЬ
ВЫКЛЮЧЕННЫЙ
ВЫКЛЮЧЕННЫЙ
ВЫХОД (НЗ)
ВЫКЛЮЧЕННЫЙ
ЗАКРЫВАТЬ

2.
работа регулятора скорости
Соленоидный клапан
Преемственность
Клапан
Мотопомпа
Клапан ТК
недостаточная поворачиваемость
(Только внутри
Заднее колесо)
В (НЕТ)
ВЫКЛЮЧЕННЫЙ
ОТКРЫТЬ
НА
НА
ВЫХОД(НЗ)
ВЫКЛЮЧЕННЫЙ
ЗАКРЫВАТЬ
избыточная поворачиваемость
(Только снаружи
переднего колеса)
В (НЕТ)
ВЫКЛЮЧЕННЫЙ
ОТКРЫТЬ
ВЫХОД(НЗ)
ВЫКЛЮЧЕННЫЙ
ЗАКРЫВАТЬ

Модуль контрольной лампы АБС
Активный модуль контрольной лампы АБС указывает на самопроверку и состояние отказа АБС. Контрольная лампа АБС должна гореть:
-
Во время фазы инициализации после IGN ON. (непрерывно 3 секунды).
-
В случае торможения работы АБС по отказу.
-
В режиме диагностики.
-
Когда разъем ECU отделен от ECU.
-
Лампа кластера горит, когда связь с модулем CAN невозможна.
Модуль контрольной лампы EBD/стояночного тормоза
Активный модуль контрольной лампы EBD указывает на самопроверку и состояние неисправности EBD. Однако, если переключатель стояночного тормоза включена, контрольная лампа EBD всегда горит независимо от Функции ЭБД. Контрольная лампа EBD должна гореть:
-
Во время фазы инициализации после IGN ON. (непрерывно 3 секунды).
-
Когда переключатель стояночного тормоза включен или уровень тормозной жидкости низкий.
-
Когда функция EBD вышла из строя.
-
В режиме диагностики.
-
Когда разъем ECU отделен от ECU.
Контрольная лампа ESC (система ESC)
Контрольная лампа ESC указывает на самопроверку и состояние неисправности ESC.
Контрольная лампа ESC загорается при следующих условиях:
-
Во время фазы инициализации после IGN ON. (непрерывно 3 секунды).
-
Когда функция ESC заблокирована из-за сбоя системы.
-
Когда управление ESC работает. (мигание - 2 Гц)
-
В режиме диагностики. (Кроме стандартного режима)
-
Лампа кластера горит, когда связь с модулем CAN невозможна.
Лампа отключения ESC (система ESC)
Лампа ESC Off указывает на самопроверку и рабочее состояние ESC.
Индикатор ESC Off работает при следующих условиях:
-
В режиме инициализации после IGN ON. (непрерывно 3 секунды).
-
Лампа ESC Off загорается, когда водитель нажимает кнопку ESC Off.
Переключатель включения/выключения ESC (система ESC)
Переключатель ESC On/Off должен использоваться для переключения функции ESC между состояниями On/Off в зависимости от действий водителя.
Выключатель Вкл/Выкл должен быть нормально разомкнутым контактным выключателем мгновенного действия. Замкнутые контакты переключают цепь на зажигание.
Начальное состояние функции ESC включено, и переключатель переключает состояние.
Компоненты и расположение компонентов
Компоненты [левый руль] 1. Модуль управления ESC (HECU)2. Датчик скорости переднего колеса 3. Датчик скорости заднего колеса 4. Датчик продольного ускорения (только для 4WD)5. Контрольная лампа стояночного тормоза/ EBD6. Контрольная лампа ESC7. Сте ...
Схематические диаграммы
Вход/выход разъема ESC Клемма разъемаСпецификацияПримечание№Описание29IGNITION1(+)Высокий уровень напряжения пробуждения: 5,0 В < В < 16,0 В Низкий уровень напряжения пробуждения В < 2,4 В Макс. текущий ...
Дополнительная информация:

Hyundai Tucson (LM) 2010-2015 Руководство по обслуживанию: Поиск и устранение неисправностей датчика входной скорости
Форма сигнала Рис. 1) Входной/выходной датчик скорости на низкой скорости Рис. 2) Входной/выходной датчик скорости на высокой скорости...

Hyundai Tucson (LM) 2010-2015 Руководство по обслуживанию: Масляный регулирующий клапан CVVT (OCV) Процедуры ремонта
осмотр 1. Выключите зажигание. 2. Отсоедините разъем OCV. 3. Измерьте сопротивление между клеммами 1 и 2 OCV. 4. Убедитесь, что сопротивление находится в пределах спецификации. Спецификация: см. «Технические характеристики» Удаление 1. Поверните ключ зажигания...