Hyundai Tucson manuels

Hyundai Tucson Automotive Service Manual: Процедуры ремонта

ДЕПОЗИТ
1.
Поднимите автомобиль и убедитесь, что он правильно заблокирован.
2.
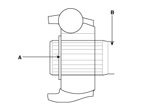
Снимите переднее колесо/шину в сборе (А) со ступицы.
Момент затяжки:
88,3 ~ 107,9 Нм (9,0 ~ 11,0 кгс·м, 65,1 ~ 79,6 фунт-фут)

Будьте осторожны, чтобы не повредить болты ступица, пока вы снимаете переднее колесо и шину (В).
3.
Ослабьте герметизирующую гайку (А).
Момент затяжки:
294,2 ~ 313,8 Н·м (30,0 ~ 32,0 кгс·м, 217,0 ~ 231,5 фунт-фут)

Необходимо заменить гайку сальника задней ступицы по новой.
После установки герметизирующей гайки (А) с зубилом и молотком.
4.
Ослабьте гайки крепления поворотного рычага, затем снимите поворотный рычаг. колебательный (А).
Момент затяжки:
98,1 ~ 117,7 Н·м (10,0 ~ 12,0 кгс·м, 72,3 ~ 86,6 фунт-фут)

5.
Ослабьте гайку и болт крепления заднего верхнего рычага, затем снимите задний верхний рычаг (А).
Момент затяжки:
98,1 ~ 117,7 Н·м (10,0 ~ 12,0 кгс·м, 72,3 ~ 86,6 фунт-фут)

Отрегулируйте домкрат трансмиссии под нижним рычагом, чтобы снять амортизатор, когда нет нагрузки.

6.
Ослабьте болт и гайку, затем снимите дополнительный рычаг.
Момент затяжки:
137,3 ~ 156,9 Нм (14,0 ~ 16,0 кгс·м, 101,3 ~ 115,7 фунт-фут)

7.
Отсоедините карданный вал (А) от задней ступицы.

8.
Ослабьте гайку и болт крепления нижнего рычага, а затем снимите кронштейн заднего моста, чтобы снять задний приводной вал.
Момент затяжки:
137,3 ~ 156,9 Нм (14,0 ~ 16,0 кгс·м, 101,3 ~ 115,7 фунт-фут)

9.
Вставьте рычаг между корпусом дифференциала и корпусом уплотнения и отделите приводной вал от корпуса дифференциала.

Используйте рычаг, стараясь не повредить редуктор и прокладка.
Не вставляйте рычаг слишком далеко, так как это может повредить сальник.
Не тяните карданный вал слишком сильно, так как это может отделить компоненты, содержащиеся в комплекте прокладку, которая может разорвать сильфон или повредить шаг.
Во избежание загрязнения заткните отверстие в редукторе крышкой сальника.
Правильно держите карданный вал.
Заменяйте стопорное кольцо каждый раз, когда вы снимаете трансмиссионный вал из картера коробки передач.
10.
Для установки выполните процедуру, обратную снятию.
11.
Проверьте заднюю центровку.
(См. Система подвески — «Развал-схождение»)
РАЗБОРКА
Не разбирайте узел уплотнения Birfield.
На уплотнение вала необходимо нанести специальную смазку. передача инфекции. Не заменяйте его смазкой другого типа.
Манжету сильфонного уплотнения следует заменить новый.
1.
Снимите манжеты сильфона со штативного шарнира и потяните за сильфон. его от его внешнего кольца.
(1)
С помощью плоскогубцев или плоской отвертки (-) снимите Пылезащитная лента G и пылезащитная лента TJ G трансмиссионного вала.
(2)
Снимите правый сильфонный хомут и сильфонный хомут. справа от штативного шарнира так же, как и слева.
Будьте осторожны, чтобы не повредить сильфонное уплотнение.
2.
Извлеките вал трансмиссии из наружного кольца шарнира треноги.
3.
Снимите стопорное кольцо (A) и извлеките внутреннее кольцо (B), сепаратор (C). и шары (D) вместе.

4.
Очистите внутреннюю обойму, сепаратор и шарики, не разбирая их.
5.
Снимите полоски с пылезащитной крышки JB и вытащите пылезащитную крышку. TJ и пылезащитный чехол JB.
Если необходимо повторно использовать сильфон (А), поместите изоляцию (B) вокруг шлицов вала двигателя (C) для защиты сильфона (A).

Сборка
1.
Оберните изолентой все шлицы приводного вала. (со стороны штативного шарнира), чтобы не повредить сильфон.
2.
Нанесите смазку на карданный вал и установите мехи.
3.
Нанесите указанную смазку на внутреннюю обойму (A) и сепаратор. (Б). Установите клетку (B) так, чтобы она располагалась относительно пути, как показано.
Используйте смазку из ремонтного комплекта.

4.
Нанесите указанную смазку на сепаратор и поместите шарики в клетка.
5.
Расположите сторону фаски (A), как показано на рисунке. Установить внутреннее кольцо на валу коробки передач (B) и эластичное кольцо.

6.
Нанесите указанную смазку на наружное кольцо и установите наружное кольцо шарового шарнира на приводном валу.
7.
Нанесите указанную смазку на чехол шарнира треноги и зафиксируйте чехол зажимом.
8.
Затяните сильфонные хомуты штативного шарнира.
9.
Добавьте указанную смазку в уплотнение Birfield в количестве, удаленном при осмотре.
10.
Установите сильфоны.
11.
Затяните сильфонные хомуты Билефельда.
Компоненты и расположение компонентов
КОМПОНЕНТЫ 1. Задний карданный вал г 2. Муфта в сборе 3. Кормовая часть палубы 4. Задний приводной вал Д 5. Тр...

Установка карданного вала / карданного вала
...
Другие материалы:

Внутренняя ручка задней двери: Порядок ремонта
ЗАМЕНА 1. Снимите обивку задней двери. (См. Задняя дверь — «Облицовка задней двери») 2. Ослабив крепежные винты, снимите внутреннюю ручку. задняя дверь...

Масляный насос
Описание и работа Описание • Масляный насос объединен в единое целое с тормозной камерой 26. • Вращение насоса создает гидравлическое давление, необходимое для смазка различных р ...