Hyundai Palisade: система беспроводной зарядки / блок беспроводной зарядки

Hyundai Palisade (LX2) 2020-2023 Руководство по ремонту / Электрическая система кузова / Система беспроводной зарядки / Блок беспроводной зарядки

Компоненты и позиции
Компоненты

Hyundai Palisade. Components and positions

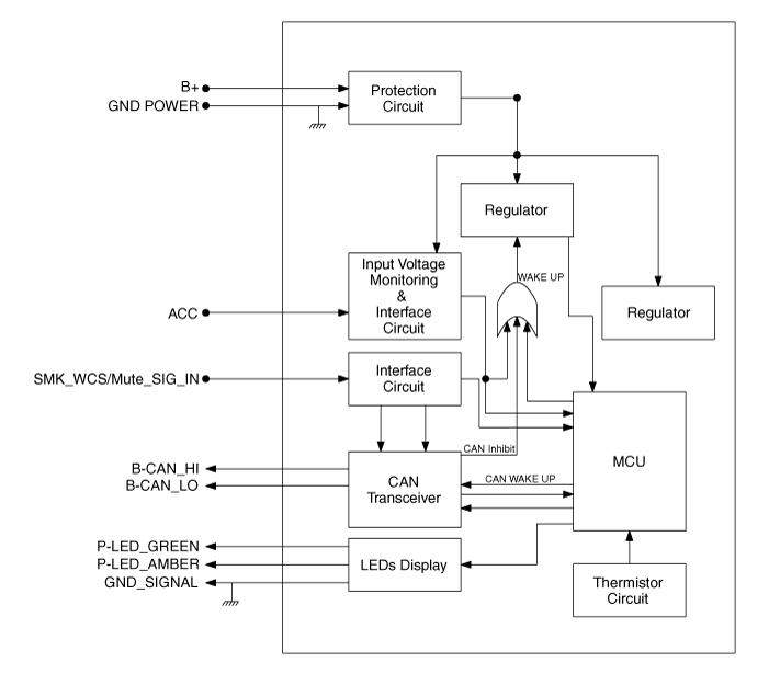
Принципиальная электрическая схема
Принципиальная электрическая схема

Hyundai Palisade. Circuit diagram

Процедуры ремонта
Удаление
Hyundai Palisade. Repair procedures
Прикосновение к частям системы беспроводной зарядки мокрыми руками может привести к поражению электрическим током. шок.
1.
Отсоедините отрицательную (-) клемму аккумуляторной батареи.
2.
Снимите крышку напольной консоли в сборе.
(См. Кузов — «Узел напольной консоли»)
3.
Снимите блок беспроводного зарядного устройства после отсоединения разъема.

Hyundai Palisade. Repair procedures

Монтаж
1.
Подсоедините разъемы блока беспроводной зарядки.
2.
Установите блок беспроводной зарядки.
3.
Установите напольную консоль в сборе.
4.
Подсоедините отрицательную (-) клемму аккумуляторной батареи.
[Диагностика с помощью KDS/Diagnostic инструмент]
1.
В электрической системе тела неисправность можно быстро диагностировать с помощью система диагностики автомобиля (Diagnostic tool).
Диагностическая система (диагностический инструмент) предоставляет следующую информацию.
(1)
Поиск кода неисправности: проверка неисправности и кодового номера (DTC)
(2)
Анализ данных: проверка состояния входных/выходных данных системы
(3)
Проверка срабатывания: Проверка состояния работы системы
(4)
S/W Management: Управление другими функциями, включая систему настройка параметров и регулировка нулевой точки
2.
Если диагностировать автомобиль с помощью диагностического инструмента, выберите «Анализ DTC» и "Транспортное средство".

Hyundai Palisade. Repair procedures

3.
Если проверить текущий статус, выберите «Анализ данных».

Hyundai Palisade. Repair procedures

4.
Выберите «WPC» для поиска текущего состояния входных/выходных данных.

Hyundai Palisade. Repair procedures

Hyundai Palisade. Repair procedures

5.
Чтобы принудительно активировать входное значение проверяемого модуля, выберите опция «Проверка активации».

Hyundai Palisade. Repair procedures

Описание и принцип работы

Описание и работа Система беспроводной зарядки Во время ACC или IG ON напряжение батареи подается на беспроводное зарядное устройство. система для передачи выходной мощности 5 Вт на мобильный телефон...

Лампа беспроводной зарядки

Компоненты и позиции Компоненты Процедуры ремонта Удаление Прикосновение к частям системы беспроводной зарядки мокрыми руками может привести к поражению электрическим током. шок...

Дополнительная информация:

Hyundai Palisade (LX2) 2020-2023 Руководство по техническому обслуживанию: Электрокнопка переключения передач


Процедуры ремонта Удаление 1. Выключите зажигание и отсоедините отрицательный (-) кабель аккумуляторной батареи. 2. Снимите верхнюю крышку консоли. (См. Кузов — «Узел напольной консоли») 3...

Hyundai Palisade (LX2) 2020-2023 Руководство по техническому обслуживанию: Стекло передней двери


Компоненты и расположение компонентов Расположение компонента 1. Стекло передней двери Процедуры ремонта Замена • Наденьте перчатки, чтобы не поранить руки...

Категории

Задние сиденья

Регулировка заднего сиденья

Hyundai Palisade. Rear Seats

Вперед и назад (2-й ряд сидений)

Чтобы сдвинуть сиденье вперед или назад:

1. Потяните за регулировку скольжения сиденья. рычаг вверх и удерживайте его.

2. Сдвиньте сиденье в нужное положение. желание.

читать далее