Hyundai Palisade: Система зарядки / Процедуры ремонта

Hyundai Palisade (LX2) 2020-2023 Руководство по ремонту / Электрическая система двигателя / Система зарядки / Процедуры ремонта

осмотр
Пункт проверки
Проверка эффективности батареи
Проверка напряжения батареи
Проверка зарядного напряжения
Общий осмотр
Проверка состояния затяжки клемм
Проверка состояния двигателя/коробки передач
Проверка состояния заземления жгута проводов
Проверка заданного электрического значения
Контроль паразитных токов автомобиля
Проверка емкости аккумулятора
Проверка эффективности батареи
Hyundai Palisade. Repair procedures
Убедитесь, что кабели аккумуляторной батареи подключены к правильным клеммам.
Отсоедините кабели аккумулятора, когда батарея быстро разрядится. заряжать.
Никогда не отсоединяйте аккумуляторную батарею при работающем двигателе.
Hyundai Palisade. Repair procedures
Проверьте тест батареи с помощью нагрузочного тестера и тестера батареи.
Проверка напряжения батареи
1.
После вождения автомобиля и в случае, если прошло 20 минут. не прошло после остановки двигателя, поверните ключ зажигания ON и включите электрическую систему (фары, электродвигатель вентилятора, обогреватель заднего стекла). д.) в течение 60 секунд для снятия поверхностного заряда.
2.
Выключите зажигание и выключите электрические системы.
3.
Измерьте напряжение батареи между отрицательным (-) и положительным (+) клеммы аккумулятора.
Стандартное напряжение: около 12,5–12,9 В (20 °C)
Если напряжение ниже указанного, зарядите аккумулятор.
Общий осмотр
1.
Убедитесь, что клеммы аккумулятора не ослаблены и не повреждены коррозией.
(См. Система зарядки — «Аккумулятор»)
2.
Проверьте предохранители на непрерывность.
Предохранитель генератора
(1)
Проверьте предохранитель генератора на непрерывность.

Hyundai Palisade. Repair procedures

(2)
Измерьте напряжение, как показано на рисунке ниже.
Стандартное значение: приблизительно 0 В

Hyundai Palisade. Repair procedures

(3)
Если предохранитель генератора перегорел, замените его в соответствии с процедурой ниже:
а.
Выключите зажигание и отсоедините аккумулятор минусовая (-) клемма.
б.
Снимите гайки крепления положительного (+) кабеля аккумуляторной батареи. (А).
в.
Отсоедините положительный (+) кабель аккумуляторной батареи (В).
д.
Замените обычный предохранитель генератора или кабель аккумулятора.
е.
Установите в порядке, обратном снятию.
Предохранитель датчика батареи
(4)
Проверьте предохранитель датчика аккумуляторной батареи на непрерывность.
(5)
Если предохранитель генератора перегорел, замените датчик аккумуляторной батареи. предохранитель.
(6)
Измерьте напряжение.
Стандартное значение: приблизительно 0 В
3.
Осмотрите приводной ремень
(1)
Визуально проверьте ремень на наличие чрезмерного износа, потертых шнуров и т. д.
При обнаружении дефекта замените приводной ремень.
Hyundai Palisade. Repair procedures
Трещины на ребре ремня считаются приемлемый. Если на ремне отсутствуют куски ребра, его следует заменить.

Hyundai Palisade. Repair procedures

4.
Измерьте и отрегулируйте натяжение приводного ремня.
(См. Механическая система двигателя — «Приводной ремень»)
5.
Визуально проверьте проводку генератора и прислушайтесь к ненормальным шумам.
(1)
Убедитесь, что проводка находится в хорошем состоянии.
(2)
Убедитесь в отсутствии ненормального шума от генератора во время двигатель работает.
6.
Проверьте цепь сигнальной лампы разрядки
(1)
Прогрейте двигатель, а затем выключите его.
(2)
Выключите все аксессуары.
(3)
Включите зажигание. Убедитесь, что предупреждение о разрядке свет горит.
(4)
Запустить двигатель. Убедитесь, что свет горит.
Если индикатор не гаснет, как указано, устраните неисправность цепь разрядного фонаря.
Государственная инспекция клеммной затяжки
Hyundai Palisade. Repair procedures
Состояние клемм B+ генератора
Затяжная гайка клеммы B+ генератора
Состояние положительной (+) клеммы аккумулятора
Состояние затяжки положительной (+) клеммы аккумулятора
Состояние отрицательной (-) клеммы аккумулятора
Состояние затяжки отрицательной (-) клеммы аккумуляторной батареи
Состояние затяжки болта крепления отрицательной (-) клеммы аккумуляторной батареи (Заземление)
Состояние клеммы отрицательного (-) датчика аккумулятора (с датчиком аккумулятора)
Состояние затяжки отрицательной (-) клеммы датчика аккумуляторной батареи (с датчик батареи)
Затяжка болта крепления отрицательной (-) клеммы датчика аккумуляторной батареи состояние (масса шасси) [с датчиком батареи]
Положительное (+) состояние жгута проводов блока предохранителей и реле в моторном отсеке
Затяжка положительного (+) жгута проводов блока предохранителей и реле в моторном отсеке ореховое состояние
Проверьте состояние замыкания на землю по окраске шасси.
Расположение контрольного компонента

Hyundai Palisade. Repair procedures

1. Клемма B+ генератора
2. Положительная (+) клемма блока предохранителей и реле в моторном отсеке.
3. Отрицательная (+) клемма аккумулятора
4. Отрицательная (-) клемма аккумуляторной батареи
5. Заземление шасси

Проверка состояния двигателя/ коробки передач
Hyundai Palisade. Repair procedures
Основное состояние
Состояние затяжки крепежных болтов (шасси)
Состояние затяжки крепежных болтов (двигатель)
Проверьте состояние замыкания на землю по окраске шасси.
Проверка состояния заземления жгута проводов
Hyundai Palisade. Repair procedures
Основное состояние
Состояние затяжки крепежных болтов (шасси)
Состояние затяжки крепежных болтов (двигатель)
Проверьте состояние замыкания на землю по окраске шасси.

Hyundai Palisade. Repair procedures

1. Масса двигателя (двигатель ↔ шасси)
2. Масса коробки передач (коробка передач ↔ шасси)

Hyundai Palisade. Repair procedures
Проверьте точку заземления.
(См. Схема жгута ETM — «Точка заземления»)
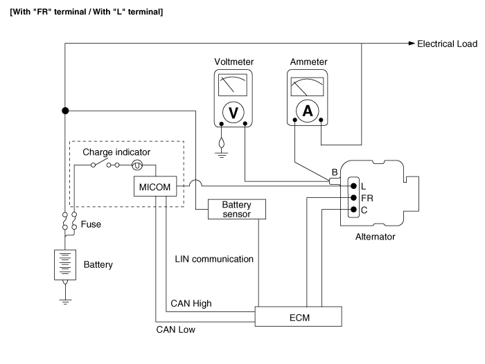
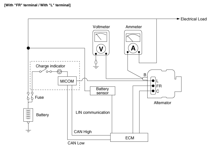
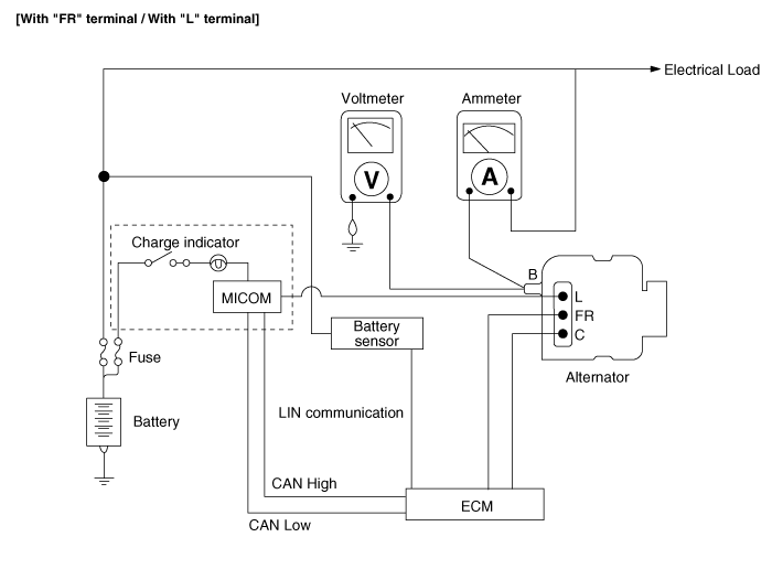
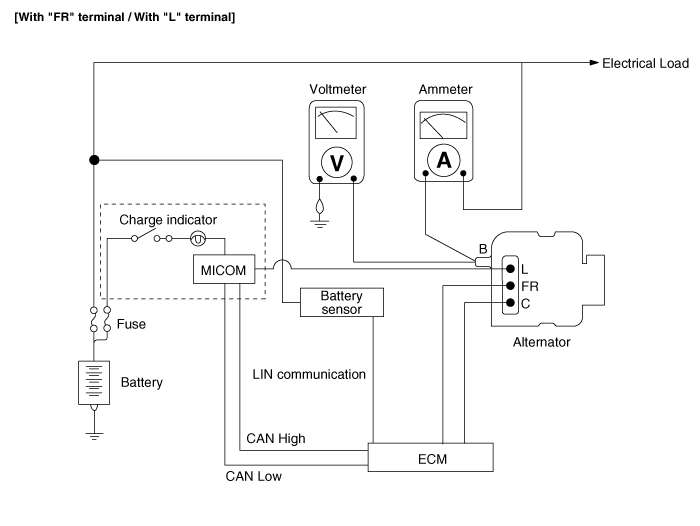
Проверка заданного электрического значения (с помощью вольтметра и амперметра)
1.
Испытание на падение напряжения выходного провода генератора переменного тока
Этот тест определяет, подключена ли проводка между генератором Клемма «В» и клемма аккумулятора (+) исправны по падению напряжения метод.
(1)
Подготовка
а.
Поверните ключ зажигания в положение «ВЫКЛ».
б.
Отсоедините выходной провод от клеммы «В» генератора. Подсоедините провод (+) амперметра к клемме «В». генератора и провод (-) амперметра к выходной провод. Подсоедините провод (+) вольтметра к клемме «В» генератора и проводу (-) вольтметра к клемме (+) аккумулятора.

Hyundai Palisade. Repair procedures

(2)
Тест
а.
Запустить двигатель.
б.
Включите фары и мотор вентилятора, отрегулируйте двигатель скорость до тех пор, пока амперметр не покажет 20А, и снимите показания вольтметра.
(3)
Результат
а.
Вольтметр может показывать стандартное значение.
Стандартное значение: 0,2 В макс.
б.
Если значение вольтметра выше ожидаемого (выше 0,2 В макс.), подозревается неисправность проводки. В этом случае проверьте проводку от клеммы "В" генератора к клемме аккумулятора (+). Проверьте наличие ослабленных соединений, изменение цвета из-за перегрева жгута и т.п. Исправить их перед повторным тестированием.
в.
По завершении проверки установите обороты двигателя на на холостом ходу. Выключите фары, двигатель вентилятора и зажигание. выключатель.
2.
Тест выходного тока
Этот тест определяет, дает ли генератор выходной ток что эквивалентно нормальному выходу.
(1)
Подготовка
а.
Перед испытанием проверьте следующие пункты и исправьте как надо.
Проверьте аккумулятор, установленный в автомобиле, чтобы убедиться, что что он в хорошем состоянии. Обратитесь к разделу «Аккумулятор». раздел для проверки батареи.
Батарея, используемая для проверки выходного тока, должна быть частично разряжен.
При полностью заряженном аккумуляторе тест может не проводиться правильно из-за недостаточной нагрузки.
Проверьте натяжение ремня привода генератора. Ссылаться в раздел «Осмотр приводного ремня» для проверки натяжение ремня.
б.
Выключите зажигание.
в.
Отсоедините кабель заземления аккумуляторной батареи.
д.
Отсоедините выходной провод генератора от генератора. Терминал «Б».
е.
Подключите амперметр постоянного тока (от 0 до 150 А) последовательно между Клемма «В» и отсоединенный выходной провод. Быть уверенным подключить (-) подводящий провод амперметра к отключенному выходной провод.
Hyundai Palisade. Repair procedures
Надежно затяните каждое соединение, как будет течь сильный поток. Не полагайтесь на клипсы.
ф.
Подключите вольтметр (от 0 до 20 В) между клеммой «В». и земля. Подсоедините провод (+) к генератору. Клемма «В» и провод (-) должны быть заземлены.
г.
Подсоедините кабель заземления аккумулятора.
час
Оставьте капот двигателя открытым.

Hyundai Palisade. Repair procedures

Hyundai Palisade. Repair procedures

(2)
Тест
а.
Убедитесь, что вольтметр показывает одинаковое значение как напряжение аккумулятора. Если вольтметр показывает 0 В, откройте замыкание в проводе между клеммой "В" генератора и клемма аккумулятора (+) или плохое заземление.
б.
Запустите двигатель и включите фары.
в.
Установите фары на дальний свет и вентилятор отопителя. переключитесь на HIGH, быстро увеличьте скорость двигателя до 2500 об/мин и считать максимальное значение выходного тока показывает амперметр.
Hyundai Palisade. Repair procedures
После запуска двигателя зарядка ток быстро падает. Следовательно вышеуказанная операция должна быть выполнена быстро для правильного считывания максимального значения тока.
(3)
Результат
а.
Показания амперметра должны быть выше предельного значения. Если он ниже, несмотря на то, что выходной провод генератора в хорошем состоянии, снять генератор с автомобиля и протестировать его.
Предельное значение: 60% от нормы напряжения
Hyundai Palisade. Repair procedures
• Отображается номинальное значение выходного тока. на заводской табличке, прикрепленной к корпусу генератора.
Hyundai Palisade. Repair procedures
Значение выходного тока изменяется с электрическая нагрузка и температура самого генератора. Поэтому, номинальный выходной ток не может быть полученный. Если это так, держите включить фары, чтобы разрядить аккумулятор или используйте фары других транспортных средств для увеличения электрическая нагрузка.
Номинальный выходной ток не может быть получается, если температура генератора сама или температура окружающей среды слишком высокий. В таком случае снизьте температуру перед повторным тестированием.
б.
После завершения проверки выходного тока уменьшите скорость двигателя до холостого хода и выключите зажигание.
в.
Отсоедините отрицательную (-) клемму аккумуляторной батареи.
д.
Снимите амперметр, вольтметр и тахометр двигателя.
е.
Подсоедините выходной провод генератора к генератору. Терминал «Б».
ф.
Подсоедините отрицательную (-) клемму аккумуляторной батареи.
3.
Испытание регулируемым напряжением
Целью этого теста является проверка того, что электронный регулятор напряжения корректно регулирует напряжение.
(1)
Подготовка
а.
Перед испытанием проверьте следующие пункты и исправьте если необходимо.
Убедитесь, что аккумуляторная батарея, установленная на автомобиле, полностью заряжен. Обратитесь к разделу «Аккумулятор» для проверки батарея.
Проверьте натяжение ремня привода генератора. Обратитесь к Раздел «Проверить приводной ремень» для проверки натяжения ремня.
б.
Поверните ключ зажигания в положение «ВЫКЛ».
в.
Отсоедините отрицательную (-) клемму аккумуляторной батареи.
д.
Подсоедините цифровой вольтметр к клемме «В». генератора и массы. Подсоедините провод (+) вольтметр к клемме «В» генератора. Подсоедините провод (-) к хорошему заземлению или аккумулятору (-). Терминал.
е.
Отсоедините выходной провод генератора от генератора. Терминал «Б».
ф.
Подключите амперметр постоянного тока (от 0 до 150 А) последовательно между Клемма «В» и отсоединенный выходной провод. Соединять (-) подводящий провод амперметра к отключенному выходной провод.
г.
Подсоедините отрицательную (-) клемму аккумуляторной батареи.

Hyundai Palisade. Repair procedures

Hyundai Palisade. Repair procedures

(2)
Тест
а.
Включите зажигание и убедитесь, что вольтметр показывает следующее значение.
Напряжение: напряжение батареи
Если он показывает 0 В, в проводе есть обрыв. между клеммой "В" генератора и аккумулятором и клемма аккумулятора (-).
б.
Запустить двигатель. Выключите все осветительные приборы и аксессуары.
в.
Запустите двигатель на скорости около 2500 об/мин и прочтите вольтметр, когда выходной ток генератора падает до 10А или менее
(3)
Результат
а.
Если показания вольтметра не соответствуют стандарту значение, регулятор напряжения или генератор неисправен.
Регулируемое напряжение: 11,7–15,3 В
б.
Если показания вольтметра не соответствуют стандарту значение, регулятор напряжения или генератор неисправен.
в.
Отсоедините отрицательную (-) клемму аккумуляторной батареи.
д.
Снимите вольтметр и амперметр.
е.
Подсоедините выходной провод генератора к генератору. Терминал «Б».
ф.
Подсоедините отрицательную (-) клемму аккумуляторной батареи.
Проверка заданного электрического значения (с помощью вольтметра и амперметра клещевого типа)
1.
Испытание на падение напряжения выходного провода генератора переменного тока
Этот тест определяет, подключена ли проводка между генератором Клемма «В» и клемма аккумулятора (+) исправны по падению напряжения метод.
(1)
Подготовка
а.
Поверните ключ зажигания в положение «ВЫКЛ».
б.
Установите амперметр клещевого типа между положительным (+) и клемма «В» генератора.
в.
Подсоедините провод (+) вольтметра к клемме «В». генератора и (-) подводящий провод вольтметра к клемма (+) аккумулятора.

Hyundai Palisade. Repair procedures

(2)
Тест
а.
Запустить двигатель.
б.
Включите фары и мотор вентилятора, отрегулируйте двигатель скорость до тех пор, пока амперметр не покажет 20А, и снимите показания вольтметра.
(3)
Результат
а.
Вольтметр может показывать стандартное значение.
Стандартное значение: 0,2 В макс.
б.
Если значение вольтметра выше ожидаемого (выше 0,2 В макс.), подозревается неисправность проводки. В этом случае проверьте проводку от клеммы "В" генератора к клемме аккумулятора (+). Проверьте наличие ослабленных соединений, изменение цвета из-за перегрева жгута и т.п. Исправить их перед повторным тестированием.
в.
По завершении проверки установите обороты двигателя на на холостом ходу. Выключите фары, двигатель вентилятора и зажигание. выключатель.
2.
Тест выходного тока
Этот тест определяет, дает ли генератор выходной ток что эквивалентно нормальному выходу.
(1)
Подготовка
а.
Перед испытанием проверьте следующие пункты и исправьте как надо.
Проверьте аккумулятор, установленный в автомобиле, чтобы убедиться, что что это хорошее состояние. См. раздел «Аккумулятор». для проверки аккумулятора.
Батарея, используемая для проверки выходного тока, должна быть частично разряжен.
При полностью заряженном аккумуляторе тест может не проводиться правильно из-за недостаточной нагрузки.
Проверьте натяжение ремня привода генератора. Ссылаться в раздел «Осмотр приводного ремня» для проверки натяжение ремня.
б.
Выключите зажигание.
в.
Отсоедините отрицательную (-) клемму аккумуляторной батареи.
д.
Установите амперметр клещевого типа между положительным (+) и клемма «В» генератора.
е.
Подключите амперметр постоянного тока (от 0 до 150 А) последовательно между Клемма «В» и отсоединенный выходной провод. Быть уверенным подключить (-) подводящий провод амперметра к отключенному выходной провод.
Hyundai Palisade. Repair procedures
Надежно затяните каждое соединение, как будет течь сильный поток. Не полагайтесь на клипсы.
ф.
Подключите вольтметр (от 0 до 20 В) между клеммой «В». и земля. Подсоедините провод (+) к генератору. Клемма «В» и провод (-) должны быть заземлены.
г.
Подсоедините отрицательную (-) клемму аккумуляторной батареи.
час
Оставьте капот двигателя открытым.

Hyundai Palisade. Repair procedures

Hyundai Palisade. Repair procedures

(2)
Тест
а.
Убедитесь, что вольтметр показывает одинаковое значение как напряжение аккумулятора. Если вольтметр показывает 0 В, откройте замыкание в проводе между клеммой "В" генератора и клемма аккумулятора (+) или плохое заземление.
б.
Запустите двигатель и включите фары.
в.
Установите фары на дальний свет и вентилятор отопителя. переключитесь на HIGH, быстро увеличьте скорость двигателя до 2500 об/мин и считать максимальное значение выходного тока показывает амперметр.
Hyundai Palisade. Repair procedures
После запуска двигателя зарядка ток быстро падает. Следовательно вышеуказанная операция должна быть выполнена быстро для правильного считывания максимального значения тока.
(3)
Результат
а.
Показания амперметра должны быть выше предельного значения. Если он ниже, несмотря на то, что выходной провод генератора в хорошем состоянии, снять генератор с автомобиля и протестировать его.
Предельное значение: 60% от нормы напряжения
Hyundai Palisade. Repair procedures
• Отображается номинальное значение выходного тока. на заводской табличке, прикрепленной к корпусу генератора.
Hyundai Palisade. Repair procedures
Значение выходного тока изменяется с электрическая нагрузка и температура самого генератора. Поэтому, номинальный выходной ток не может быть полученный. Если это так, держите включить фары, чтобы разрядить аккумулятор или используйте фары других транспортных средств для увеличения электрическая нагрузка.
Номинальный выходной ток не может быть получается, если температура генератора сама или температура окружающей среды слишком высокий. В таком случае снизьте температуру перед повторным тестированием.
б.
После завершения проверки выходного тока уменьшите скорость двигателя до холостого хода и выключить зажигание
в.
Отсоедините отрицательную (-) клемму аккумуляторной батареи.
д.
Снимите амперметр, вольтметр и тахометр двигателя.
е.
Подсоедините выходной провод генератора к генератору. Терминал «Б».
ф.
Подсоедините отрицательную (-) клемму аккумуляторной батареи.
3.
Испытание регулируемым напряжением
Целью этого теста является проверка того, что электронный регулятор напряжения корректно регулирует напряжение.
(1)
Подготовка
а.
Перед испытанием проверьте следующие пункты и исправьте если необходимо.
Убедитесь, что аккумуляторная батарея, установленная на автомобиле, полностью заряжен. Обратитесь к разделу «Аккумулятор» для проверки батарея.
Проверьте натяжение ремня привода генератора. Обратитесь к Раздел «Проверить приводной ремень» для проверки натяжения ремня.
б.
Поверните ключ зажигания в положение «ВЫКЛ».
в.
Отсоедините отрицательную (-) клемму аккумуляторной батареи.
д.
Подсоедините цифровой вольтметр к клемме «В». генератора и массы. Подсоедините провод (+) вольтметр к клемме «В» генератора. Подсоедините провод (-) к хорошему заземлению или аккумулятору (-). Терминал.
е.
Отсоедините выходной провод генератора от генератора. Терминал «Б».
ф.
Подключите амперметр постоянного тока (от 0 до 150 А) последовательно между Клемма «В» и отсоединенный выходной провод. Подключите (-) подводящий провод амперметра к отключенному выходной провод.
г.
Подсоедините отрицательную (-) клемму аккумуляторной батареи.

Hyundai Palisade. Repair procedures

Hyundai Palisade. Repair procedures

(2)
Тест
а.
Включите зажигание и убедитесь, что вольтметр показывает следующее значение.
Напряжение: напряжение батареи
Если он показывает 0 В, в проводе есть обрыв. между клеммой "В" генератора и аккумулятором и клемма аккумулятора (-).
б.
Запустить двигатель. Выключите все осветительные приборы и аксессуары.
в.
Запустите двигатель на скорости около 2500 об/мин и прочтите вольтметр, когда выходной ток генератора падает до 10А или менее
(3)
Результат
а.
Если показания вольтметра не соответствуют норме значение, регулятор напряжения или генератор неисправен.
Регулируемое напряжение: 11,7–15,3 В
б.
Если показания вольтметра не соответствуют норме значение, регулятор напряжения или генератор неисправен.
в.
Отсоедините отрицательную (-) клемму аккумуляторной батареи.
д.
Снимите вольтметр и амперметр.
е.
Подсоедините выходной провод генератора к генератору. Терминал «Б».
ф.
Подсоедините отрицательную (-) клемму аккумуляторной батареи.
Контроль паразитных токов автомобиля
[Использование амперметра]
1.
Выключите все электрические устройства, а затем включите зажигание. ВЫКЛЮЧЕННЫЙ.
2.
Закройте все двери, кроме капота двигателя, а затем заприте все двери.
(1)
Отсоедините разъем выключателя капота.
(2)
Закройте крышку багажника.
(3)
Закройте двери или снимите дверные выключатели.
3.
Подождите несколько минут, пока электрические системы автомобиля не отключатся. Режим сна.
Hyundai Palisade. Repair procedures
Для точного измерения паразитного тока автомобиля все электрические системы должны перейти в спящий режим. (Это занимает не менее одного часа или не более одного дня.) Однако приблизительный паразитный ток автомобиля может быть измерен через 10-20 минут.
4.
Подключите амперметр последовательно между клеммой аккумулятора (-) и кабель заземления, а затем отсоедините зажим от клеммы аккумулятора (-). медленно.
Hyundai Palisade. Repair procedures
Будьте осторожны, чтобы подводящие провода амперметра не оторваться от клеммы (-) аккумулятора и массы кабель, чтобы предотвратить сброс батареи. В случае батарея сбрасывается, снова подключите кабель батареи, затем запустите двигатель или поверните ключ зажигания ВКЛ более 10 сек. Повторите процедуру с №. 1.
Для предотвращения сброса батареи во время проверки:
1)
Соедините соединительным кабелем клемму аккумулятора (-). и заземляющий кабель.
2)
Отсоедините кабель заземления от клеммы (-) аккумуляторной батареи.
3)
Подсоедините амперметр к клемме аккумулятора (-). и заземляющий кабель.
4)
После отсоединения соединительного кабеля считайте текущий номинал амперметра.

Hyundai Palisade. Repair procedures

5.
Считайте текущее значение амперметра.
Если паразитный ток превышает предельное значение, выполните поиск ненормальная цепь, удалив предохранители один за другим и проверив для паразитного тока.
Подсоедините только предохранитель, подозреваемый в паразитном токе, и выполните поиск. неисправного блока, удалив компоненты, подключенные к цепь одну за другой, пока паразитная тяга не упадет ниже предельное значение.
Предельное значение (через 10–20 мин.): ниже 50 мА.
[Использование амперметра клещевого типа]
6.
Выключите все электрические устройства, а затем включите зажигание. ВЫКЛЮЧЕННЫЙ.
7.
Закройте все двери, кроме капота двигателя, а затем заприте все двери.
(1)
Отсоедините разъем выключателя капота.
(2)
Закройте крышку багажника.
(3)
Закройте двери или снимите дверные выключатели.
8.
Подождите несколько минут, пока электрические системы автомобиля не отключатся. Режим сна.
Hyundai Palisade. Repair procedures
Для точного измерения паразитного тока автомобиля все электрические системы должны перейти в спящий режим. (Это занимает не менее одного часа или не более одного дня.) Однако приблизительный паразитный ток автомобиля может быть измерен через 10 - 20 минут.
9.
Установите амперметр клещевого типа на отрицательную (-) клемму аккумуляторной батареи.

Hyundai Palisade. Repair procedures

10.
Считайте текущее значение амперметра.
Если паразитный ток превышает предельное значение, выполните поиск ненормальная цепь, удалив предохранители один за другим и проверив для паразитного тока.
Подсоедините только предохранитель, подозреваемый в паразитном токе, и выполните поиск. неисправного блока, удалив компоненты, подключенные к цепь одну за другой, пока паразитная тяга не упадет ниже предельное значение.
Предельное значение (через 10–20 мин.): ниже 50 мА.

Принципиальные диаграммы

..

Поиск неисправностей

Поиск неисправностей • Будьте осторожны, чтобы не закоротить проводку кузовом или другими предметами. проводка...

Дополнительная информация:

Hyundai Palisade (LX2) 2020-2023 Руководство по техническому обслуживанию: Порядок ремонта


осмотр Настройка драйвера – ВКЛ/ВЫКЛ для FCA включен в USM (меню настроек пользователя) и по умолчанию включено. – Пока IGN включен, он остается включенным, однако настройки драйвера не меняются. последний раз в следующий раз, когда IGN только что включен ...

Hyundai Palisade (LX2) 2020-2023 Руководство по эксплуатации: Лампа лужи


Приветственный свет Когда все двери (и задняя дверь) закрыта и заперта, лампа лужи загорится на 15 секунд, если дверь отпирается дистанционным ключом или смарт-ключ или наружная ручка двери кнопка. Эскорт свет Когда автомобиль выключен и водительская дверь открыта, лужа лампа загорится на 30 секунд...

Категории

Как работает система подушек безопасности Работать?

Hyundai Palisade. Operate?

SRS состоит из следующих компоненты:

1. Модуль передней подушки безопасности водителя
2. Модуль передней подушки безопасности пассажира
3. Модули боковых подушек безопасности
4. Модули шторок безопасности
5. Втягивающее устройство предварительного натяжения
6. Сигнальная лампа подушки безопасности
7. Модуль управления SRS (SRSCM)/ Датчик опрокидывания
8. Датчики лобового столкновения
9. Датчики бокового удара
10.Боковые датчики давления
11. Система классификации пассажиров
12. Модуль коленной подушки безопасности водителя

читать далее