Hyundai Kona: ABS (антиблокировочная система тормозов) / Устранение неисправностей

Стандартный поток диагностики при устранении неполадок

Примечания относительно диагностики
Явления, перечисленные в следующей таблице, не являются ненормальными.
Состояние
Объяснение
Звук проверки системы
При запуске двигателя иногда слышен глухой стук
изнутри моторного отсека. Это связано с тем, что работа системы
выполняется проверка.
Звук работы АБС
1)
Звук работы мотора внутри гидроблока АБС (свист).
2)
Звук генерируется вместе с вибрацией педали тормоза (скребком).
3)
При работе АБС звук исходит от шасси автомобиля. из-за
многократное нажатие и отпускание тормоза
(Стук: подвеска; скрип: шины)
Работа ABS (длинный тормозной путь)
Для дорожных покрытий, таких как заснеженные и гравийные дороги, тормозной путь для автомобилей с ABS иногда может быть дольше, чем для других автомобилей. Соответственно, посоветуйте клиенту безопасно ездить по таким дорогам, опустив скорость автомобиля.

Условия обнаружения диагноза могут различаться в зависимости от кода диагноза.
При проверке признаков неисправности после того, как диагностический код был стерт, убедитесь, что требования, перечисленные в «Комментарии», соблюдены.
Контрольный лист АБС

Таблица признаков проблем
Симптом
Подозрительная зона
АБС не работает.
Только когда все 1-4 в норме, а проблема все еще возникает, замените HECU.
1)
Проверьте код неисправности, подтверждающий, что выводится нормальный код.
2)
Цепь источника питания.
3)
Цепь датчика скорости.
4)
Проверьте гидравлический контур на наличие утечек.
АБС не работает периодически.
Только когда все 1-4 в норме, а проблема все еще возникает, замените исполнительный механизм АБС в сборе.
1)
Проверьте код неисправности, подтверждающий, что выводится нормальный код.
2)
Цепь датчика скорости вращения колеса.
3)
Цепь выключателя стоп-сигналов.
4)
Проверьте гидравлический контур на наличие утечек.
Связь с ГДС
это невозможно.
(Связь с любой системой
невозможно)
1)
Цепь источника питания
2)
CAN-линия
Связь с ГДС
это невозможно.
(Связь только с ABS
невозможно)
1)
Цепь источника питания
2)
CAN-линия
3)
HECU
Когда ключ зажигания включен
(двигатель выключен),
контрольная лампа АБС не загорается.
1)
Цепь контрольной лампы АБС
2)
HECU
Даже после запуска двигателя АБС
сигнальная лампа остается включенной.
1)
Цепь контрольной лампы АБС
2)
HECU

Во время работы ABS педаль тормоза может вибрировать или не уметь впадать в депрессию.
Такие явления связаны с периодическими изменениями гидравлического давление внутри тормозной магистрали для предотвращения блокировки колес и не является аномалией.

Состояние обнаружения
Симптомы неисправности
Возможная причина
Работа тормозов зависит от условий вождения и дорожного покрытия. условия, поэтому диагностика может быть затруднена. Однако, если отображается обычный код неисправности, проверьте следующую возможную причину. Когда проблема все еще возникает, заменить блок управления АБС.
Неисправная цепь источника питания
Неисправность цепи датчика скорости вращения колеса
Неисправность гидравлического контура из-за утечки
Неисправный HECU

Процедуры проверки
Проверка кода неисправности
1.
Подсоедините GDS к разъему канала передачи данных и поверните ключ зажигания. НА.
2.
Убедитесь, что выводится код DTC.
3.
Выводится ли код DTC?

▶ Проверьте источник питания схема.

▶ Сотрите код неисправности и перепроверьте с помощью GDS.

Проверьте цепь источника питания
1.
Отсоедините 38-контактный разъем от модуля управления ABS HECU.
2.
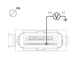
Включите зажигание, измерьте напряжение между контактом 6 бокового разъема жгута проводов модуля управления ABS и массы кузова.
Спецификация: примерно B+

3.
Напряжение соответствует спецификации?

▶ Проверьте заземление схема.

▶ Проверьте жгут или разъем между предохранителем (10А) в подкапотном пространстве блок и модуль управления АБС. При необходимости отремонтируйте.

Проверьте цепь заземления
1.
Отсоедините разъем от модуля управления АБС.
2.
Проверьте целостность цепи между выводами 13, 38 блока управления АБС. разъем со стороны жгута проводов и точка заземления.
3.
Есть ли преемственность?

4.

▶ Проверьте скорость вращения колеса. цепь датчика.

▶ Устраните разрыв в провод и точка заземления.

Проверьте цепь датчика скорости вращения колеса.
1.
См. процедуры поиска и устранения неисправностей DTC.
2.
Это нормально?

▶ Проверьте гидравлическую цепь на утечку.

▶ Отремонтируйте или замените датчик скорости колеса.

Проверьте гидравлический контур на наличие утечек
1.
Проверьте герметичность гидравлических линий.
2.
Это нормально?

▶ Проблема остается случае, замените модуль управления ABS.

▶ Отремонтируйте гидравлическую линии на утечку.

Состояние обнаружения
Симптомы неисправности
Возможная причина
Работа тормозов зависит от условий вождения и дорожного покрытия. условия, поэтому диагностика может быть затруднена. Однако, если отображается обычный код неисправности, проверьте следующую возможную причину. Когда проблема все еще возникает, заменить блок управления АБС.
Неисправность цепи датчика скорости вращения колеса
Неисправность гидравлического контура из-за утечки
Неисправный HECU

Процедуры проверки
Проверка кода неисправности
1.
Подсоедините GDS к разъему канала передачи данных и поверните ключ зажигания. НА.
2.
Убедитесь, что выводится код DTC.
3.
Выводится ли код DTC?

▶ Проверьте скорость вращения колеса. цепь датчика.

▶ Сотрите код неисправности и перепроверьте с помощью GDS.

Проверьте цепь датчика скорости вращения колеса.
1.
Осмотрите датчик скорости вращения колеса и цепь.
(См. "Процедуры поиска и устранения неисправностей DTC").
2.
Это нормально?

▶ Проверьте стоп-сигнал. схема переключателя.

▶ Отремонтируйте или замените датчик скорости колеса.

Проверьте цепь выключателя стоп-сигнала
1.
Убедитесь, что стоп-сигнал загорается, когда педаль тормоза нажата и поворачивается. гаснет при отпускании педали тормоза.
2.
Измерьте напряжение между выводом 23 жгута проводов модуля управления АБС. боковой разъем и масса кузова при нажатой педали тормоза.
Спецификация: примерно B+

3.
Напряжение соответствует спецификации?

▶ Проверьте гидравлическую цепь на утечку.

▶ Отремонтируйте стоп-сигнал выключатель. Устранить разрыв провода между блоком управления ABS. и выключатель стоп-сигналов.

Проверьте гидравлический контур на наличие утечек
1.
Обратитесь к гидравлическим линиям.
2.
Проверка герметичности гидравлических линий.
3.
Это нормально?

▶ Проблема остается случае, замените модуль управления ABS.

▶ Отремонтируйте гидравлическую линии на утечку.

Состояние обнаружения
Симптомы неисправности
Возможная причина
Возможная неисправность в системе питания (в т.ч. заземления) для диагностики линия.
Разрыв в проводе
Плохая земля
Неисправная цепь источника питания

Процедуры проверки
Проверьте цепь питания для диагностики
1.
Измерьте напряжение между контактом 16 разъема канала передачи данных и заземление тела.
Спецификация: примерно B+

2.
Напряжение соответствует спецификации?

▶ Проверьте заземление цепь для диагностики.

▶ Устраните разрыв в провод. Проверьте и замените предохранитель от соединения моторного отсека блокировать.

Проверьте цепь массы для диагностики
1.
Проверьте целостность цепи между выводом 4 разъема канала передачи данных и заземление тела.

2.
Есть ли преемственность?

▶ Устраните разрыв в провод между выводом 4 разъема канала передачи данных и массой точка.

Состояние обнаружения
Симптомы неисправности
Возможная причина
Если связь с GDS невозможна, причиной может быть обрыв в цепи питания HECU или обрыв в выходной цепи диагностики.
Разрыв в проводе
Неисправный HECU
Неисправная цепь источника питания

Процедуры проверки
Проверьте целостность линии CAN.
1.
Отсоедините разъем от модуля управления АБС.
2.
Проверьте целостность цепи между выводами 26, 14 блока управления АБС. разъем и 3, 11 разъема канала передачи данных.
3.
Есть ли преемственность?

▶ Проверьте источник питания блока управления АБС.

▶ Устраните разрыв в провод.

Проверьте источник питания модуля управления ABS.
1.
Отсоедините разъем от модуля управления АБС.
2.
Включите зажигание, измерьте напряжение между контактом 29 бокового разъема жгута проводов модуля управления ABS и массы кузова.
Спецификация: примерно B+

3.
Напряжение соответствует спецификации?

▶ Проверьте наличие плохого заземления.

▶ Проверьте жгут или разъем между предохранителем (10А) в подкапотном пространстве блок и модуль управления ABS. При необходимости отремонтируйте.

Проверьте на плохое заземление
1.
Проверьте целостность цепи между выводом 4 разъема канала передачи данных и наземная точка.

▶ Замените блок управления ABS модуль и перепроверьте.

▶ Устраните разрыв в провод или плохое заземление

Состояние обнаружения
Симптомы неисправности
Возможная причина
Когда в блоке HECU протекает ток, контрольная лампа АБС выключается.
на OFF в качестве начальной проверки. Поэтому, если лампа не загорается,
причиной может быть обрыв в цепи питания лампы, перегоревшая лампочка,
обрыв в обеих цепях между контрольной лампой АБС и
HECU и неисправный HECU.
Неисправная лампа контрольной лампы ABS
Перегоревший предохранитель связан с АБС в подкапотном пространстве. блокировать
Неисправный модуль контрольной лампы ABS
Неисправный HECU

Процедуры проверки
Проверка проблемы
1.
Отсоедините разъем от модуля управления ABS и включите зажигание. включить.
2.
Контрольная лампа АБС горит?

▶ Проверьте еще раз после замена АБС HECU.

▶ Проверьте источник питания для контрольной лампы АБС.

Проверьте источник питания контрольной лампы ABS.
1.
Отсоедините разъем комбинации приборов (M08) и включите зажигание. включить.
2.
Измерьте напряжение между клеммой (M08) 39 жгута проводов комбинации приборов. боковой разъем и масса кузова.
Спецификация: примерно B+

3.
Напряжение соответствует спецификации?

▶ Проверьте цепь CAN. сопротивление контрольной лампы АБС.

▶ Проверьте, не перегорел ли предохранитель.

Проверьте сопротивление цепи CAN контрольной лампы АБС.
1.
Отсоедините разъем комбинации приборов (M08) и включите зажигание. выключить.
2.
Измерьте сопротивление между контактами (M08) 32 и 33 комбинации приборов. разъем со стороны жгута.
Спецификация: 60 Ом

3.
Сопротивление соответствует спецификации?

▶ Ремонт АБС лампа контрольной лампы или приборная панель в сборе.

▶ Проверьте CAN электрическая цепь контрольной лампы АБС.

Проверьте проводку цепи CAN для контрольной лампы ABS.
1.
Отсоедините разъем комбинации приборов (M08) и разъем ABS HECU, а затем выключите зажигание.
2.
Проверьте целостность цепи между клеммой (M08) 32 жгута проводов комбинации приборов. боковой разъем и контакт 26 жгута проводов ABS HECU со стороны.
Проверьте целостность цепи между клеммой (M08) 33 жгута проводов комбинации приборов. боковой разъем и контакт 14 со стороны жгута проводов ABS HECU.
Спецификация: Ниже 1 Ом
3.
Сопротивление соответствует спецификации?

▶ Отремонтируйте короткую проводки между выводами 26, 14 разъема жгута ABS HECU и модуль контрольной лампы АБС.

▶ Отремонтируйте открытый проводки между выводами 26, 14 разъема жгута ABS HECU и модуль контрольной лампы АБС.

Состояние обнаружения
Симптомы неисправности
Возможная причина
Если блок HECU обнаруживает неисправность, он зажигает контрольную лампу АБС,
одновременно запрещая управление ABS. В это время HECU записывает
Код неисправности в памяти. Несмотря на то, что выводится нормальный код, ABS
контрольная лампа продолжает гореть, то причина может быть в обрыве
или короткое замыкание в цепи контрольной лампы АБС.
Разрыв в проводе
Неисправная сборка комбинации приборов
Неисправный модуль контрольной лампы ABS
Неисправный HECU

Процедуры проверки
Проверьте вывод кода неисправности.
1.
Подключите GDS к 16-контактному разъему канала передачи данных, расположенному за водительским сиденьем. боковая кик-панель.
2.
Проверьте вывод DTC с помощью GDS.
3.
Выводится ли код неисправности?

▶ Выполните поиск и устранение неисправностей DTC. процедуру (см. поиск и устранение неисправностей DTC).

▶ Проверьте цепь CAN. сопротивление контрольной лампы АБС.

Проверьте сопротивление цепи CAN контрольной лампы АБС.
1.
Отсоедините разъем комбинации приборов (M08) и включите зажигание. выключить.
2.
Измерьте сопротивление между контактами (M08) 32 и 33 комбинации приборов. разъем со стороны жгута.
Спецификация: 60 Ом
3.
Сопротивление соответствует спецификации?

▶ Отремонтировать предупреждение ABS лампа накаливания или комбинация приборов в сборе.

▶ Проверьте цепь CAN. проводка контрольной лампы АБС.

Проверьте проводку цепи CAN для контрольной лампы ABS.
1.
Отсоедините разъем комбинации приборов (M08) и разъем ABS HECU, а затем выключите зажигание.
2.
Проверьте целостность цепи между клеммой (M08) 32 жгута проводов комбинации приборов. боковой разъем и контакт 26 жгута проводов ABS HECU со стороны.
Проверьте целостность цепи между клеммой (M08) 33 жгута проводов комбинации приборов. боковой разъем и контакт 14 со стороны жгута проводов ABS HECU.
Спецификация: Ниже 1 Ом
3.
Сопротивление соответствует спецификации?

▶ Устраните короткое замыкание проводки. между контактами 26, 14 разъема жгута проводов АБС HECU и сигнализатором АБС модуль лампы.

▶ Устраните разрыв проводки. между контактами 26, 14 разъема жгута проводов АБС HECU и сигнализатором АБС модуль лампы.

Процедуры ремонта
осмотр Прокачка системы ABS Эта процедура должна выполняться для обеспечения адекватного выпуска воздуха и наполнения блока ESC, тормозных магистралей и главного цилиндра с тормозной жидкостью...

Модуль управления ABS Компоненты и расположение компонентов
Компоненты 1. Передняя правая труба 2. Задняя - левая трубка 3. Задняя правая трубка 4. Передняя левая труба 5. МЦ СПК 6. МЦ ПРИ 7. Блок управления АБС (HECU) 8 ...
Дополнительная информация:

Hyundai Kona (OS) 2018-2023 Service Manual: Технические характеристики
Технические характеристики Предметы Технические характеристики Номинальное напряжение 12 В постоянного тока Рабочее напряжение 9–16 В постоянного тока Рабочая Температура от -35°C до 75°C (от -31°F до 16 ...

Hyundai Kona (OS) 2018-2023 Service Manual: Специальные сервисные инструменты
Специальные сервисные инструменты Номер инструмента Инструменты Название продукта Иллюстрация Использовать 09231-H1100 Бар Используется с установщиком сальника 09473-Д3600 Установщик сальника ...