Hyundai Kona: Система запуска / Процедуры ремонта стартера

Удаление
1.
Отсоедините отрицательную клемму аккумуляторной батареи.
2.
Снимите нижнюю крышку.
(См. Механическая система двигателя — «Машинное отделение под крышкой»)
3.
Снимите вакуумный насос.
(См. Тормозная система — «Вакуумный насос»)
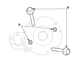
4.
Отсоедините кабель стартера (B) от клеммы B на соленоиде, затем отсоедините разъем (А) от клеммы S.
Затяжка гайки клеммы «В» стартера:
9,8–11,8 Н·м (1,0–1,2 кгс·м, 7,2–8,7 фунт-фут)

5.
Снимите стартер (А).
Болт крепления стартера:
49,0–63,7 Н·м (5,0–6,5 кгс·м, 36,2–47,0 фунт-фут)

6.
Снимите стартер.
Монтаж
1.
Установите в порядке, обратном снятию.
Разборка
1.
Отсоедините М-клемму (А) на магнитном переключателе в сборе.

2.
Ослабив 2 винта (А), отсоедините узел магнитного переключателя. (Б).

3.
Ослабьте крепежные винты держателя щетки (A) и болты желоба (B).

4.
Снимите задний кронштейн в сборе (А) и щеткодержатель в сборе (В).

5.
Снимите вилку в сборе (А).

6.
Снимите уплотнение (A), пластину рычага (B), рычаг (C), узел якоря. (Д).

Следите за направлением рычага (A).

7.
Нажмите на стопор (A) с помощью гнезда (B).

8.
После снятия стопорного кольца (А) с помощью плоскогубцев (В).

9.
Снимите стопорное кольцо (В), стопор (А), обгонную муфту (С) и якорь. (Д).

С помощью подходящего съемника (А) потяните обгонную муфту. стопор (C) над стопорным кольцом (B).

Сборка
1.
Соберите в порядке, обратном разборке.
осмотр
Арматура
1.
Снимите стартер.
2.
Разберите стартер, как показано в начале этой процедуры.
3.
Осмотрите якорь на предмет износа или повреждений от контакта с постоянным магнит. При наличии износа или повреждений замените якорь.

4.
Проверьте поверхность коллектора (А). Если поверхность загрязнена или обожжена, отшлифовать наждачной бумагой или на токарном станке в соответствии со следующими спецификациями, или обработайте наждачной бумагой #500 или #600 (B).

5.
Проверьте диаметр коллектора. Если диаметр ниже сервисного предела, замените якорь.
Диаметр коммутатора
Стандартный (новый): 29,4 мм (1,1575 дюйма)
Максимальный рабочий диапазон: 28,8 мм (1,1339 дюйма)

6.
Измерьте биение коллектора (А).
Если биение коллектора находится в пределах эксплуатационного предела, проверьте коллектор для угольной пыли или латунной стружки между сегментами.
Если биение коллектора выходит за пределы сервисного предела, замените арматура.
Биение коммутатора
Стандартный (новый): 0,05 мм (0,0020 дюйма) макс.
Максимальный рабочий предел: 0,10 мм (0,0039 дюйма) макс.

7.
Проверьте глубину слюды (A). Если слюда слишком высокая (B), подрежьте слюды ножовочным полотном на нужную глубину. Отрежьте всю слюду (C) между сегментами коммутатора. Подрез не должен быть слишком мелкая, слишком узкая или V-образная (D).
Глубина слюды коммутатора
Стандартный (новый): 0,5 мм (0,0197 дюйма)
Предел: 0,2 мм (0,0079 дюйма)

8.
Проверьте непрерывность между сегментами коммутатора. Если открытый между любыми сегментами существует цепь, замените якорь.

9.
С помощью омметра проверьте отсутствие непрерывности между коллектором (A) и сердечником катушки якоря (B), а также между коммутатором и якорем вал (С). При наличии непрерывности замените якорь.

Стартовая щетка
1.
Щетки, которые изношены или пропитаны маслом, должны быть заменены.
Длина кисти
Стандарт: 12,3 мм (0,4843 дюйма)
Рабочая граница: 5,5 мм (0,2165 дюйма)

Чтобы посадить новые щетки, наденьте полоску наждачной бумаги #500 или #600, зернистой стороной вверх, между коллектором и каждым щетку и плавно вращайте якорь. Контакт поверхность щеток будет отшлифована до одинакового контура как коммутатор.
Держатель стартовой щетки
1.
Убедитесь в отсутствии непрерывности между (+) щеткодержателем (A) и (-) пластина (В).
При наличии непрерывности замените узел щеткодержателя.

Обгонная муфта
1.
Сдвиньте обгонную муфту вдоль вала.
Замените его, если он не скользит плавно.
2.
Поверните обгонную муфту в обе стороны.
Он фиксируется в одном направлении и плавно вращается в обратном? Если оно не блокируется в любом направлении блокируется в обоих направлениях, замените это.

3.
Если ведущая шестерня стартера изношена или повреждена, замените обгонную муфту. сцепление в сборе. (шестерня отдельно не продается)
Проверьте состояние зубчатого венца маховика или гидротрансформатора, если повреждены зубья ведущей шестерни стартера.
Уборка
1.
Не погружайте детали в очищающий растворитель.
Погружение узла ярма и/или якоря может привести к повреждению изоляции. протирайте эти части только тканью.
2.
Не погружайте привод в чистящий растворитель.
Обгонная муфта предварительно смазана на заводе, и растворитель смыть смазку со сцепления.
3.
Привод можно чистить щеткой, смоченной очищающим растворителем. и протер тряпкой насухо.
Схемы стартера
Принципиальная электрическая схема ...

Порядок ремонта реле стартера
осмотр 1. Выключите зажигание и отсоедините отрицательную (-) клемму аккумуляторной батареи. 2. Снимите крышку блока предохранителей. 3. ...
Дополнительная информация:

Руководство по эксплуатации Ford Fusion 2013–2020 гг.: Сиденья-бустеры
ВНИМАНИЕ: Не кладите плечо секцию ремня безопасности или разрешить ребенку положить плечевой отдел ремень безопасности под рукой или за спиной назад. Несоблюдение этой инструкции может снизить эффективность ремня безопасности и увеличивают риск получения травмы или смерть в аварии. ...

Hyundai Kona (OS) 2018-2023 Руководство по эксплуатации: Меры предосторожности зимой
Используйте высококачественную охлаждающую жидкость на основе этиленгликоля. Ваш автомобиль поставляется с высококачественной охлаждающей жидкостью на основе этиленгликоля. система. Это единственный тип охлаждающей жидкости, который следует использовать, поскольку он помогает предотвратить коррозии в системе охлаждения, смазывает водяной насос и предотвращает замерзание. Быть уверенным ...