#заголовок

Hyundai Sonata: электрические схемы сидений/обогрева сидений

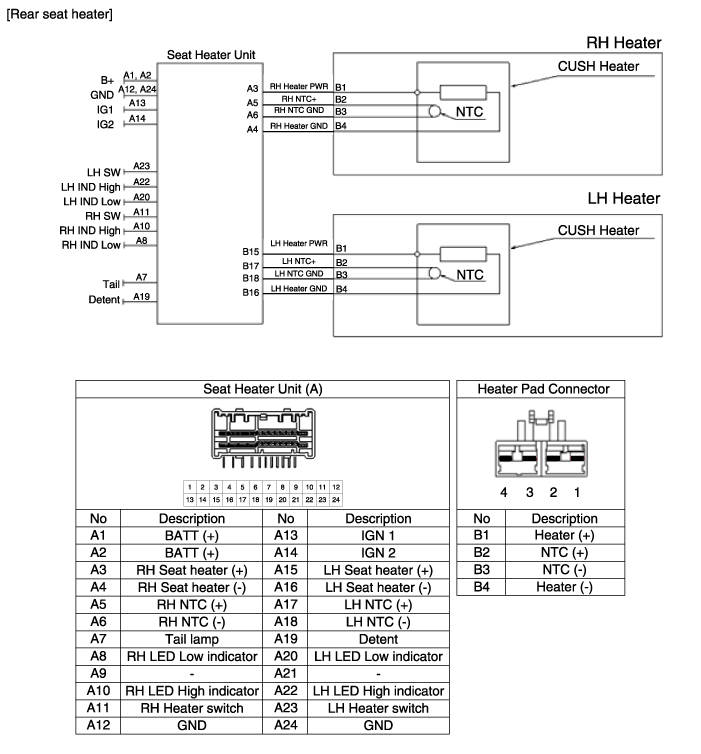
Принципиальная электрическая схема

Компоненты обогревателя сиденья и расположение компонентов
Расположение компонента ...
Процедуры ремонта обогревателя сидений
осмотр Подогрев переднего сиденья 1. Проверьте целостность цепи и измерьте сопротивление между выводами № 3 и № 6. Стандартное значение Водитель/ассисты (подушка + спина): 1,58±10% 2. Работать ...
Дополнительная информация:

Hyundai Sonata LF 2014-2019 Руководство по техническому обслуживанию: Компоненты чехла подушки заднего сиденья и расположение компонентов
Расположение компонента 1. Чехол подушки заднего сиденья ...

Руководство по эксплуатации Hyundai Sonata LF 2014-2019: Если двигатель не заводитсяЕсли двигатель не заводится
Если двигатель не крутится или крутится медленно Убедитесь, что рычаг переключения передач находится в положении N (нейтраль) или P (парковка). Двигатель запускается только когда рычаг переключения передач находится в положении N (нейтраль) или P (парковка). Проверьте соединения аккумулятора, чтобы убедиться, что они чистые и затянуты. Включите внутренний свет. Если свет д...

avtotema.org