#заголовок

Hyundai Sonata: Панорамный люк / Принципиальные схемы

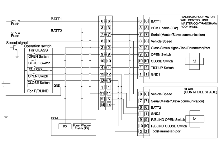
Принципиальная электрическая схема

Нет
Проводка люка
разъем
(сторона автомобиля)
Проводка люка
разъем
(Мотор)
Мотор панорамного стекла
(Владелец)
Глухой мотор
(Раб)

1
Земля 1
Земля 1
Земля 2
2
Сигнал состояния стекла / инструмент
(параметр)
Сигнал состояния стекла / инструмент
(параметр)
Слепой сигнал
3
Включить BCM
Включить BCM
-
4
Переключатель наклона вверх
Переключатель наклона вверх
-
5
Земля 2
-
-
6
БАТ 1
БАТ 1
БАТАРЕЯ 2
7
-
-
-
8
Сигнал скорости автомобиля
Сигнал скорости автомобиля
Сигнал скорости автомобиля
9
Стеклянный открытый переключатель
Стеклянный открытый переключатель
Слепой открытый переключатель
10
Переключатель закрытия стекла
Переключатель закрытия стекла
Выключатель жалюзи
11
БАТАРЕЯ 2


12
Слепой открытый переключатель
13
Выключатель жалюзи
14
Слепой сигнал

Компоненты и расположение компонентов
Расположение компонента 1. Панорамный люк2. Переключатель панорамного люка3. Мотор и контроллер панорамного люка4. Мотор жалюзи и подчиненный контроллер ...
Компоненты и расположение компонентов переключателя панорамного люка на крыше
Компоненты ...
Дополнительная информация:

Руководство по обслуживанию Hyundai Sonata LF 2014-2019: Компоненты блока BLUE LINK и расположение компонентов
Компонент (только для аудиосистемы TMU) Блок Blue Link для AVN установлен в головном устройстве AVN. ...

Hyundai Sonata LF 2014-2019 Service Manual: Технические характеристики
Технические характеристики Тип соединенияМакс. допустимый уголOuterInnerOuterInnerBJ#95LSJ#9545°21°BJ#104LSJ#10045°21° Моменты затяжки АртикулN.mkgf.mIb.ftГайка переднего колеса88.3 ~ 107.99.0 ~ 11.065.1 ~ 79.6Корончатая гайка приводного вала274.6 ~ 294.228.0 ~ 30.0202.5 ~ 217.1Болт нижнего крепления стойки196.1 ...

avtotema.org