#заголовок

Hyundai Sonata: Схемы переключателей системы помощи при парковке сзади / системы помощи при парковке сзади

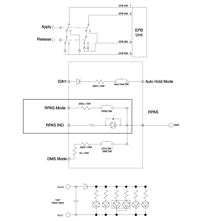
Hyundai Sonata LF 2014-2019 Руководство по ремонту / Электрическая система кузова / Система помощи при парковке сзади / Принципиальные схемы переключателей задней системы помощи при парковке

Принципиальная электрическая схема

Переключатель задней системы помощи при парковке Компоненты и расположение компонентов
Компоненты ...
Переключатель задней системы помощи при парковке Процедуры ремонта
Удаление 1. Отсоедините отрицательную (-) клемму аккумуляторной батареи. 2. Снимите верхнюю крышку консоли. (См. Кузов — «Узел напольной консоли») 3. Снимите выключатель задней шторки (A) после ослабления ...
Дополнительная информация:

Руководство по эксплуатации Hyundai Sonata LF 2014-2019: Замок зажигания
ПРЕДУПРЕЖДЕНИЕ НИКОГДА не переводите ключ зажигания в положение LOCK или ACC, когда автомобиль находится в движении, за исключением аварийных ситуаций. Это приведет к выключению двигателя и потеря усилителя рулевого управления и тормозной системы. Это может привести к потере функции управления направлением и торможения, которые ...

Hyundai Sonata LF 2014-2019 Руководство по техническому обслуживанию: Ремонт задних комбинированных фонарей
Удаление 1. Отсоедините отрицательную (-) клемму аккумуляторной батареи. 2. Ослабьте гайки (4 шт.), удерживающие задний комбинированный фонарь, затем отсоедините разъем (A), затем снимите наружную заднюю комбинацию сборка лампы. 3. Снимите лампу (А), повернув ее против часовой стрелки. 4 ...

avtotema.org