#заголовок

Hyundai Sonata: Система контроля токсичности отработавших газов / CVVT (бесступенчатая регулировка фаз газораспределения) Описание и работа системы

Hyundai Sonata LF 2014-2019 Руководство по ремонту / Система контроля выбросов / Система контроля выбросов выхлопных газов / CVVT (бесступенчатая регулировка фаз газораспределения) Описание и работа системы

Описание
Система непрерывного изменения фаз газораспределения (CVVT) опережает или задерживает фазы газораспределения впускного и выпускного клапанов в соответствии с управляющим сигналом ECM, который рассчитывается по частоте вращения двигателя и нагрузка.
При управлении CVVT происходит перекрытие или недопуск клапана, что обеспечивает лучшую экономию топлива и уменьшает выхлопные газы (NOx, HC) и улучшает работу двигателя за счет снижения насосных потерь, внутреннего Эффект EGR, улучшение стабильности сгорания, улучшение объемный КПД и увеличение работы расширения.
Эта система состоит из
-
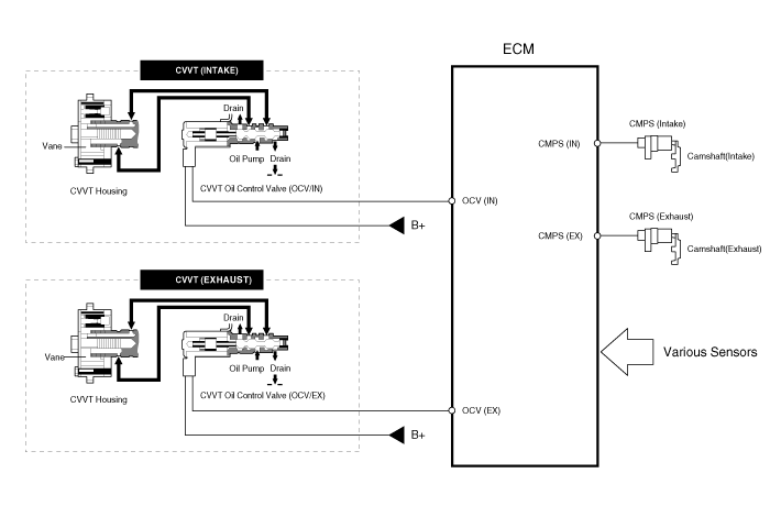
клапан управления маслом CVVT (OCV), который регулирует моторное масло до и от кулачкового фазовращателя в соответствии с PWM ECM (Pulse With модуляция) управляющий сигнал,
-
и Cam Phaser, который изменяет фазу кулачка, используя гидравлическую силу моторного масла.
Моторное масло, вытекающее из клапана управления маслом CVVT изменяет фазу кулачка в направлении (опережение впуска/запаздывание выпуска) или направление, противоположное двигателю (замедление впуска/опережение выпуска) вращение за счет вращения ротора, соединенного с распределительным валом внутри кулачковый фазер.

Принцип работы
CVVT имеет механизм, вращающий лопасть ротора с гидравлическая сила, создаваемая моторным маслом, подаваемым на опережение или камеру замедления в соответствии с управлением масляным клапаном CVVT.

[Системный режим CVVT]

(1) Низкая скорость/низкая нагрузка
(2) Частичная нагрузка


(3) Низкая скорость/высокая нагрузка
(4) Высокая скорость/высокая нагрузка



Вождение
Состояние
Выхлопной клапан
Впускной клапан
Клапан
Сроки
Эффект
Клапан
Сроки
Эффект
(1) Низкая скорость
/Низкая нагрузка
Полностью
Продвигать
* Нижний клапан клапана
* Улучшение стабильности горения
Полностью
Замедлить
* Нижний клапан клапана
* Улучшение стабильности горения
(2) Частичная нагрузка
Замедлить
* Увеличение работы расширения
* Снижение насосных потерь
* Снижение НС
Замедлить
* Снижение насосных потерь
(3) Низкая скорость
/Высокая нагрузка
Замедлить
* Увеличение работы расширения
Продвигать
* Предотвращение обратного потока на впуске (улучшение объемной эффективности)
(4) Высокая скорость
/Высокая нагрузка
Продвигать
* Снижение насосных потерь
Замедлить
* Улучшение объемной эффективности

Процедуры ремонта каталитического нейтрализатора
Удаление 1. Снимите выпускной коллектор. (См. Механическая система двигателя — «Выпускной коллектор») Монтаж 1. Установите в порядке, обратном снятию. ...
Управление двигателем/топливная система
...
Дополнительная информация:

Руководство по обслуживанию Hyundai Sonata LF 2014-2019: Описание и работа
Описание ЭСП У оптимальной безопасности вождения теперь есть имя: ESP, электронная программа стабилизации. ESP распознает критические условия вождения, такие как паника реакции в опасных ситуациях и стабилизирует автомобиль за счет индивидуальное торможение колес и вмешательство в управление двигателем без необходимости ...

Hyundai Sonata LF 2014-2019 Руководство по ремонту: Верхняя крышка перчаточного ящика в сборе Процедуры ремонта
Замена • Наденьте перчатки, чтобы защитить руки. • При поддевании отверткой с плоским наконечником или с помощью накладки инструмент, оберните его защитной лентой и наклейте защитную ленту вокруг соответствующие части, чтобы предотвратить повреждение. • Использовать ...

avtotema.org