#заголовок

Hyundai Sonata: схематические схемы системы AVN / пульта дистанционного управления AVN

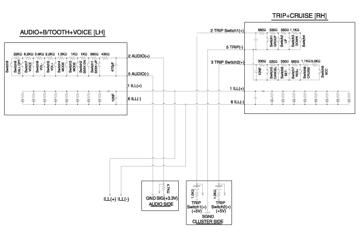
Принципиальная электрическая схема

Компоненты пульта дистанционного управления AVN и расположение компонентов
Компоненты 1. Левый переключатель дистанционного управления (аудио + громкая связь)2. Правый переключатель дистанционного управления (Круиз+бортовой компьютер) ...
Процедуры ремонта пульта дистанционного управления AVN
осмотр 1. Проверьте сопротивление между клеммами в каждом положении переключателя (левое). [Л: Аудио + Громкая связь] SwitchConnectorTerminalResistance(±5%)SEEK Up2-5430 ?SEEK Down1.11 k?MODE2.11 k?MUTE ...
Дополнительная информация:

Hyundai Sonata LF 2014-2019 Руководство по техническому обслуживанию: Датчик давления топлива (FPS) Описание и работа
Описание Датчик давления топлива (ДДТ) установлен в верхней части топливный насос низкого давления и измеряет давление в системе низкого давления топливопровод. На основе давления топлива, измеренного FPS, и количества израсходованного топлива модуль управления топливным насосом (FPCM) определяет ли ...

Hyundai Sonata LF 2014-2019 Руководство по техническому обслуживанию: Датчик положения распредвала (CMPS) Описание и работа
Описание Датчик положения распределительного вала (CMPS) представляет собой датчик Холла и определяет положение распределительного вала с помощью элемента Холла. Это связано с датчиком положения коленчатого вала (CKPS) и определяет положение поршня каждого цилиндра, которое CKPS не может обнаружить. CMPS устанавливается на крышке головки двигателя ...

avtotema.org