#заголовок

Hyundai Sonata: принципиальные схемы аудио/дистанционного управления аудиосистемой

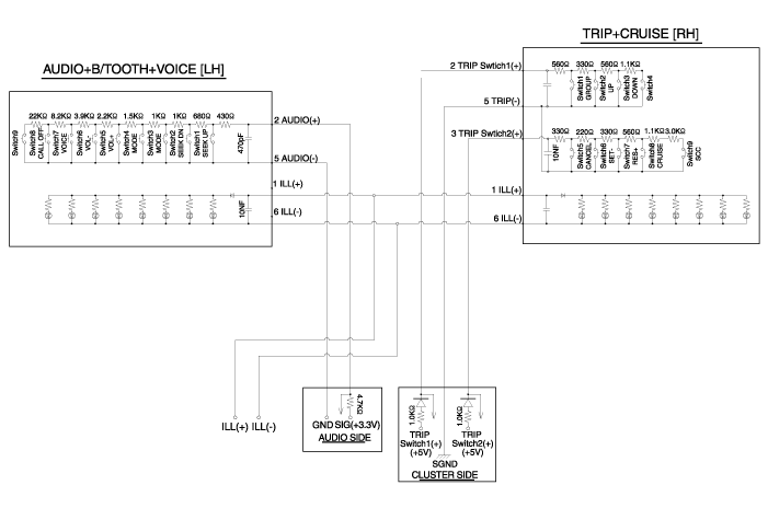
Принципиальная электрическая схема

Компоненты дистанционного управления аудиосистемой и расположение компонентов
Компоненты 1. Левый переключатель дистанционного управления (аудио + громкая связь)2. Правый переключатель дистанционного управления (Круиз+бортовой компьютер) ...
Процедуры ремонта пульта дистанционного управления аудиосистемой
осмотр 1. Проверьте сопротивление между клеммами в каждом положении переключателя (левое). [Л: Аудио + Громкая связь] SwitchConnector TerminalСопротивление(±5%)SEEK Up2-5430 ?SEEK Down1.11 k?MODE2.11 k?MUT ...
Дополнительная информация:

Hyundai Sonata LF 2014-2019 Руководство по обслуживанию: Устранение неисправностей
Основные способы устранения неполадок Основное руководство по устранению неполадок Лист анализа проблем клиентов Основная процедура проверки Условия измерения сопротивления электронных частей Измеренное сопротивление при высокой температуре после автомобиля бег может быть высоким или низким. Таким образом, все сопротивления должны быть измерены на амби ...

Hyundai Sonata LF 2014-2019 Руководство по обслуживанию: Описание и работа мультимедийного разъема
Описание Мультимедийный разъем на верхней крышке консоли предназначен для клиенты, которые любят слушать внешние портативные музыкальные плееры, такие как MP3 и т. д., через аудиосистему автомобиля, если она подключена к этому Джек. Клиент имеет эту дополнительную опцию. В случае искажения со стороны СМИ ...

avtotema.org