#заголовок

Hyundai Sonata: Система кондиционирования воздуха / Процедуры ремонта датчика температуры окружающего воздуха

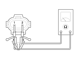
осмотр
1.
Проверить сопротивление датчика температуры окружающего воздуха между клеммами 1 и 2, меняется ли он при изменении окружающей среды температура.

1. Датчик окружающей среды (+)

2. Масса датчика

Спецификация
Температура окружающей среды
[°С (°Ф)]
Сопротивление между клеммами 1 и 2 (k?)
-40 (-40)
881.03
-30 (-22)
480,41
-20 (-4)
271,21
-10 (14)
158,18
0 (32)
95.096
10 (50)
58.799
20 (68)
37.315
30 (86)
24.260
40 (104)
16.130
50 (122)
10.950
60 (140)
7,579
70 (158)
5.341
80 (176)
3.828

Диагностика с помощью GDS
1.
Система отопления, вентиляции и кондиционирования воздуха может быстро диагностировать неисправные детали с помощью системы диагностики автомобиля (GDS).
? Система диагностики (GDS) предоставляет следующую информацию.
(1) Самодиагностика: проверка кода неисправности (DTC) и дисплея.
(2) Текущие данные: проверка состояния входных/выходных данных системы.
(3) Проверка срабатывания: проверка состояния работы системы.
(4) Дополнительные функции: Другие элементы управления, такие как опция системы и регулировка нулевой точки.
2.
Выберите «Модель автомобиля» и проверяемую систему, чтобы проверить автомобиль с помощью тестера.
3.
Выберите меню «Текущие данные» для поиска текущего состояния входных/выходных данных.
Можно проверить входные/выходные данные для датчиков, соответствующих датчику температуры окружающей среды.

Замена
1.
Отсоедините отрицательную (-) клемму аккумуляторной батареи.
2.
Снимите передний бампер.
(См. Кузов — «Крышка переднего бампера»)
3.
Отсоедините разъем (А) и снимите датчик температуры окружающего воздуха (В).

4.
Установите в порядке, обратном снятию.
Описание и работа датчика температуры окружающей среды
Описание Датчик температуры окружающего воздуха расположен в передней части конденсатор и измеряет температуру окружающего воздуха. это отрицательный тип термистор; сопротивление будет увеличиваться с более низким te ...
Обогреватель
...
Дополнительная информация:

Hyundai Sonata LF 2014-2019 Руководство по обслуживанию: Устранение неисправностей
Поиск неисправностей СимптомВозможная причинаСпособ устраненияТяжелое рулевое управлениеНеправильная установка передних колесЧрезмерное сопротивление повороту шаровой опоры нижнего рычагаНизкое давление в шинахОтсутствие усилителяИсправитьЗаменитьОтрегулироватьОтремонтировать или заменитьПлохой возврат рулевого колеса в центральное положениеНеправильная установка передних колесИсправитьПлохая или грубая ...

Hyundai Sonata LF 2014-2019 Руководство по ремонту: Описание и работа фотодатчика
Описание Фотодатчик расположен в центре форсунок оттаивания. Фотодатчик содержит фотогальванический элемент (чувствительный к солнечный свет) диод. Солнечное излучение, полученное его светоприемным часть, генерирует электродвижущую силу, пропорциональную количеству приём радиации...

avtotema.org