Kia Rio: моторное масло и фильтр / паровой шланг и крышка топливного бака

Kia Rio 2017-2023 YB Руководство по ремонту / Обслуживание / Моторное масло и фильтр / Паровой шланг и крышка топливного бака

Процедуры ремонта
осмотр

Паровой шланг

1.

Проверьте все хомуты на затяжку и соединения на герметичность.

2.

Визуально проверьте паропроводы и шланги на наличие трещин, утечек, ослабленных соединений, или деформации.

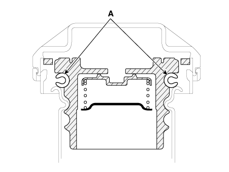
Крышка топливного бака

1.

Визуально проверьте, что узел крышки топливного бака и прокладка (А) не повреждены. деформированы или повреждены.

Клапанный зазор
Процедуры ремонта осмотр [Каппа 1.0 Т-ГДИ] Проверьте зазор клапана. При необходимости отрегулируйте зазор клапанов, заменив толкатели. ...
Шасси
...
Дополнительная информация:

Kia Rio 2017-2023 YB Руководство по ремонту: Датчик освещенности авто


Процедуры ремонта осмотр Проверьте, работает ли автоматическое управление освещением, как показано на временной диаграмме ниже. Хвост мощность лампы и мощность фары (Низкая) управляются на основе датчика автоматического освещения. вход (интенсивность освещения), когда переключатель автоматического освещения в многофункциональном переключателе ...

Kia Rio 2017-2023 YB Руководство по обслуживанию: Колонка и корпус МДПС


Процедуры ремонта Удаление 1. Снимите рулевую колонку и вал в сборе. (См. Рулевое управление с электроприводом — «Рулевая колонка и вал») 2. Снимите блок управления MDPS. (См. Рулевое управление с электроприводом - "MDPS...