Kia Rio: Карданный вал в сборе / TJ Joint

Kia Rio 2017-2023 YB Руководство по ремонту / Карданный вал и ось / Сборка карданного вала / ТиДжей Джойнт

Компоненты и расположение компонентов
Компоненты
[Правый]

1. Сборка БЖ
2. Клип
3. Ремешок для обуви BJ
4. Сапоги для минета
5. Лента динамического демпфера
6. Динамический демпфер
7. Вал
8. Ремешок для ботинок TJ
9. Ботинок TJ
10. Паук в сборе
11. Стопорное кольцо
12. Корпус ТЖ
13. Стопорное кольцо

[левый]

1. Сборка БЖ
2. Стопорное кольцо BJ
3. Ремешок для обуви BJ
4. Сапоги для минета
5. Вал
6. Ремешок для ботинок TJ
7. Ботинок TJ
8. Паук в сборе
9. Привязка кольцо
10. Дело Т.Дж.
11. Стопорное кольцо

Процедуры ремонта
Удаление

На шарнир карданного вала необходимо нанести специальную смазку. Не заменить смазкой другого типа.

Башмак следует заменить на новый.

1.

Снимите передний приводной вал.

(См. Приводной вал и ось - «Передний карданный вал»)

2.

Снимите стопорное кольцо BJ (B) с корпуса TJ (A).

3.

Снимите оба хомута с корпуса TJ.

4.

Снимите стопорное кольцо TJ (A).

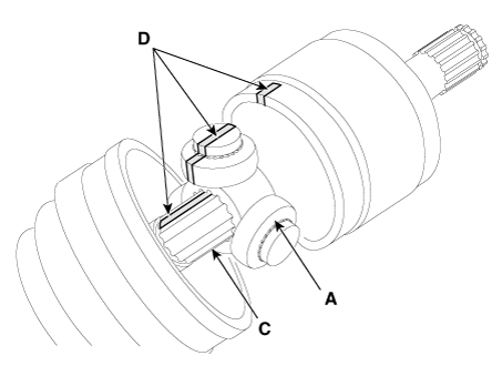
Нанесите установочные метки (D) на узел ролика крестовины (A), Корпус TJ (B) и шлицы вала (C) для облегчения повторной сборки.

5.

Снимите стопорное кольцо (А) и крестовину в сборе (В).

6.

Очистите крестовину в сборе.

7.

Снимите ботинок TJ (A).

Для повторного использования чехла (A) оберните лентой (B) приводной вал. шлицы (C) для защиты чехла (A).

осмотр
1.

Проверьте крестовину в сборе на вращение роликов, износ или коррозию.

2.

Проверьте канавку внутри корпуса шарнира на предмет износа или коррозии.

3.

Проверьте сапоги TJ на наличие повреждений и износа.

Монтаж
1.

Оберните ленту вокруг шлица приводного вала (TJ), чтобы не повредить чехол.

2.

Руководствуясь установочными метками (D), сделанными во время разборки, установите узел крестовины (A) и стопорное кольцо (B) на шлицах приводного вала (C).

3.

Добавьте указанную смазку в пыльник шарнира столько, сколько было стерто при осмотр.

4.

Установите оба загрузочных ремня.

5.

Чтобы контролировать воздух в ботинке TJ, соблюдайте указанное расстояние между резинки ботинок, когда они затянуты.

Двигатель
Расстояние (L) мм (дюймы)
левая сторона
Правая сторона
Бензин 1.2 (МТ)
550,3 (21,0866)
78409 (30.9409)
Бензин 1.4 (МТ/АТ)
534,5 (20,1771)
784,8 (30,4842)
Бензин 1.0 (6МТ)
551,5 (19,5590)
767,8 (31,0354)
Бензин 1.0 (5МТ)
559,4 (22,0236)
759,8 (29,9133)
Дизель 1.4 (7DCT)
472,4 (18,5984)
846,5 (33,3267)
Дизель 1.4 (6МТ)
519,3 (20,4448)
799,8 (31,4881)

6.

С помощью SST (09495-3K000) закрепите хомуты чехлов TJ.

Зазор (A): 2,0 мм (0,0787 дюйма) или менее

7.

Установите передний приводной вал.

(См. Приводной вал и ось - «Передний карданный вал»)

8.

Проверьте переднее выравнивание.

(См. Система подвески — «Выравнивание»)

Передний карданный вал
Компоненты и расположение компонентов Расположение компонентов 1. Приводной вал (левый) 2. Приводной вал (правый) [Правый] 1. Сборка БЖ 2. Кл...
Динамический демпфер
Компоненты и расположение компонентов Компоненты [Правый] 1. Сборка БЖ 2. Клип 3. Ремешок для обуви BJ 4. Сапоги для минета 5. Лента динамического демпфера 6. Динамика...
Дополнительная информация:

Руководство пользователя Kia Rio 2017-2023 YB: Режимы ЖК-дисплея (для кластера типа B)


(1) Режим бортового компьютера В этом режиме отображается информация о вождении, такая как счетчик пройденного пути, расход топлива и скоро. ❈ Подробную информацию см. в разделе «Путевой компьютер» в этой главе. (2) Режим пользовательских настроек В этом режиме вы можете изменить настройки дверей, ламп и так далее. (3) Главное предупреждение мо ...

Kia Rio 2017-2023 YB Руководство по ремонту: Замок переднего ремня безопасности


Компоненты и расположение компонентов Расположение компонента 1. Пряжка переднего ремня безопасности Процедуры ремонта Замена 1. Снимите переднее сиденье в сборе. (См. Переднее сиденье — «Переднее сиденье в сборе») 2 ...